TM4PDPS1 – Verdrahtungsplan

Verdrahtungsregeln

Siehe Best Practices für die Verdrahtung

SUB-D 9-Anschluss

Das TM4PDPS1-Modul ist mit einem PROFIBUS DP SUB-D 9-Anschluss ausgestattet:

G-SE-0031886.1.gif-high.gif

 

 

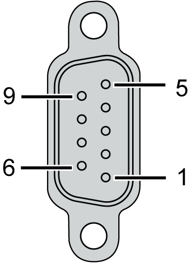
Pinbelegung

Die folgende Abbildung zeigt die PROFIBUS DP SUB-D 9-Anschlussstifte:

G-SE-0015142.1.gif-high.gif

 

 

Die folgende Abbildung beschreibt die Pinbelegung für den PROFIBUS DP SUB-D 9-Anschluss:

Pin-Nr.

PROFIBUS DP

Beschreibung

1

Reserviert

2

Reserviert

3

RxD/TxD-P

Daten senden/empfangen Hoch

4

CNTR-P

Senden aktivieren Hoch

5

DGND

Signalmasse

6

VP

Spannung 5 V (100 mA)

7

Reserviert

8

RxD/TxD-N

Daten senden/empfangen Niedrig

9

Reserviert

Regeln für die Verbindung mit der Funktionserde

Die nachstehende Tabelle enthält die Kenndaten der mit dem bereitgestellten FE-Kabel (Funktionserde) zu verwendenden Schraube:

G-SE-0031888.1.gif-high.gif

 

 

Ein Anzugsdrehmoment über dem Grenzwert kann die Klemmenschrauben oder Gewinde beschädigen.

HINWEIS

GERÄT NICHT BETRIEBSBEREIT

Ziehen Sie die Schraubklemmen nicht über das angegebene Anzugsmoment (Nm/lb-in.) an.

Die Nichtbeachtung dieser Anweisungen kann Sachschäden zur Folge haben.