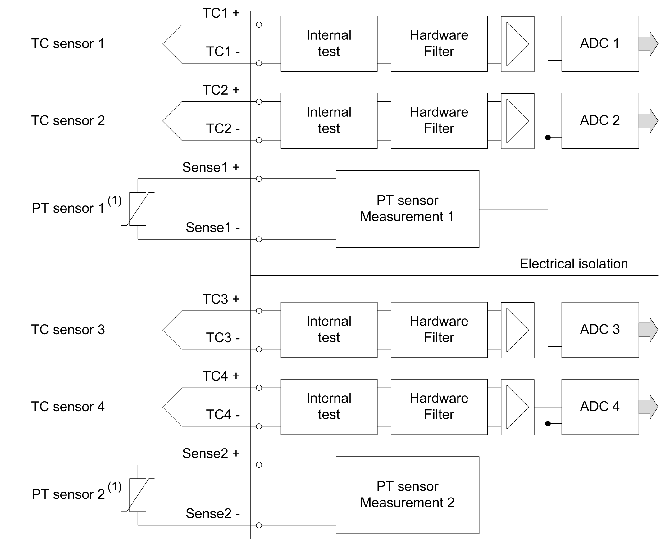
Input Circuit Diagram - TM5STI4ATCFS Safety Module 2x2AI Thermocouple

Overview

G-SE-0069092.1.gif-high.gif

 

(1)   Depending on the type of connection of the thermocouples either terminal block TM5ACTB5FFS or TM5ACTB5EFS must be used.