Principe du mode Mono-utilisation

 

Description du principe du mode One-shot

Présentation

Le compteur est activé par un front de synchronisation et la valeur de préréglage est chargée.

Lorsque le comptage est activé, chaque impulsion appliquée à l'entrée décrémente la valeur. Le compteur s'arrête lorsque sa valeur atteint 0.

Le compteur conserve la valeur 0 même si de nouvelles impulsions sont appliquées à l'entrée.

Une nouvelle synchronisation est requise pour réactiver le compteur.

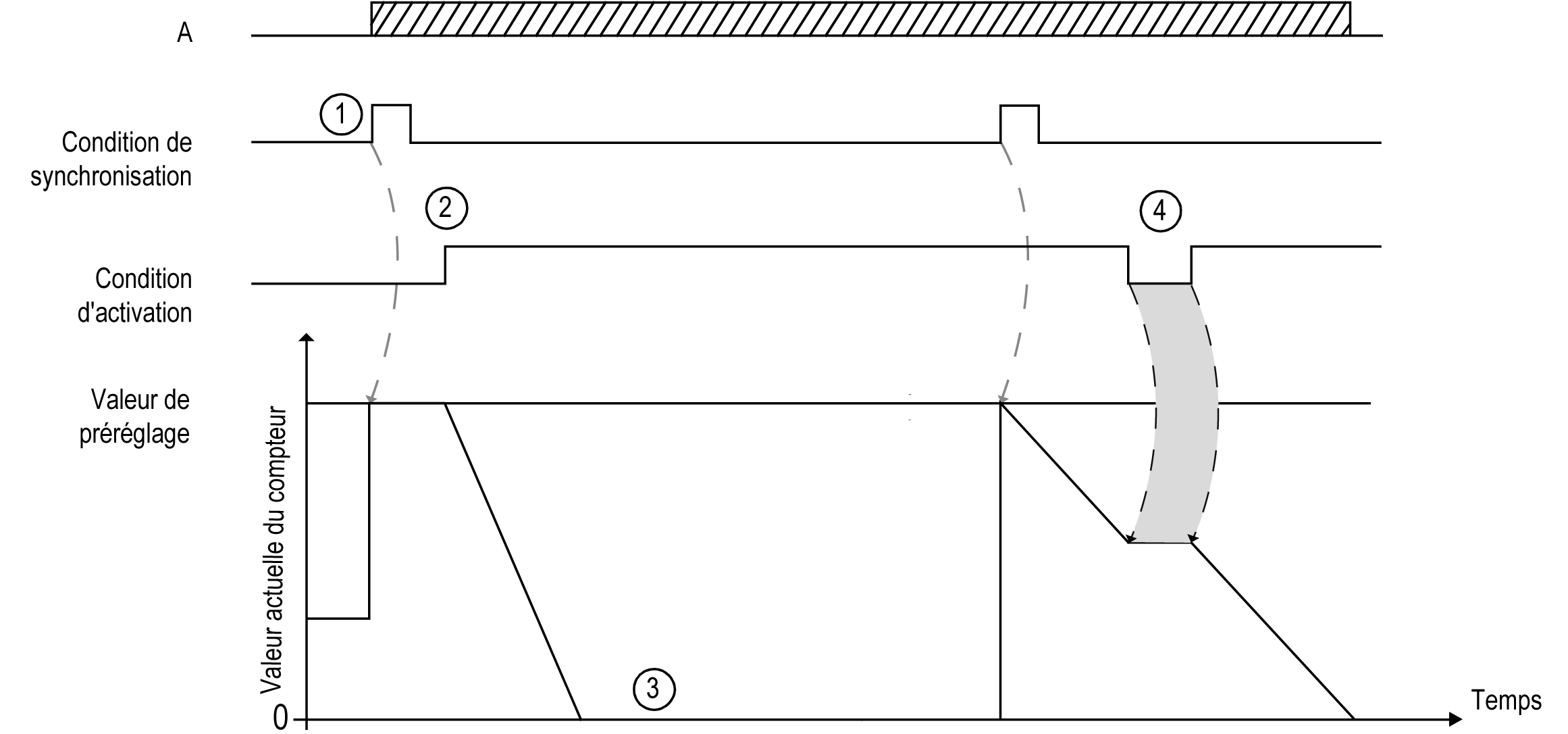
Schéma de principe

G-RU-0010128.4.gif-high.gif

 

 

Le tableau suivant décrit les étapes du graphique précédent :

Etape

Action

1

Sur le front montant de la condition Sync, la valeur de présélection est chargée dans le compteur (quelle que soit la valeur du compteur à ce moment-là) et le compteur est initialisé.

2

Si la condition Enable a pour valeur 1, la valeur de comptage diminue à chaque impulsion sur l'entrée A jusqu'à ce que le compteur atteigne 0.

3

Le compteur attend le front montant suivant de la condition Sync.

Remarque : à cette étape, les impulsions sur l'entrée A n'ont aucun effet sur le compteur.

4

Lorsque la condition Enable a pour valeur 0, le compteur ignore les impulsions provenant de l'entrée A et conserve sa valeur jusqu'à ce que la condition Enable passe à 1. Le compteur reprend le comptage des impulsions de l'entrée A sur le front montant de l'entrée Enable à partir de la valeur conservée.

NOTE : Les conditions Enable et Sync dépendent de la configuration. Elles sont décrites dans les fonctions Enable et Preset.