Schema per il cablaggio del TM4PDPS1

Regole di cablaggio

Vedere Miglior prassi per il cablaggio.

Connettore SUB-D 9

Il modulo TM4PDPS1 è dotato di 1 connettore PROFIBUS DP SUB-D 9:

G-SE-0031886.1.gif-high.gif

 

 

Assegnazione dei pin

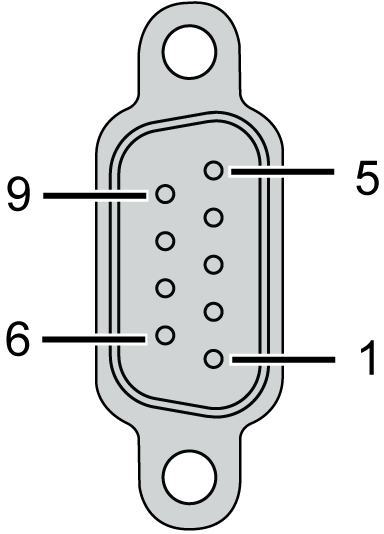
La seguente figura mostra i contatti del connettore PROFIBUS DP SUB-D 9:

G-SE-0015142.1.gif-high.gif

 

 

La seguente tabella descrive l'assegnazione dei contatti del connettore PROFIBUS DP SUB-D 9:

N° pin

PROFIBUS DP

Descrizione

1

Riservato

2

Riservato

3

RxD/TxD-P

Trasmissione/ricezione dati High

4

CNTR-P

Trasmissione/ricezione enable High

5

DGND

Terra segnale

6

VP

Tensione 5 V (100 mA)

7

Riservato

8

RxD/TxD-N

Trasmissione/ricezione dati Low

9

Riservato

Regole per il collegamento alla messa a terra funzionale

La seguente tabella mostra le caratteristiche della vite da utilizzare con il cavo di messa a terra funzionale (FE) fornito:

G-SE-0031888.1.gif-high.gif

 

 

Una coppia superiore al limite può danneggiare le filettature o le viti.

AVVISO

APPARECCHIATURA NON FUNZIONANTE

Non serrare i morsetti a vite oltre la coppia massima consentita (Nm / lb-in.).

Il mancato rispetto di queste istruzioni può provocare danni alle apparecchiature.