连接 DC 电源线

 

DangerElectrical_Color.gifDanger_Color.gif危险

电击、爆炸或电弧危险

o在安装或卸载各种附件、硬件或者电缆之前或移除系统的任何护盖或元器件前,请先断开电源。

o连接本产品的电源端子前断开电源。

o始终按照指示使用合适的额定电压传感器确认所有电源已关闭。

o装回并固定好系统的所有护盖或元件之后再给产品供电。

o操作本产品时,只使用指定的电压。本产品设计使用 12 到 24 Vdc 电源。在供电之前,务必检查您的装置是直接供电。

o由于本产品不带电源开关,请确保先连接一个电源开关后再将电源接入到产品。

o务必对本产品的 FG 端子接地。

如果不遵守这些说明,将会导致死亡或严重伤害。

注意:

oSG(信号接地)和 FG(功能接地)端子在产品内部进行连接。

o当连接好功能接地 (FG) 端子后,确保将电线接地。如果不接地,本产品将引起过大的电磁干扰。

DC 电源线准备

o确保地线在规格上与电源线相同或比电源线重。

o不要在电源线中使用铝线。

o为了防止终端短路,请使用带有隔离套的引脚终端。

o如果单根线的两端绞合不正确,则电线可能造成短路。

o导线类型为实心或绞合型。

o使用 75 °C (167 °F) 或更高额定值的铜线。

电源线直径

0.75...2.5 mm2 (18...13 AWG)*1

导体类型

实心或绞合线

导体长度

G-SE-0027275.2.gif-high.gif 

*1 为兼容 UL 标准,请使用 AWG 14 或 AWG 13。

DC 电源接头规格:弹簧夹型端子块

除 HMIDT35X外的型号配备直角电源接头,而 HMIDT35X配备直通型电源接头。

G-SE-0070126.1.gif-high.gif 

1 直通型:Schneider Electric 的 HMIZGPWS

2 直角型:Schneider Electric 的 HMIZGPWS2

注意: 您不能将直角型连接到 HMIDT35X。

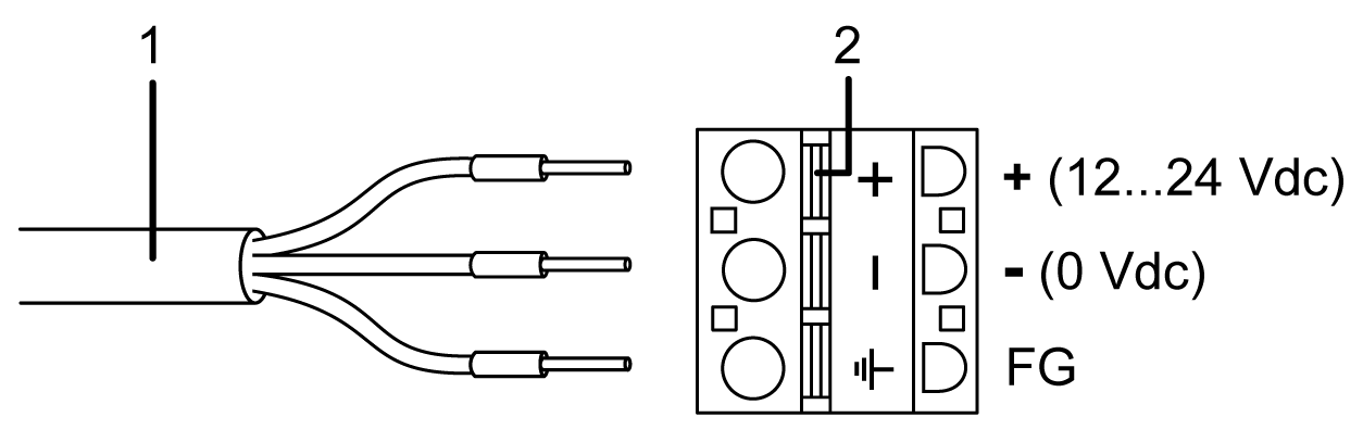
连接

导线

+

12...24 Vdc

-

0 Vdc

FG

连接到面板底座的接地端子。

如何连接 DC 电源线

步骤

操作

1

请确认电源线没有连接到电源上。

2

请确认额定电压并取下 DC 电源接头上的 “DC24V”标签。

3

连接从电源线到引脚端子的每条线。

4

请用一个小平头螺丝起子压住打开按键,以打开想要的引脚端口。

5

将每线电源线插入到对应的孔内。请松开打开按键将导线固定到位。

G-SE-0070127.1.gif-high.gif 

1 电源线

2 打开按钮

使用绞合线时,不要与邻近的电线短路。

6

插入全部三条电源线后,将 DC 电源接头插回本产品。

7

当使用Pro-face 的DC电源接头(带固定螺钉)时,使用槽头螺丝刀将螺钉固定在接头的两侧。需要 0.5 N•m(4.4 lb-in) 的力矩。

注意:

o请勿将导线直接焊接到电源接线端上。

o如果接线未正确插入 FG 端子上,则触摸可能会响应异常。