一次性模式原理

 

One-shot 模式原理介绍

概述

计数器由同步跳变沿激活,同时加载预设值。

启用计数时,每个应用到输入的脉冲都递减该值。计数器在其值达到 0 时停止。

即使新的脉冲应用到输入,计数器值仍然保持为 0。

要再次激活计数器,需要新的同步。

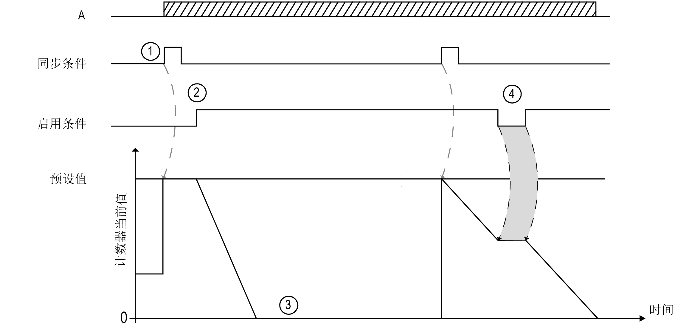
原理图

G-RU-0010128.4.gif-high.gif

 

 

下表介绍上图的各个阶段:

阶段

操作

1

在同步条件的上升沿,预设值加载到计数器中(无论当时计数器的值如何),而且计数器会进行初始化。

2

当启用条件 = 1 时,计数器值依据输入 A 上的各个脉冲递减,直至达到 0。

3

计数器等待同步条件的下一个上升沿出现。

注:此时,输入 A 上的脉冲对计数器不起作用。

4

当启用条件 = 0 时,计数器将忽略来自输入 A 的脉冲并保留其值,直到启用条件再次 = 1。计数器将从保留的值开始,在 Enable 输入的上升沿恢复对输入 A 的脉冲进行计数。

注意: 启用和同步条件取决于配置。启用预设功能中对这些条件进行了介绍。