TM4PDPS1 接线图

接线规则

请参阅接线最佳做法

SUB-D 9 连接器

TM4PDPS1 模块配备了 1 个 PROFIBUS DP SUB-D 9 连接器:

G-SE-0031886.1.gif-high.gif

 

 

引脚分配

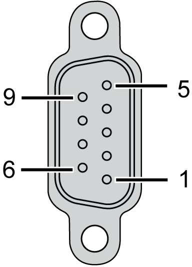
下图显示了 PROFIBUS DP SUB-D 9 连接器引脚:

G-SE-0015142.1.gif-high.gif

 

 

下表描述了 PROFIBUS DP SUB-D 9 连接器引脚分配:

引脚编号

PROFIBUS DP

描述

1

保留

2

保留

3

RxD/TxD-P

传输/接收数据:高

4

CNTR-P

传输启用 高

5

DGND

接地信号

6

VP

电压 5 V (100 mA)

7

保留

8

RxD/TxD-N

传输/接收数据:底

9

保留

功能性接地连接准则

下表显示了要用于所提供的功能性接地 (FE) 电缆的螺钉的特征:

G-SE-0031888.1.gif-high.gif

 

 

如果扭矩超过上述限制可能会损坏端子螺钉或螺纹。

注意

设备无法操作

请勿使用超过为此端子指定的最大扭矩(牛米/磅-英寸)来拧紧螺钉端子。

不遵循上述说明可能导致设备损坏。