Conexión a tierra del sistema

Introducción

Utilice cables blindados conectados correctamente a tierra para todas las salidas o entradas analógicas y de alta velocidad, así como para las conexiones de comunicación. Si no utiliza cable blindado para estas conexiones, las interferencias electromagnéticas pueden causar la degradación de la señal. Las señales degradadas pueden provocar que el controlador o los módulos y el equipo conectados a él funcionen de manera inesperada.

Warning_Color.gifADVERTENCIA

FUNCIONAMIENTO IMPREVISTO DEL EQUIPO

oUtilice cables blindados para todas las E/S rápidas, las E/S analógicas y las señales de comunicación.

oConecte a tierra el blindaje de los cables para todas las E/S analógicas, las E/S rápidas y las señales de comunicación en un único punto1.

oEnrute los cables de comunicación y de E/S por separado de los cables de alimentación.

El incumplimiento de estas instrucciones puede causar la muerte, lesiones serias o daño al equipo.

1La conexión a tierra multipunto se admite si las conexiones se efectúan con una placa de conexión a tierra equipotencial dimensionada para ayudar a evitar daños en el blindaje del cable en caso de corrientes de cortocircuito del sistema de alimentación.

El uso de cables blindados requiere el cumplimiento de las reglas de cableado siguientes:

oPara unas conexiones a tierra de protección (PE), se pueden utilizar conductos metálicos para toda la longitud del blindaje o una parte, siempre que no se interrumpa la continuidad de las conexiones a tierra. Para una conexión a tierra funcional (FE), el blindaje pretende atenuar las interferencias electromagnéticas y debe ser continuo en toda la longitud del cable. Si el objetivo es tanto funcional como de protección, como suele ser el caso de los cables de comunicación, el cable deberá disponer de un blindaje continuo.

oSiempre que sea posible, mantenga los cables que lleven un tipo de señal separados de los cables con otros tipos de señales o de alimentación.

La figura que hay a continuación representa un Sistema TM5 con cables blindados:

G-SE-0001964.2.gif-high.gif

 

1   Conexión a tierra de protección (PE)

2   Conexión a tierra funcional (FE).

La toma a tierra de protección (PE) de la placa posterior

La conexión a tierra de protección (PE) está conectada a la placa de conexiones conductora mediante un cable pesado, normalmente un cable trenzado de cobre con una sección transversal de 6 mm2 (AWG 10) o mayor.

Conexión a tierra funcional (FE) en el segmento DIN

El segmento DIN del Sistema TM5 es común en la conexión a tierra funcional (FE) y siempre debe montarse en una placa de conexiones conductora.

Warning_Color.gifADVERTENCIA

FUNCIONAMIENTO IMPREVISTO DEL EQUIPO

Conecte el segmento DIN a la toma de tierra funcional (FE) de la instalación.

El incumplimiento de estas instrucciones puede causar la muerte, lesiones serias o daño al equipo.

La conexión entre esta conexión a tierra funcional (FE) y el Sistema TM5 se realiza mediante los contactos del segmento DIN de la parte trasera del controlador y la base de bus de los módulos de ampliación.

Conexiones de cables blindados

Los cables que transportan las E/S rápidas, las E/S analógicas y las señales de comunicación del bus de campo y de red deben estar blindados. El blindaje debe estar conectado a tierra de un modo seguro. Los blindajes de E/S rápidas y E/S analógicas pueden estar conectados a la conexión a tierra funcional (FE) del sistema a través de la placa de conexión a tierra TM2XMTGB o de la tierra de protección (PE). Los blindajes del cable de comunicación del bus de campo deben estar conectados a la conexión a tierra de protección (PE) con bornes de conexión fijados en la placa de conexiones conductora de la instalación.

Danger_Color.gifPELIGRO

PELIGRO DE DESCARGA ELÉCTRICA

Asegúrese de que los cables CANopen y Modbus estén bien conectados a la conexión a tierra de protección (PE).

El incumplimiento de estas instrucciones podrá causar la muerte o lesiones serias.

Warning_Color.gifADVERTENCIA

DESCONEXIÓN ACCIDENTAL DE CONEXIÓN A TIERRA DE PROTECCIÓN (PE)

oNo utilice la placa de conexión a tierra TM2XMTGB para proporcionar una conexión a tierra de protección (PE).

oUtilice la placa de conexión a tierra TM2XMTGB solo para proporcionar una conexión a tierra funcional (FE).

El incumplimiento de estas instrucciones puede causar la muerte, lesiones serias o daño al equipo.

NOTA: La conexión a tierra funcional de la conexión Ethernet es interna.

El blindaje de los cables siguientes debe estar conectado a la conexión a tierra de protección (PE):

oCANopen

oModbus

Blindaje del cable de conexión a tierra funcional (FE)

Conecte el blindaje de un cable mediante una placa de conexión a tierra:

Paso

Descripción

1

Instale la placa de conexión a tierra directamente en la placa de conexiones conductora situada debajo del Sistema TM5, como se indica.

G-SE-0004795.2.gif-high.gif

 

 

2

Pele el blindaje en una longitud de 15 mm (0.59 in).

G-SE-0004794.1.gif-high.gif

 

 

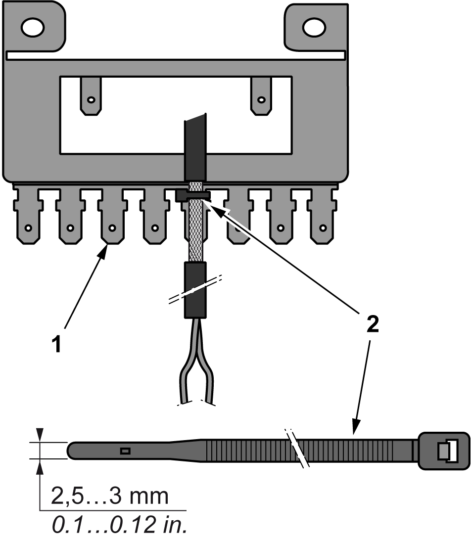
3

Fije firmemente el conector plano (1) utilizando la abrazadera de nylon (2)(ancho de 2,5-3 mm [0.1-0.12 in]) y una herramienta adecuada.

G-SE-0004796.2.gif-high.gif

 

 

Blindaje del cable a conexión a tierra de protección (PE)

Para conectar a tierra el blindaje de un cable mediante una abrazadera de conexión a tierra:

Paso

Descripción

1

Pele el blindaje en una longitud de 15 mm (0.59 in).

G-SE-0004794.1.gif-high.gif

 

 

2

Conecte el cable a la placa de conexiones conductora apretando la abrazadera de conexión a tierra con la parte pelada del blindaje tan cerca como pueda de la base del Sistema TM5.

G-SE-0003362.1.gif-high.gif

 

 

NOTA: El blindaje debe asegurarse bien a la placa de conexiones conductora para lograr un contacto correcto.