Identification et fonctions des pièces

 

Identification et fonctions des pièces

Identification des pièces du HMIGTO1300/1310

Face

HMIGTO1300/1310

Avant

G-SE-0016414.2.gif-high.gif

 

 

Arrière

G-SE-0016412.2.gif-high.gif

 

 

Dessous

G-SE-0016413.2.gif-high.gif

 

 

Pièce

Nom

Description

A

Voyant d'état

*1

B

Touches de fonction

Six touches (F1 à F6). Vous pouvez définir la fonction de chacune à l'aide de Vijeo Designer.

C

Interface USB (mini-B)

1 interface conforme USB 2.0 (mini-B). Distance de communication : 5 m max.

D

Interface USB (Type A)

1 interface conforme USB 2.0 (Type A). Tension d'alimentation : 5 VCC +/- 5 %. Courant de sortie : 500 mA max. Distance de communication : 5 m max.

E

Interface série (COM1)

HMIGTO1300 : interface série RS-232C. Connecteur : 1 fiche D-Sub 9 broches.

HMIGTO1310 : interface série RS-232C/485. (Le protocole de communication peut être changé depuis le logiciel.) Connecteur : prise modulaire (RJ45).

F

Interface Ethernet*2

Interface de transmission Ethernet (10BASE-T/100BASE-TX)

Connecteur : 1 prise modulaire (RJ45). Il n'y a pas d'interface Ethernet sur l'équipement HMIGTO1300.

G

Connecteur de la fiche d'alimentation

-

H

Interface série (COM2)

HMIGTO1300 : interface série RS-485. Connecteur : 1 prise modulaire (RJ45).

*1 Signification du voyant d'état :

Couleur

Indicateur

Description

Vert

Allumé

En fonctionnement

Orange

Clignotant

Logiciel en cours de démarrage

Rouge

Allumé

Sous tension

-

Eteint

Hors tension

*2 Signification des voyants Ethernet :

 

Couleur

Indicateur

Description

G-SE-0017203.1.gif-high.gif

 

 

Vert (Active)

Clignotant

Transmission de données en cours

Eteint

Aucune transmission de données

Vert (Link)

Allumé

Transmission de données en cours sur 10BASE-T/100BASE-TX

Eteint

Aucune connexion ou échec de transmission

Identification des pièces du HMIGTO2300/2310/2315

Face

HMIGTO2300 / HMIGTO2310

HMIGTO2315

Avant

G-SE-0016416.2.gif-high.gif

 

 

G-SE-0016420.3.gif-high.gif

 

 

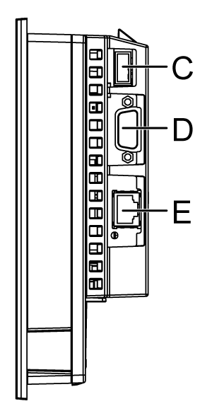
Droite

G-SE-0016418.2.gif-high.gif

 

 

G-SE-0016422.2.gif-high.gif

 

 

Arrière

G-SE-0016417.2.gif-high.gif

 

 

G-SE-0016421.2.gif-high.gif

 

 

Dessous

G-SE-0016415.2.gif-high.gif

 

 

G-SE-0016419.2.gif-high.gif

 

 

Pièce

Nom

Description

A

Voyant d'état

*1

B

Boîtier en acier inoxydable (304)

HMIGTO2315 uniquement.

C

Interface USB (Type A)

1 interface conforme USB 2.0 (Type A).

Tension d'alimentation : 5 VCC +/- 5 %.

Courant de sortie : 500 mA max.

Distance de communication : 5 m max.

D

Interface série (COM1)

Interface série RS-232C. Connecteur : 1 fiche D-Sub 9 broches.

E

Interface série (COM2)*2

Interface série RS-485. Connecteur : prise modulaire (RJ45).

F

Connecteur de la fiche d'alimentation

-

G

Voyant d'accès à la carte SD*3

Ce voyant s'allume lorsque la carte SD est insérée.

Pour plus d'informations, reportez-vous à la section Insertion/Retrait de la carte SD.

NOTE : Le voyant d'accès à la carte SD n'est pas disponible sur l'équipement HMIGTO2300.

H

Capot d'interface de la carte SD/Capot d'insertion de la batterie de rechange

Pour savoir comment ouvrir le capot et insérer ou retirer la carte SD, reportez-vous à la section Insertion/Retrait de la carte SD.

Pour savoir comment ouvrir le capot et remplacer la batterie, reportez-vous à la section Remplacement de la batterie primaire.

NOTE : Il n'y a pas de capot sur l'équipement HMIGTO2300.

I

Interface USB (mini-B)

1 interface conforme USB 2.0 (mini-B).

Distance de communication : 5 m max.

J

Interface Ethernet*4

Interface de transmission Ethernet (10BASE-T/100BASE-TX)

Connecteur : 1 prise modulaire (RJ45).

NOTE : Il n'y a pas d'interface Ethernet sur l'équipement HMIGTO2300.

*1 Signification du voyant d'état :

Couleur

Indicateur

Description

Vert

Allumé

En fonctionnement

Orange

Clignotant

Logiciel en cours de démarrage

Rouge

Allumé

Sous tension

-

Eteint

Hors tension

*2 Signification du voyant COM2 :

Couleur

Indicateur

Description

Jaune

Allumé

Communication (envoi ou réception de données) en cours

Eteint

Aucune communication

*3 Signification du voyant d'accès à la carte SD :

Couleur

Indicateur

Description

Vert (Active)

Allumé

Carte SD insérée

Eteint

La carte SD n'est pas insérée ou aucun équipement n'y accède.

*4 Signification des voyants Ethernet :

 

Couleur

Indicateur

Description

G-SE-0017203.1.gif-high.gif

 

 

Vert (Active)

Clignotant

Transmission de données en cours

Eteint

Aucune transmission de données

Vert (Link)

Allumé

Transmission de données en cours sur 10BASE-T/100BASE-TX

Eteint

Aucune connexion ou échec de transmission

Identification des pièces du HMIGTO3510/4310

Face

HMIGTO3510/4310

Avant

G-SE-0016425.2.gif-high.gif

 

 

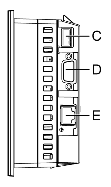
Droite

G-SE-0016423.2.gif-high.gif

 

 

Arrière

G-SE-0016426.2.gif-high.gif

 

 

Dessous

G-SE-0016424.2.gif-high.gif

 

 

Pièce

Nom

Description

A

Voyant d'état

*1

B

Touches de fonction

Huit touches (F1 à F8). Vous pouvez définir la fonction de chacune à l'aide de Vijeo Designer.

C

Interface USB (Type A)

1 interface conforme USB 2.0 (Type A). Tension d'alimentation : 5 VCC +/- 5 %. Courant de sortie : 500 mA max. Distance de communication : 5 m max.

D

Interface série (COM1)

Interface série RS-232C. Connecteur : 1 fiche D-Sub 9 broches.

E

Interface série (COM2)*2

Interface série RS-485. Connecteur : 1 prise modulaire (RJ45).

F

Connecteur de la fiche d'alimentation

-

G

Voyant d'accès à la carte SD*3

Ce voyant s'allume lorsque la carte SD est insérée.

Pour plus d'informations, reportez-vous à la section Insertion/Retrait de la carte SD.

H

Capot d'interface de la carte SD/Capot d'insertion de la batterie de rechange

Pour savoir comment ouvrir le capot et insérer ou retirer la carte SD, reportez-vous à la section Insertion/Retrait de la carte SD.

Pour savoir comment ouvrir le capot et remplacer la batterie, reportez-vous à la section Remplacement de la batterie primaire.

I

Interface USB (mini-B)

1 interface conforme USB 2.0 (mini-B). Distance de communication : 5 m max.

J

Interface Ethernet*4

Interface de transmission Ethernet (10BASE-T/100BASE-TX)

Connecteur : 1 prise modulaire (RJ45).

*1 Signification du voyant d'état :

Couleur

Indicateur

Description

Vert

Allumé

En fonctionnement

Orange

Clignotant

Logiciel en cours de démarrage

Rouge

Allumé

Sous tension

-

Eteint

Hors tension

*2 Signification du voyant COM2 :

Couleur

Indicateur

Description

Jaune

Allumé

Communication (envoi ou réception de données) en cours

Eteint

Aucune communication

*3 Signification du voyant d'accès à la carte SD :

Couleur

Indicateur

Description

Vert (Active)

Allumé

Carte SD insérée

Eteint

La carte SD n'est pas insérée ou aucun équipement n'y accède.

*4 Signification des voyants Ethernet :

 

Couleur

Indicateur

Description

G-SE-0017203.1.gif-high.gif

 

 

Vert (Active)

Clignotant

Transmission de données en cours

Eteint

Aucune transmission de données

Vert (Link)

Allumé

Transmission de données en cours sur 10BASE-T/100BASE-TX

Eteint

Aucune connexion ou échec de transmission

Identification des pièces du HMIGTO5310/5315

Face

HMIGTO5310

HMIGTO5315

Avant

G-SE-0016429.2.gif-high.gif

 

 

G-SE-0016432.2.gif-high.gif

 

 

Arrière

G-SE-0016430.3.gif-high.gif

 

 

G-SE-0016427.2.gif-high.gif

 

 

Dessous

G-SE-0016428.2.gif-high.gif

 

 

G-SE-0016431.2.gif-high.gif

 

 

Pièce

Nom

Description

A

Voyant d'état

*1

B

Boîtier en acier inoxydable (304)

HMIGTO5315 uniquement.

C

Connecteur de la fiche d'alimentation (modèle CC)

-

D

Voyant d'accès à la carte SD*2

Ce voyant s'allume lorsque la carte SD est insérée.

NOTE : Ne retirez ou n'insérez pas la carte SD lorsque le voyant est allumé. Les données qui y sont stockées pourraient être endommagées.

E

Interface Ethernet*3

Interface de transmission Ethernet (10BASE-T/100BASE-TX)

Connecteur : 1 prise modulaire (RJ45).

F

Interface USB (mini-B)

1 interface conforme USB 2.0 (mini-B).

Distance de communication : 5 m max.

G

Capot d'interface de la carte SD/Capot d'insertion de la batterie de rechange

Pour savoir comment ouvrir le capot et insérer ou retirer la carte SD, reportez-vous à la section Insertion/Retrait de la carte SD.

Pour savoir comment ouvrir le capot et remplacer la batterie, reportez-vous à la section Remplacement de la batterie primaire.

H

Interface série (COM2)*4

Interface série RS-485.

Connecteur : prise modulaire (RJ45).

I

Interface série (COM1)

Interface série RS-232C.

Connecteur : 1 fiche D-Sub 9 broches.

J

Interface USB (Type A)

1 interface conforme USB 2.0 (Type A). Tension d'alimentation : 5 VCC +/- 5 %. Courant de sortie : 500 mA max. Distance de communication : 5 m max.

*1 Signification du voyant d'état :

Couleur

Indicateur

Description

Vert

Allumé

En fonctionnement

Orange

Clignotant

Logiciel en cours de démarrage

Rouge

Allumé

Sous tension

-

Eteint

Hors tension

*2 Signification du voyant d'accès à la carte SD :

Couleur

Indicateur

Description

Vert (Active)

Allumé

Carte SD insérée

Eteint

La carte SD n'est pas insérée ou aucun équipement n'y accède.

*3 Signification des voyants Ethernet :

 

Couleur

Indicateur

Description

G-SE-0017203.1.gif-high.gif

 

 

Vert (Active)

Clignotant

Transmission de données en cours

Eteint

Aucune transmission de données

Vert (Link)

Allumé

Transmission de données en cours sur 10BASE-T/100BASE-TX

Eteint

Aucune connexion ou échec de transmission

*4 Signification du voyant COM2 :

Couleur

Indicateur

Description

Jaune

Allumé

Communication (envoi ou réception de données) en cours

Eteint

Aucune communication

Identification des pièces du HMIGTO6310/6315

Face

HMIGTO6310

HMIGTO6315

Avant

G-SE-0016435.2.gif-high.gif

 

 

G-SE-0016438.2.gif-high.gif

 

 

Arrière

G-SE-0016436.2.gif-high.gif

 

 

G-SE-0016433.2.gif-high.gif

 

 

Dessous

G-SE-0016434.2.gif-high.gif

 

 

G-SE-0016437.2.gif-high.gif

 

 

Pièce

Nom

Description

A

Voyant d'état

*1

B

Boîtier en acier inoxydable (304)

HMIGTO6315 uniquement.

C

Connecteur de la fiche d'alimentation (modèle CC)

-

D

Voyant d'accès à la carte SD*2

Ce voyant s'allume lorsque la carte SD est insérée.

NOTE : Ne retirez ou n'insérez pas la carte SD lorsque le voyant est allumé. Les données qui y sont stockées pourraient être endommagées.

E

Interface Ethernet*3

Interface de transmission Ethernet (10BASE-T/100BASE-TX)

Connecteur : 1 prise modulaire (RJ45).

F

Interface USB (mini-B)

1 interface conforme USB 2.0 (mini-B).

Distance de communication : 5 m max.

G

Capot d'interface de la carte SD/Capot d'insertion de la batterie de rechange

Pour savoir comment ouvrir le capot et insérer ou retirer la carte SD, reportez-vous à la section Insertion/Retrait de la carte SD.

Pour savoir comment ouvrir le capot et remplacer la batterie, reportez-vous à la section Remplacement de la batterie primaire.

H

Interface série (COM2)*4

Interface série RS-485. Connecteur : prise modulaire (RJ45).

I

Interface série (COM1)

Interface série RS-232C. Connecteur : 1 fiche D-Sub 9 broches.

J

Interface USB (Type A)

1 interface conforme USB 2.0 (Type A).

Tension d'alimentation : 5 VCC +/- 5 %.

Courant de sortie : 500 mA max.

Distance de communication : 5 m max.

*1 Signification du voyant d'état :

Couleur

Indicateur

Description

Vert

Allumé

En fonctionnement

Orange

Clignotant

Logiciel en cours de démarrage

Rouge

Allumé

Sous tension

-

Eteint

Hors tension

*2 Signification du voyant d'accès à la carte SD :

Couleur

Indicateur

Description

Vert (Active)

Allumé

Carte SD insérée

Eteint

La carte SD n'est pas insérée ou aucun équipement n'y accède.

*3 Signification des voyants Ethernet :

 

Couleur

Indicateur

Description

G-SE-0017203.1.gif-high.gif

 

 

Vert (Active)

Clignotant

Transmission de données en cours

Eteint

Aucune transmission de données

Vert (Link)

Allumé

Transmission de données en cours sur 10BASE-T/100BASE-TX

Eteint

Aucune connexion ou échec de transmission

*4 Signification du voyant COM2 :

Couleur

Indicateur

Description

Jaune

Allumé

Communication (envoi ou réception de données) en cours

Eteint

Aucune communication