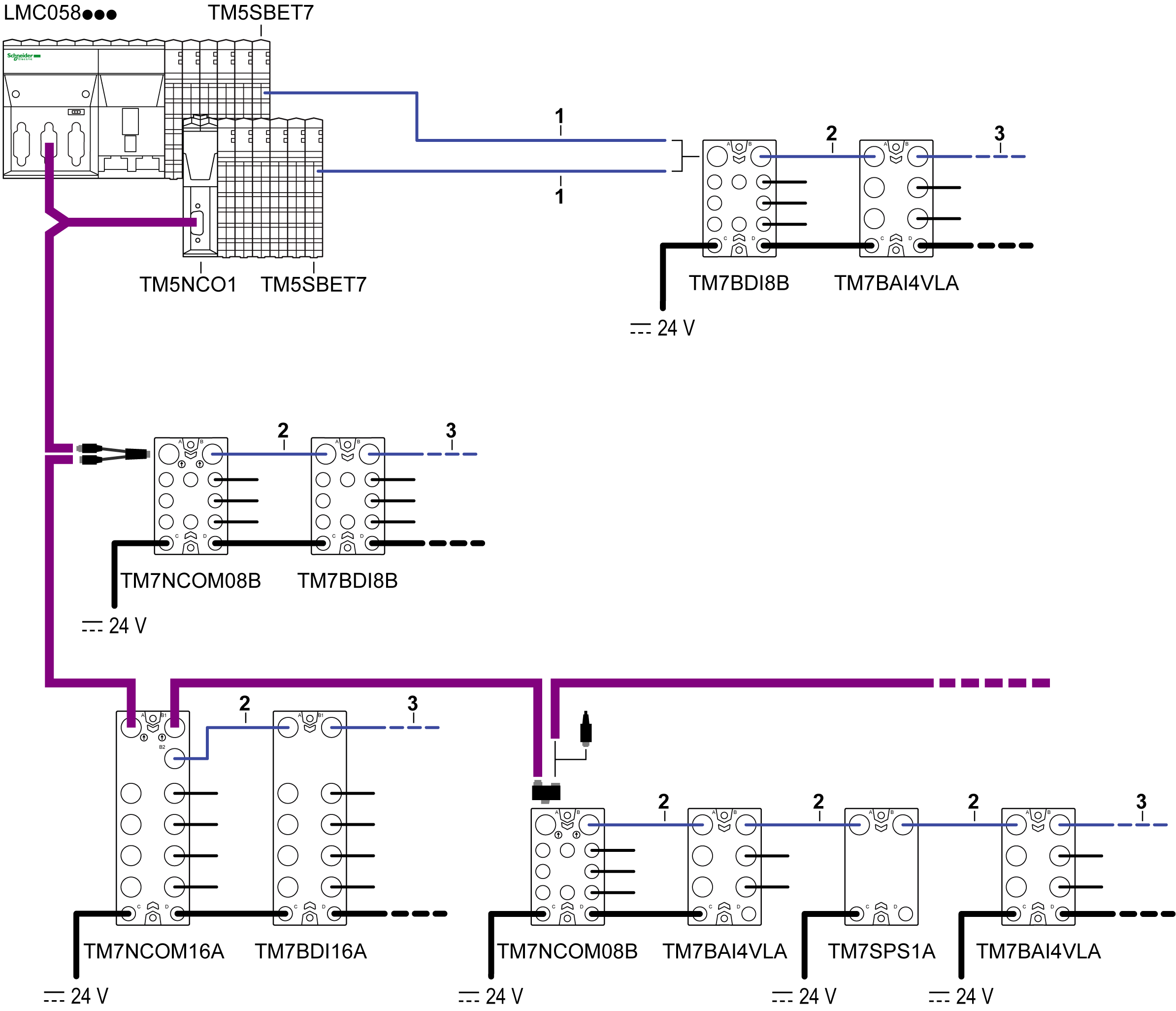
La figure suivante présente les câbles de bus d'extension utilisés dans les configurations TM5/TM7 :
1 Câble IN de raccordement : pour connecter un bloc d'E/S TM7 après une configuration TM5 à l'aide d'un module émetteur TM5SBET7.
2 Câble de dérivation : pour créer un bus d'extension TM7 entre les blocs d'extension TM7.
3 Câble OUT de raccordement : pour connecter un îlot distant TM5 après un bloc d'E/S TM7 à l'aide d'un module récepteur TM5SBER2.
|
Longueur |
Brève description, référence |
|||||
|---|---|---|---|---|---|---|
|
Câble de dérivation |
Câble IN de raccordement |
Câble OUT de raccordement |
||||
|
0,3 m |
TCSXCN2M2F03E |
TCSXCN1M1F03E |
– |
– |
– |
– |
|
1 m |
TCSXCN2M2F1E |
TCSXCN1M1F1E |
TCSXCN2FNX1E |
TCSXCN1FNX1E |
TCSXCN2MNX1E |
TCSXCN1MNX1E |
|
2 m |
TCSXCN2M2F2E |
TCSXCN1M1F2E |
– |
– |
– |
– |
|
3 m |
– |
– |
TCSXCN2FNX3E |
TCSXCN1FNX3E |
TCSXCN2MNX3E |
TCSXCN1MNX3E |
|
5 m |
TCSXCN2M2F5E |
TCSXCN1M1F5E |
– |
– |
– |
– |
|
10 m |
TCSXCN2M2F10E |
TCSXCN1M1F10E |
TCSXCN2FNX10E |
TCSXCN1FNX10E |
TCSXCN2MNX10E |
TCSXCN1MNX10E |
|
15 m |
TCSXCN2M2F15E |
TCSXCN1M1F15E |
– |
– |
– |
– |
|
25 m |
– |
– |
TCSXCN2FNX25E |
TCSXCN1FNX25E |
TCSXCN2MNX25E |
TCSXCN1MNX25E |
|
Dimensions et brochage |
|
|
|
|
|
|
Le tableau ci-après décrit les caractéristiques des paires de fils individuels du câble :
|
Fil |
Caractéristiques |
Valeur |
|---|---|---|
|
Paire de puissance |
Section du conducteur (calibre) |
0,34 mm2 (AWG 22) |
|
Isolation matérielle |
Polyoléfine |
|
|
Diamètre du noyau isolation comprise |
1,40 mm ± 0,05 mm |
|
|
Résistance électrique (à 20 °C) |
≤ 0,052 Ω/m |
|
|
Résistance d’isolement (à 20 °C) |
≥ 100 ΜΩ*km |
|
|
Tension nominale |
300 V |
|
|
Conducteur de tension de test |
2 000 VCC x 1 s |
|
|
Paire de données |
Section du conducteur (calibre) |
0.2 mm2 (AWG 24) |
|
Isolation matérielle |
PE mousse |
|
|
Diamètre du noyau isolation comprise |
2,05 mm ± 0,1 mm |
|
|
Résistance électrique (à 20 °C) |
≤ 0,078 Ω/m |
|
|
Résistance d’isolement (à 20 °C) |
≥ 5 000 ΜΩ*km |
|
|
Impédance caractéristique (à 5 MHz) |
120 Ω |
|
|
Tension nominale |
30 V |
|
|
Conducteur de tension de test |
1 500 VCC x 1 s |
Le tableau ci-dessous décrit les caractéristiques générales du câble :
|
Caractéristiques |
Spécifications |
|
|---|---|---|
|
Type de câble |
Polyuréthane spécial blindé noir |
|
|
Matériel conducteur |
Cuivre étamé multibrin |
|
|
Blindage |
Couche de cuivre étamé et fil de continuité |
|
|
Diamètre de câble externe |
6,7 mm ± 0,3 mm |
|
|
Rayon de courbure minimum |
67 mm |
|
|
Résistance à l'arrachement maximum |
Application statique |
50 N/mm2 (2) |
|
Application dynamique |
20 N/mm2 (2) |
|
|
Couleurs des fils |
Paire de puissance |
Rouge, noir |
|
Paire de données |
Bleu, blanc |
|
|
Gaine externe, couleur |
RAL 7021 noir-gris |
|
|
Poids du câble |
54,8 kg/km |
|
|
Nombre de cycles de courbure |
4 millions |
|
|
Chemin transversal |
10 m |
|
|
Chemin transversal |
3 m/s |
|
|
Accélération |
10 m/s2 (2) |
|
|
Couple de serrage M12 |
0,4 Nm maximum |
|
Le tableau ci-dessous décrit les caractéristiques environnementales du câble :
|
Caractéristiques |
Spécifications |
|---|---|
|
Température de fonctionnement |
-20 à 75 °C |
|
Température de stockage |
–40 à 80 °C |
|
Propriétés spéciales |
Possibilité de conduite de câble flexible |
|
Sans silicone |
|
|
Sans halogène |
Conforme DIN VDE 0472 partie 815 |
|
WEEE/RoHS |
Conforme |
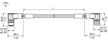
Dimensions et brochage du TCSXCN2M2F••E
|
Dimensions |
||||
|---|---|---|---|---|
|
||||
|
L longueur en tant que fonction de la référence |
|
Brochage |
||||
|---|---|---|---|---|
|
Connecteur mâle |
Broche |
Désignation |
Couleur des fils |
Connecteur femelle |
|
1 |
TM7 V+ |
Rouge |
|
|
2 |
Données du bus TM7 |
Blanc |
||
|
3 |
TM7 OV |
Noir |
||
|
4 |
Données du bus TM7 |
Bleu |
||
|
M12(1) |
SHLD |
Blindage |
||
|
(1) Blindage 360 ° autour de vis moletées M12. |
||||
Dimensions et brochage du TCSXCN1M1F••E
|
Dimensions |
||||
|---|---|---|---|---|
|
||||
|
(L) longueur en tant que fonction de la référence |
|
Brochage |
||||
|---|---|---|---|---|
|
Connecteur mâle |
Broche |
Désignation |
Couleur des fils |
Connecteur femelle |
|
1 |
TM7 V+ |
Rouge |
|
|
2 |
Données du bus TM7 |
Blanc |
||
|
3 |
TM7 OV |
Noir |
||
|
4 |
Données du bus TM7 |
Bleu |
||
|
M12(1) |
SHLD |
Blindage |
||
|
(1) Blindage 360 ° autour de vis moletées M12. |
||||
Dimensions et brochage du TCSXCN2FNX••E
|
Dimensions |
||||
|---|---|---|---|---|
|
||||
|
(L) longueur en tant que fonction de la référence |
|
Brochage |
||||
|---|---|---|---|---|
|
Connecteur femelle |
Broche |
Désignation |
Couleur des fils |
Ouvert |
|
1 |
TM7 V+ |
Rouge |
Pour le câblage personnalisé |
|
2 |
Données du bus TM7 |
Blanc |
||
|
3 |
TM7 OV |
Noir |
||
|
4 |
Données du bus TM7 |
Bleu |
||
|
M12(1) |
SHLD |
Blindage |
||
|
(1) Blindage 360 ° autour de vis moletées M12. |
||||
Dimensions et brochage du TCSXCN1FNX••E
|
Dimensions |
||||
|---|---|---|---|---|
|
||||
|
(L) longueur en tant que fonction de la référence |
|
Brochage |
||||
|---|---|---|---|---|
|
Connecteur femelle |
Broche |
Désignation |
Couleur des fils |
Ouvert |
|
1 |
TM7 V+ |
Rouge |
Pour le câblage personnalisé |
|
2 |
Données du bus TM7 |
Blanc |
||
|
3 |
TM7 OV |
Noir |
||
|
4 |
Données du bus TM7 |
Bleu |
||
|
M12(1) |
SHLD |
Blindage |
||
|
(1) Blindage 360 ° autour de vis moletées M12. |
||||
Dimensions et brochage du TCSXCN2MNX••E
|
Dimensions |
||||
|---|---|---|---|---|
|
||||
|
(L) longueur en tant que fonction de la référence |
|
Brochage |
||||
|---|---|---|---|---|
|
Connecteur mâle |
Broche |
Désignation |
Couleur des fils |
Ouvert |
|
1 |
TM7 V+ |
Rouge |
Pour le câblage personnalisé |
|
2 |
Données du bus TM7 |
Blanc |
||
|
3 |
TM7 OV |
Noir |
||
|
4 |
Données du bus TM7 |
Bleu |
||
|
M12(1) |
SHLD |
Blindage |
||
|
(1) Blindage 360 ° autour de vis moletées M12. |
||||
Dimensions et brochage du TCSXCN1MNX••E
|
Dimensions |
||||
|---|---|---|---|---|
|
||||
|
(L) longueur en tant que fonction de la référence |
|
Brochage |
||||
|---|---|---|---|---|
|
Connecteur mâle |
Broche |
Désignation |
Couleur des fils |
Ouvert |
|
1 |
TM7 V+ |
Rouge |
Pour le câblage personnalisé |
|
2 |
Données du bus TM7 |
Blanc |
||
|
3 |
TM7 OV |
Noir |
||
|
4 |
Données du bus TM7 |
Bleu |
||
|
M12(1) |
SHLD |
Blindage |
||
|
(1) Blindage 360 ° autour de vis moletées M12. |
||||