安装位置

简介

本节介绍 TM5 EtherNet/IP Fieldbus Interface 的正确安装位置。

注意: 为保持适当的通风并维持环境温度,请按照环境特性中所述保留足够的间距。

正确安装位置

TM5 EtherNet/IP Fieldbus Interface 应尽可能水平安装在垂直面上,如下图所示:

G-SE-0076381.1.gif-high.gif

 

 

可接受的安装位置

如可行,也可以使用温度降额将 TM5 EtherNet/IP Fieldbus Interface 垂直安装在垂直面上,如下图所示。

G-SE-0076382.1.gif-high.gif

 

 

不正确的安装位置

下图显示的是不正确的安装位置:

G-SE-0076383.1.gif-high.gif

 

 

G-SE-0075335.1.gif-high.gif

 

 

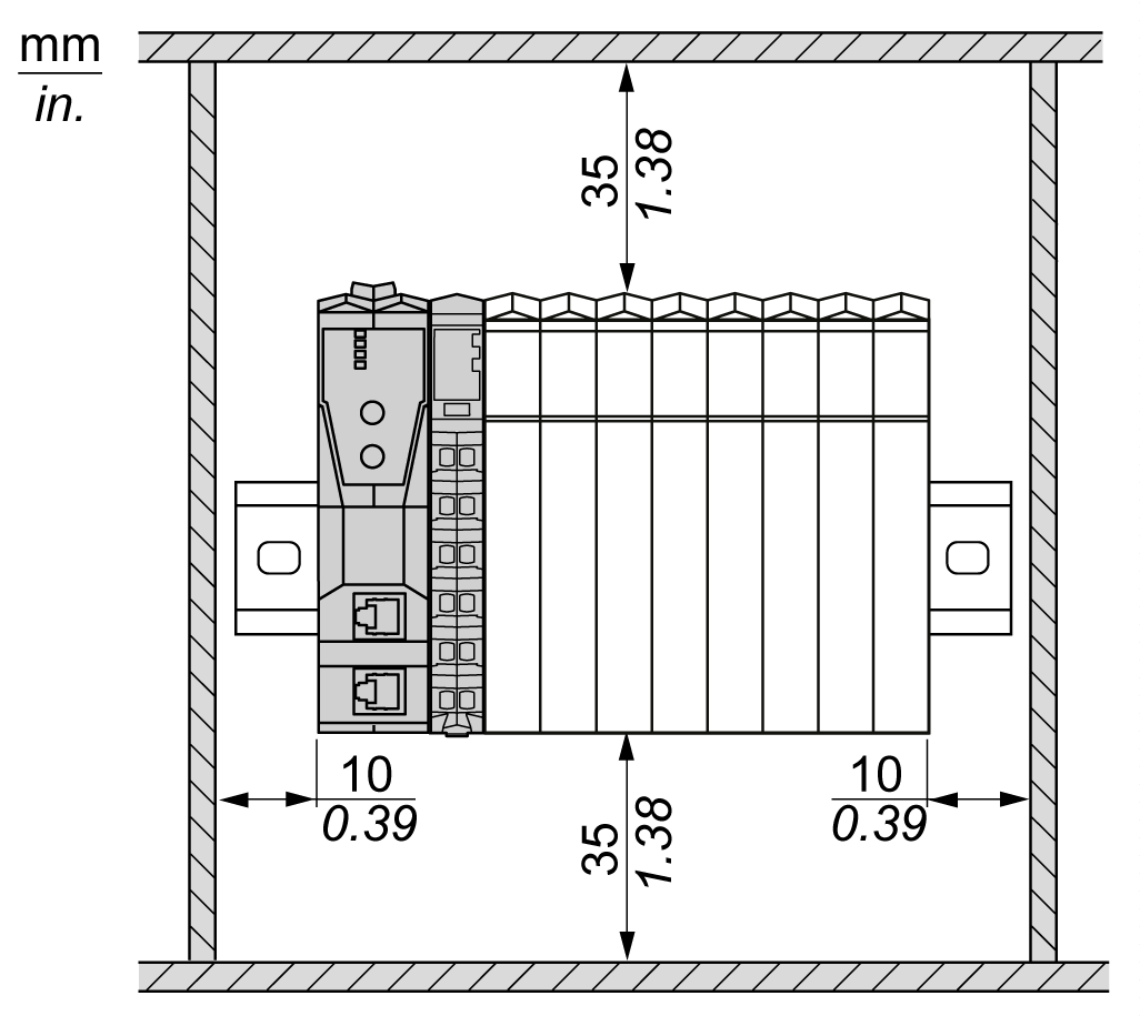
安装机柜

推荐的机柜安装间隙见下图:

G-SE-0075333.1.gif-high.gif

 

 

G-SE-0075334.1.gif-high.gif