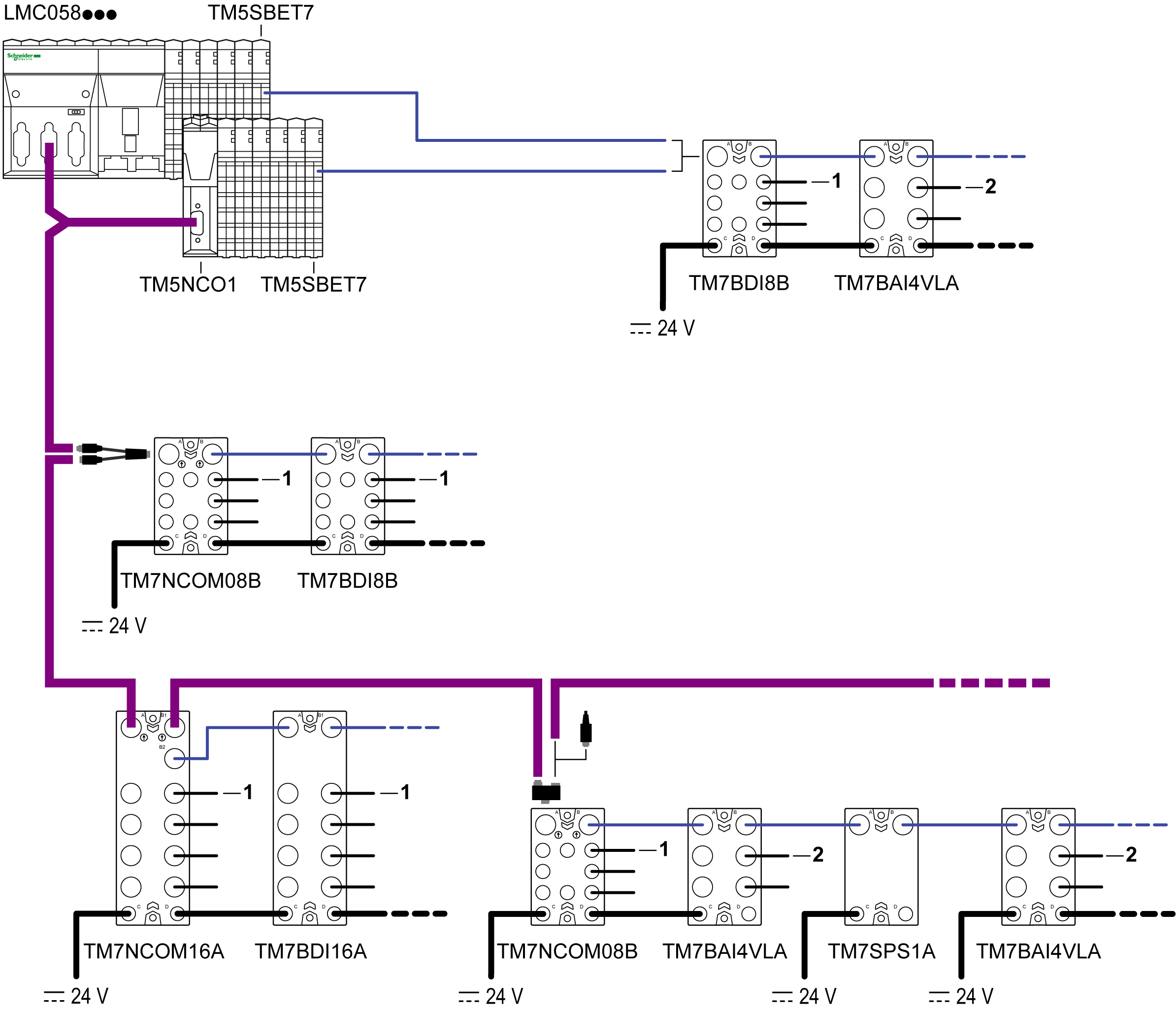
Les câbles des capteurs sont utilisés pour :
oConnecter les capteurs aux entrées analogiques des blocs d'E/S TM7
oConnecter les actuateurs aux sorties analogiques des blocs d'E/S TM7
oConnecter les signaux numériques rapides aux entrées ou sorties rapides des blocs d'E/S TM7
La figure suivante présente les câbles de capteurs utilisés dans les configurations TM5/TM7 :
1 Le câble de capteur du bloc d'E/S de l'interface du bus de terrain TM7 et du bloc d'E/S numérique TM7
2 Câble de capteur du bloc d'E/S analogique
|
Longueur |
Brève description, référence |
|||
|---|---|---|---|---|
|
Câble M12 pour les E/S analogiques |
Câble M12 pour les E/S numériques |
Câble M8 pour les E/S numériques |
||
|
0,5 m (1,6 pi) |
– |
– |
XZ CP1564L05 |
XZ CP2737L05 |
|
1 m (3,3 pi) |
– |
– |
XZ CP1564L1 |
XZ CP2737L1 |
|
2 m (6,6 pi) |
TCSXCN2M2SA |
TCSXCN1M2SA |
XZ CP1564L2 |
XZ CP2737L2 |
|
5 m (16,4 pi) |
TCSXCN2M5SA |
TCSXCN1M5SA |
– |
– |
|
15 m (49,2 pi) |
TCSXCN2M15SA |
TCSXCN1M15SA |
– |
– |
|
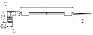
Dimensions et brochage |
|
|
|
|
Caractéristiques des câbles TCSXCN2M••SA et TCSXCN1M••SA
Le tableau ci-après décrit les caractéristiques des fils individuels du câble :
|
Caractéristiques |
Spécifications |
|---|---|
|
Section du conducteur (calibre) |
0,34 mm2 (AWG 22) |
|
Isolation matérielle |
Polypropylène (PP) |
|
Matériau de remplissage |
Polyéthylène (PE) |
|
Diamètre du noyau isolation comprise |
1,27 mm (0,05 po.) ± 0,02 mm (0,0008 po.) |
|
Résistance électrique (à 20 °C) |
≤ 0,058 Ω/m |
|
Résistance d’isolement (à 20 °C) |
≥ 100 GΩ*km |
|
Tension nominale |
300 V |
|
Conducteur de tension de test |
3 000 VCC x 1 s |
Le tableau ci-dessous décrit les caractéristiques générales du câble :
|
Caractéristiques |
Spécifications |
|
|---|---|---|
|
Type de câble |
Polyuréthane spécial blindé noir |
|
|
Matériel conducteur |
Fils de Litz cuivre nus |
|
|
Blindage |
Fils en cuivre tressés |
|
|
Diamètre de câble externe |
5,9 mm (0,23 po.) |
|
|
Rayon de courbure minimum |
59 mm (2,32 po.) |
|
|
Couleurs des fils |
Marron, blanc, bleu, noir, gris |
|
|
Gaine externe, couleur |
RAL 7021 noir-gris |
|
|
Poids du câble |
48 kg/km |
|
|
Nombre de cycles de courbure |
4 millions |
|
|
Chemin transversal |
10 m (32,8 pi.) |
|
|
Chemin transversal |
3 m/s |
|
|
Accélération |
10 m/s2 (32,8 pi./s2) |
|
|
Couple de serrage M12 |
0,4 Nm maximum |
|
Le tableau ci-dessous présente les principales caractéristiques environnementales du câble :
|
Caractéristiques |
Spécifications |
|---|---|
|
Température de fonctionnement |
–5 à 80 °C |
|
Température de stockage |
–40 à 80 °C |
|
Propriétés spéciales |
Possibilité de conduite de câble flexible |
|
Sans silicone |
|
|
Sans substances susceptibles d'empêcher un revêtement avec de la peinture ou du vernis |
|
|
Résistance à la flamme |
Conforme UL-Style 20549 |
|
Sans halogène |
Conforme DIN VDE 0472 partie 815 |
|
Résistance à l'huile |
Conforme DIN EN 60811-2-1 |
|
Autre résistance |
Résistant aux acides, aux solutions alcalines et aux solvants |
|
Résistant à l'hydrolyse et aux microbes |
|
|
WEEE/RoHS |
Conforme |
Caractéristiques du câble XZ CP1564L••
Le tableau ci-après décrit les caractéristiques des fils individuels du câble :
|
Caractéristiques |
Spécifications |
|---|---|
|
Section du conducteur (calibre) |
4 x 0,34 mm1 (AWG 22) et 1 x 0,5 mm2 (AWG 20) |
|
Isolation matérielle |
PVC |
|
Résistance d’isolement (à 20 °C) |
> 1 GΩ |
|
Intensité nominale |
4 A |
|
Tension nominale |
30 VCA, 36 VCC |
|
Résistance de contact |
≤ 5 mΩ |
|
Tension d'isolement |
2 500 VCC |
Le tableau ci-dessous présente les principales caractéristiques du câble :
|
Caractéristiques |
Spécifications |
|
|---|---|---|
|
Type de câble |
Polyuréthane spécial blindé noir |
|
|
Diamètre de câble externe |
5,2 mm (0,20 po.) |
|
|
Rayon de courbure minimum |
52 mm (2,05 po.) |
|
|
Couleurs des fils |
Marron, noir/blanc, bleu, noir, jaune/vert |
|
|
Gaine externe, couleur |
Noir |
|
|
Poids du câble |
XZ CP1564L05 |
0,040 kg |
|
XZ CP1564L1 |
0,065 kg |
|
|
XZ CP1564L2 |
0,115 kg |
|
|
Résistance à la traction |
20 à 45 N/mm22 |
|
|
Couple de serrage M12 |
0,4 Nm maximum |
|
Le tableau ci-dessous présente les principales caractéristiques environnementales du câble :
|
Caractéristiques |
Spécifications |
|---|---|
|
Température de fonctionnement |
-5 à 90 °C |
|
Température de stockage |
-35 à 100 °C |
|
Propriétés spéciales |
Possibilité de conduite de câble flexible |
|
Sans silicone |
|
|
Sans agent de démoulage |
|
|
Résistance à la flamme |
C2 conforme à NF C 32-070 |
|
Sans halogène |
Conforme DIN VDE 0472 partie 815 |
|
Autre résistance |
Résistant à l'huile soluble, minérale ou synthétique à 90 °C |
|
WEEE/RoHS |
Conforme |
Caractéristiques du câble XZ CP2337L••
Le tableau ci-après décrit les caractéristiques des fils individuels du câble :
|
Caractéristiques |
Spécifications |
|---|---|
|
Section du conducteur (calibre) |
0.34 mm2 (AWG 22) |
|
Isolation matérielle |
PVC |
|
Résistance d’isolement (à 20 °C) |
> 1 GΩ |
|
Intensité nominale |
4 A |
|
Tension nominale |
60 VCA, 75 VCC |
|
Résistance de contact |
≤ 5 mΩ |
|
Tension d'isolement |
2 500 VCC |
Le tableau ci-dessous présente les principales caractéristiques du câble :
|
Caractéristiques |
Spécifications |
|
|---|---|---|
|
Type de câble |
Polyuréthane spécial blindé noir |
|
|
Diamètre de câble externe |
5,2 mm (0,20 po.) |
|
|
Rayon de courbure minimum |
52 mm (2,05 po.) |
|
|
Couleurs des fils |
Marron, bleu, noir |
|
|
Gaine externe, couleur |
Noir |
|
|
Poids du câble |
XZ CP2737L05 |
0,030 kg |
|
XZ CP2737L1 |
0,050 kg |
|
|
XZ CP2737L2 |
0,080 kg |
|
|
Résistance à la traction |
20 à 45 N/mm22 |
|
|
Couple de serrage M8 |
0,2 Nm maximum |
|
Le tableau ci-dessous présente les principales caractéristiques environnementales du câble :
|
Caractéristiques |
Spécifications |
|---|---|
|
Température de fonctionnement |
-5 à 90 °C |
|
Température de stockage |
-35 à 100 °C |
|
Propriétés spéciales |
Possibilité de conduite de câble flexible |
|
Sans silicone |
|
|
Sans agent de démoulage |
|
|
Résistance à la flamme |
C2 conforme à NF C 32-070 |
|
Sans halogène |
Conforme DIN VDE 0472 partie 815 |
|
Autre résistance |
Résistant à l'huile soluble, minérale ou synthétique à 90 °C |
|
WEEE/RoHS |
Conforme |
Dimensions et brochage du TCSXCN2M••SA
|
Dimensions |
|||
|---|---|---|---|
|
|||
|
L longueur en tant que fonction de la référence |
|
Brochage |
|||
|---|---|---|---|
|
Connecteur mâle |
Broche |
Désignation |
Couleur des fils |
|
1 |
Pour le brochage, reportez-vous aux diagrammes de câblage figurant dans le Guide de référence du matériel des blocs d'E/S analogiques TM7. |
Marron |
|
2 |
Blanc |
||
|
3 |
Bleu |
||
|
4 |
Noir |
||
|
5 |
Gris |
||
|
M121 |
SHLD |
||
|
1 Blindage 360 ° autour de vis moletées M12 |
|||
Dimensions et brochage du TCSXCN1M••SA
|
Dimensions |
|||
|---|---|---|---|
|
|||
|
L longueur en tant que fonction de la référence |
|
Brochage |
|||
|---|---|---|---|
|
Connecteur mâle |
Broche |
Désignation |
Couleur des fils |
|
1 |
Pour le brochage, reportez-vous aux diagrammes de câblage figurant dans le Guide de référence du matériel des blocs d'E/S analogiques TM7. |
Marron |
|
2 |
Blanc |
||
|
3 |
Bleu |
||
|
4 |
Noir |
||
|
5 |
Gris |
||
|
M121 |
SHLD |
||
|
1 Blindage 360 ° autour de vis moletées M12 |
|||
Dimensions et brochage du XZ CP1564L••
|
Dimensions |
|||
|---|---|---|---|
|
|||
|
L longueur en tant que fonction de la référence |
|
Brochage |
|||
|---|---|---|---|
|
Connecteur mâle |
Broche |
Désignation |
Couleur des fils |
|
1 |
Pour le brochage, reportez-vous aux schémas de câblage du document Modicon TM7 - Blocs d'E/S numérique - Guide de référence du matériel ou Modicon TM7 - Blocs d'E/S CANopen - Guide de référence du matériel. |
Marron |
|
2 |
Noir/Blanc |
||
|
3 |
Bleu |
||
|
4 |
Noir |
||
|
5 |
Jaune/Vert |
||
Dimensions et brochage du XZ CP2737L••
|
Dimensions |
|||
|---|---|---|---|
|
|||
|
L longueur en tant que fonction de la référence |
|
Brochage |
|||
|---|---|---|---|
|
Connecteur mâle |
Broche |
Désignation |
Couleur des fils |
|
1 |
Pour le brochage, reportez-vous aux schémas de câblage du document Modicon TM7 - Blocs d'E/S numérique - Guide de référence du matériel ou Modicon TM7 - Blocs d'E/S CANopen - Guide de référence du matériel. |
Marron |
|
3 |
Bleu |
||
|
4 |
Noir |
||