Grounding the TM2 System

Overview

To help minimize the effects of electromagnetic interference, cables carrying the fast I/O, analog I/O and field bus communication signals must be shielded.

Warning_Color.gifWARNING

UNINTENDED EQUIPMENT OPERATION

oUse shielded cables for all fast I/O, analog I/O, and communication signals.

oGround cable shields for all fast I/O, analog I/O, and communication signals at a single point1.

oRoute communications and I/O cables separately from power cables.

Failure to follow these instructions can result in death, serious injury, or equipment damage.

1Multipoint grounding is permissible if connections are made to an equipotential ground plane dimensioned to help avoid cable shield damage in the event of power system short-circuit currents.

The   use of shielded cables requires compliance with the following wiring rules:

oFor protective ground connections (PE), metal conduit or ducting can be used for part of the shielding length, provided there is no break in the continuity of the ground connections. For functional ground (FE), the shielding is intended to attenuate electromagnetic interference and the shielding must be continuous for the length of the cable. If the purpose is both functional and protective, as is often the case for communication cables, the cable must have continuous shielding.

oWherever possible, keep cables carrying one type of signal separate from the cables carrying other types of signals or power.

Protective Ground (PE) on the Backplane

The protective ground (PE) is connected to the conductive backplane by a heavy-duty wire, usually a braided copper cable with the maximum allowable cable section.

Functional Ground (FE) on the DIN Rail

The DIN Rail for your TM218 system is common with the functional ground (FE) plane and must be mounted on a conductive backplane.

Warning_Color.gifWARNING

UNINTENDED EQUIPMENT OPERATION

Connect the DIN rail to the functional ground (FE) of your installation.

Failure to follow these instructions can result in death, serious injury, or equipment damage.

Shielded Cables Connections

Cables carrying the fast I/O, analog I/O, and field bus communication signals must be shielded. The shielding must be securely connected to ground. The fast I/O and analog I/O shields may be connected either to the functional ground (FE) or to the protective ground (PE) of your M218 controller. The field bus communication cable shields must be connected to the protective ground (PE) with a connecting clamp secured to the conductive backplane of your installation.

Warning_Color.gifWARNING

ACCIDENTAL DISCONNECTION FROM PROTECTIVE GROUND (PE)

oDo not use the TM2 XMTGB Grounding Bar to provide a protective ground (PE).

oUse the TM2 XMTGB Grounding Bar only to provide a functional ground (FE).

Failure to follow these instructions can result in death, serious injury, or equipment damage.

Protective Ground (PE) Cable Shielding

Step

Description

1

Strip the shielding for a length of 15 mm (0.59 in.)

G-SE-0004794.1.gif-high.gif

 

 

2

Attach the cable to the conductive backplane plate by attaching the grounding clamp to the stripped part of the shielding as close as possible to the TM218 system base.

G-SE-0008062.1.gif-high.gif

 

 

NOTE: The shielding must be clamped securely to the conductive backplane to ensure a good contact.

Functional Ground (FE) Cable Shielding

Step

Description

1

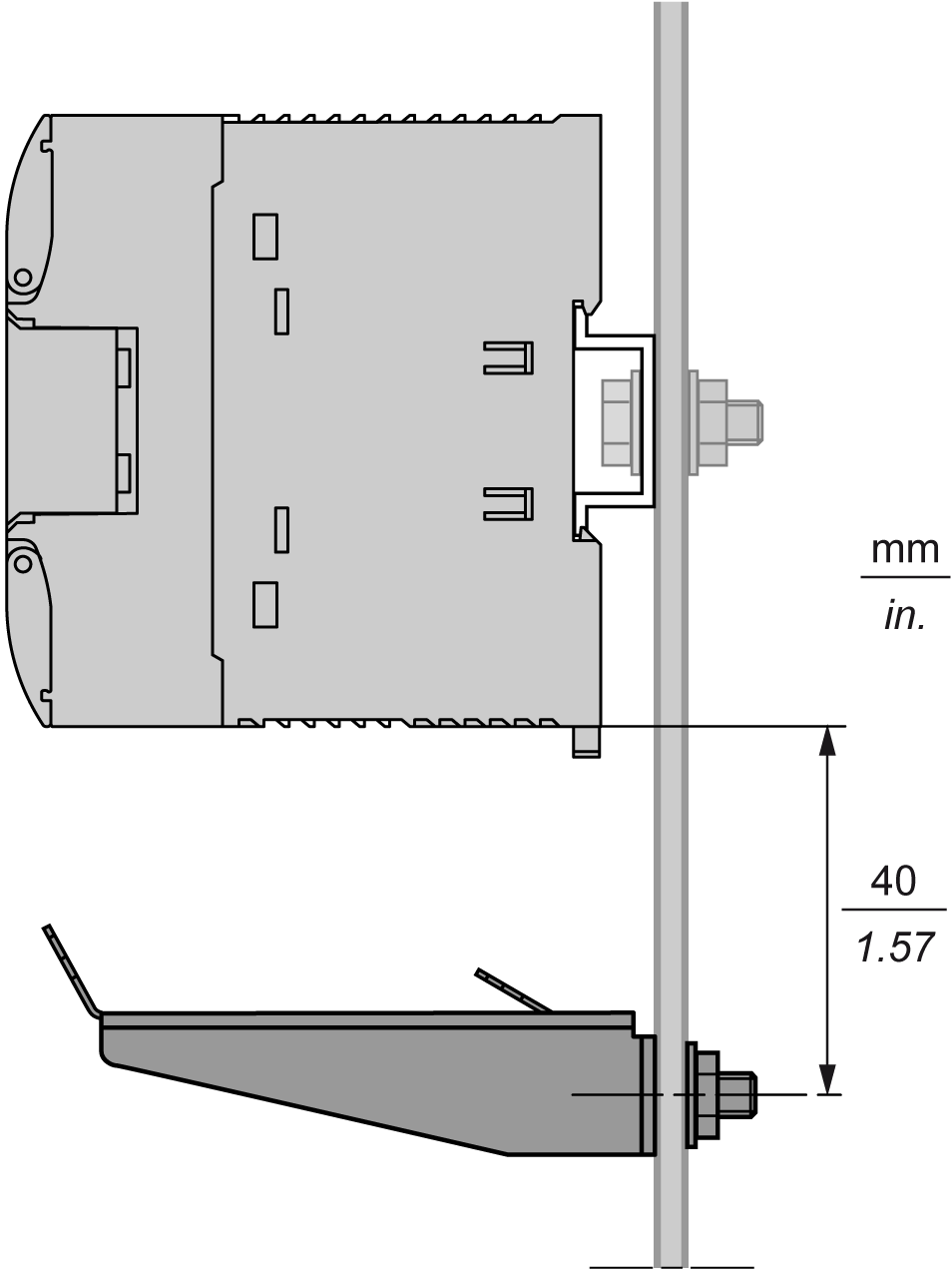
Install the grounding bar directly on the conductive backplane below the TM218 system as illustrated.

G-SE-0008061.1.gif-high.gif

 

 

2

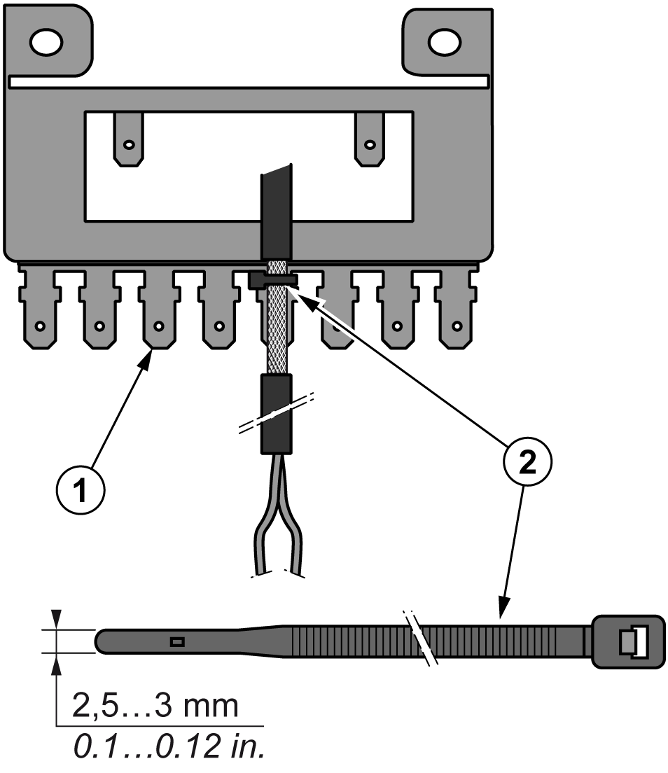
Strip the shielding for a length of 15 mm (0.59 in.)

G-SE-0004794.1.gif-high.gif

 

 

3

Tightly clamp on the blade connector (1) using nylon fastener (2)(width 2.5...3 mm (0.1...0.12 in.)) and appropriate tool.

G-SE-0004796.1.gif-high.gif

 

 

NOTE: Schneider Electric recommends the use of the TM2 XMTGB Grounding Bar for Functional Ground (FE) connections.