连接电源线

 

Warning_Color.gif警告

过多的电磁干扰

o当连接好功能接地 (FG) 端子后,确保将电线接地。 如果不接地,HMIGTO 将引起过大的电磁干扰。 为了符合良好的电磁兼容性抗扰度,请务必接地。

o将HMIGTO的电源端子接线时请关闭电源。

o该 DC 设备仅使用 24Vdc 直流电源供电。 使用其他标准的电源可能会损坏电源和HMIGTO。

o由于HMIGTO不带电源开关,请确保先连接一个电源开关后再接入电源。

o务必将HMIGTO的 FG 端子接地。

o替换好部件,并确保该系统的所有盖板与元器件都安装好后,再重新给HMIGTO供电。

不遵循上述说明可能导致人员伤亡或设备损坏。

注意: 屏蔽层接地 (SG) 和 FG 端子在  面板 内部进行连接。

DC 电源线准备

o确保地线在规格上与电源线相同或比电源线重。

o不要在电源线中使用铝线。

o如果各根电线的端部绞合不正确,则电线可能造成短路。

o请尽可能使用 0.75 至 2.5 mm2 (AWG 18 - 13) 规格的电线用作电源线,并且在连接端子之前,请先绞合电线端部。

o导线类型为实心或绞合型。

o导线的现场布线端子标记(75 °C [167 °F] 仅限于铜导线)。

DC 电源连接器 (插头)规格:弹簧夹端子块

HMIGTO1300/1310 / HMIGTO2300/2310/2315 / HMIGTO3510/4310

G-SE-0014763.2.gif-high.gif

 

 

HMIGTO5310/5315 / HMIGTO6310/6315

G-SE-0014765.2.gif-high.gif

 

 

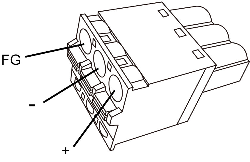
连接

导线

+

24 Vdc

-

0 Vdc

FG

连接到面板底座的接地端子。

如何连接 DC 电源线

步骤

操作

1

请确认电源线没有连接到电源上。

2

请确认额定电压并移走 DC 电源连接器上的 “DC24V”标签。

3

请从电源线的端部取下 10 mm (0.39 in.) 的乙烯薄膜。

4

如果使用的是双绞线,请将电缆端部绞合在一起。请给电缆末端焊锡,这样会减少电缆的磨损,并能保持良好的电流传输效果。

5

使用一个小平头螺丝刀推动打开按键,以打开想要的引脚孔。

6

请把每个引脚端子插入相应的孔内。请松开打开按键,把引脚夹紧到位。

G-SE-0049304.2.gif-high.gif

 

 

7

在插入全部的三个引脚后,将电源连接器插头插入  面板 上的电源连接器。

注意:

o请勿将导线直接焊接到电源插座的引脚上。

o为了防止端子短路,请使用拥有有隔离套的引脚端子。

o您可以使用 HMIGTO1300/1310 / HMIGTO2300/2310/2315 / HMIGTO3510/4310 的 DC 电源连接器为 HMIGTO5310/5315 / HMIGTO6310/6315 提供电力。然而却不能逆向使用。您不能在 HMIGTO1300/1310 / HMIGTO2300/2310/2315 / HMIGTO3510/4310 上使用 HMIGTO5310/5315 / HMIGTO6310/6315 的电源连接器。