Anschließen des Gleichspannungskabels

 

DangerElectrical_Color.gifDanger_Color.gifGEFAHR

GEFAHR VON ELEKTRISCHEM SCHLAG, EXPLOSION ODER LICHTBOGEN

oUnterbrechen Sie die gesamte Spannungsversorgung zum Gerät, bevor Sie Abdeckungen oder Komponenten des Systems entnehmen und Zubehör, Hardware oder Kabel installieren bzw. entfernen.

oUnterbrechen Sie die Stromzufuhr vor der Verkabelung der Netzklemmen des Geräts.

oVerwenden Sie für die Prüfung vorhandener Spannung, wann immer es angezeigt ist, stets einen Spannungsfühler mit zutreffender Bemessungsspannung.

oMontieren und befestigen Sie alle Abdeckungen oder Komponenten des Systems, bevor Sie dieses Produkt an das Netz anschließen und einschalten.

oBetreiben Sie dieses Produkt nur mit der angegebenen Spannung. Dieses Produkt wird mit 12 bis 24 Vdc versorgt. Prüfen Sie stets, ob Ihr Gerät für Gleichstrombetrieb ausgelegt ist, bevor Sie es anschließen und einschalten.

oDa das Gerät nicht mit einem Ein/Aus-Schalter ausgestattet ist, ist ein Leistungsschalter an die Stromversorgung des Geräts anzuschließen.

oVergewissern Sie sich, dass die Gehäuseerdeklemme des Geräts geerdet ist.

Die Nichtbeachtung dieser Anweisungen führt zu Tod oder schweren Verletzungen.

HINWEIS:

oDie Klemmen SG (Signalerde) und FG (Funktionserde) sind im Produkt miteinander verbunden.

oWenn die Gehäuseerdeklemme (FG) angeschlossen ist, vergewissern Sie sich, dass der Draht geerdet ist. Ohne entsprechende Erdung des Geräts kann es zu übermäßigen elektromagne­tischen Interferenzen (EMI) kommen.

Vorbereitung Gleichspannungskabel

oAchten Sie darauf, dass der Erdungsdraht gleich stark oder stärker ist als die Leistungsdrähte.

oVerwenden Sie keine Aluminiumdrähte im Netzkabel für die Stromversorgung.

oUm die Möglichkeit eines Klemmenkurzschlusses zu vermeiden, vermeiden Sie Steckklemmen mit Isolierummantelung

oSind die Enden der einzelnen Drähte nicht korrekt verdrillt, können die Drähte einen Kurzschluss hervorrufen.

oBeim Leitertyp handelt es sich um einen Volldraht oder einen verseilten Draht.

oVerwenden Sie einen Kupferdraht für min. 75 °C (167 °F).

Durchmesser Stromkabel

0,75...2,5 mm2 (18...13 AWG)*1

Leitertyp

Massivdraht oder Litzendraht

Leiterlänge

G-SE-0027275.2.gif-high.gif 

*1 Verwenden Sie zur UL-Kompatibilität AWG 14 oder AWG 13.

Kenndaten des Gleichspannungs-Netzsteckers: Federspann-Klemmleisten

Im Lieferumfang der Modelle außer HMIDT35X befindet sich ein rechtwinkliger Netzstecker, während HMIDT35X mit einem geraden Stecker geliefert werden.

G-SE-0070126.1.gif-high.gif 

1 Gerader Stecker: HMIZGPWS von Schneider Electric

2 Rechteckstecker: HMIZGPWS2 von Schneider Electric

HINWEIS: Der Rechteckstecker kann nicht mit einem HMIDT35X-Gerät verbunden werden.

Verbindung

Draht

+

12...24 Vdc

-

0 Vdc

Gehäuseerde

Am Gehäuse des Geräts angeschlossene, geerdete Klemme.

Anschluss des Gleichstromkabels

Schritt

Aktion

1

Stellen Sie sicher, dass das Stromkabel nicht an das Stromnetz angeschlossen ist.

2

Überprüfen Sie die Nennspannung, und entfernen Sie den “DC24V”-Aufkleber vom Gleichstrom-Netzstecker.

3

Verbinden Sie jeden Draht des Netzkabels mit einer Anschlussklemme.

4

Drücken Sie den Öffnungsknopf mit einem kleinen, flachen Schraubendreher, um das gewünschte Steckloch zu öffnen.

5

Führen Sie die einzelnen Kabeldrähte in ihre jeweiligen Halterungen ein. Lassen Sie den Öffnungsknopf los, um den Draht jeweils festzuklemmen.

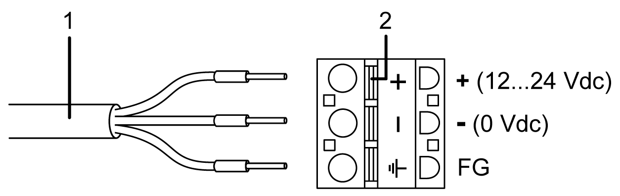
G-SE-0070127.1.gif-high.gif 

1 Gleichspannungskabel

2 Öffnungsknopf

Bei Verwendung von Litzendraht ist darauf zu achten, dass kein Kurzschluss mit benachbarten Drähten entsteht.

6

Wenn alle drei Netzkabeldrähte eingeführt sind, führen Sie den Gleichstrom-Steckverbinder in den Netzanschluss dieses Produkts.

7

Bei Gleichspannungs-Versorgungssteckern mit Befestigungsschrauben verwenden Sie bitte einen Schlitzschraubendreher, um die Schrauben auf beiden Seiten des Steckers zu befestigen. Das erforderliche Anzugsdrehmoment beträgt 0,5 N•m (4,4 lb-in).

HINWEIS:

oLöten Sie den Draht nicht direkt am Netz-Crimp-Pin fest.

oWenn sich der Draht nicht korrekt in der Gehäuseerdeklemme (FG) befindet, ist die Berührfunktion möglicherweise beeinträchtigt.