在 DIN 导轨上安装和拆卸后插模块

概述

本节介绍如何在 DIN 导轨上安装和拆卸后插模块。

注意: HMISCU 应始终连接显示模块和控制器模块,以便应用程序正常运行。

如果后插模块通电时未直接连接(或通过分离电缆连接)到显示模块,则 PLC Logic 进入停止模式且 I/O 进入故障预置模式。

Warning_Color.gif警告

爆炸危险

o切勿在电路通电时进行连接或断开连接。

o打开电源前请用湿布擦拭终端的前面板。

不遵循上述说明可能导致人员伤亡或设备损坏。

在 DIN 导轨上安装后插模块

步骤

操作

1

使用螺钉将 DIN 导轨固定到面板表面上。

2

将显示模块/后插模块分离电缆连接到后插模块。

G-SE-0021246.3.gif-high.gif

 

1   显示模块/后插模块分离电缆

2   后插模块

注意: 要组装本产品,您需要额外 20 mm (0.78 in.) 的间距才能在橡胶末端处弯曲电缆。需要更多空间方可在橡胶末端处弯曲电缆。

3

将后插模块的顶槽放置在 DIN 导轨的顶部边缘上,然后将组件压在 DIN 导轨上,直到听到 DIN 导轨夹嵌入到位。

G-SE-0049379.1.gif-high.gif

 

1   后插模块

2   导轨

注意: AB1 AB8P35 型或类似的端子块头夹有助于最大限度地减少侧向移动,并改善控制器组件的抗冲击与抗震性能。

4

将显示模块安装到机柜上,然后将显示模块/后插模块分离电缆连接到显示模块。

G-SE-0021245.3.gif-high.gif

 

1   显示模块

2   显示模块/后插模块分离电缆

从 DIN 导轨上卸下后插模块

步骤

操作

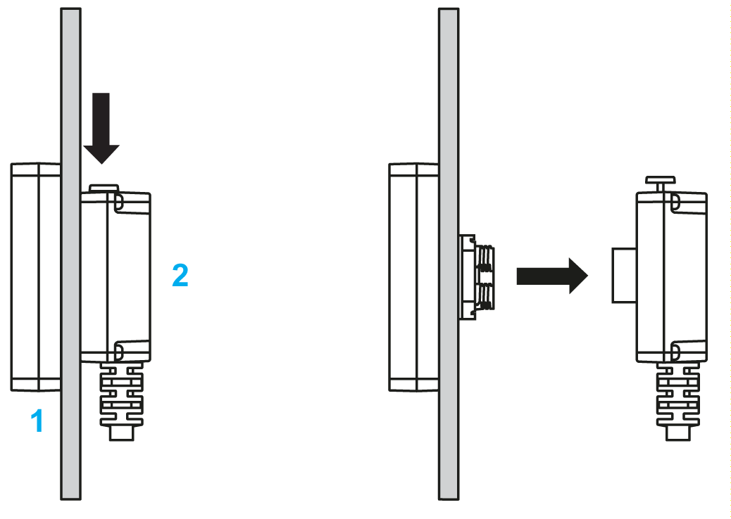
1

按下后插模块的黄色锁定按钮,然后将其从显示模块/后插模块分离电缆上卸下。

G-SE-0049388.1.gif-high.gif

 

1   后插模块

2   显示模块/后插模块分离电缆

2

按下显示模块/后模块分离电缆的锁定按钮并将其从显示模块上取下。

G-SE-0049378.2.gif-high.gif

 

1   显示模块

2   显示模块/后插模块分离电缆