Anschlussdetails

CN1 - Netzanschluss (Endstufenversorgung)

Der Lexium 52 wird über die Netzleitung mit Spannung versorgt. Die Bemessungsspannung liegt zwischen 208 und 480 V.

G-SE-0042653.1.gif-high.gif

 

 

Elektrischer Anschluss - Netzanschluss (Endstufenversorgung)

Pin

Bezeichnung

Bedeutung

1

G-SE-0004529.2.gif-high.gif

 

 

Schutzleiter

2

L1

Außenleiter L1

3

L2

Außenleiter L2

4

L3

Außenleiter L3

CN2 - Anschluss für die 24-V-Steuerungsversorgung und Sicherheitsfunktion STO

Der 24-V-Eingang versorgt die internen Logikbaugruppen sowie die an die Achsmodule angeschlossenen Haltebremsen der kompletten Achsgruppe.

G-SE-0042654.1.gif-high.gif

 

 

CN2 - Anschluss für die 24-V-Steuerungsversorgung und Sicherheitsfunktion STO

Pin

Bezeichnung

Bedeutung

1

STO_A

InverterEnable-Signal A

2

STO_B

InverterEnable-Signal B

3

24 V

Lexium 52 Versorgungsspannung - Eingang

4

0V

Lexium 52 Versorgungsspannung - Eingang

5

STO_A

InverterEnable-Signal A, gebrückt mit Pin 1

6

STO_B

InverterEnable-Signal B, gebrückt mit Pin 2

7

24 V

Spannungsversorgung für eine optionale externe Haltebremse - Ausgang , gebrückt mit Pin 3

8

0V

Spannungsversorgung für eine optionale externe Haltebremse - Ausgang, gebrückt mit Pin 4

HINWEIS: Der maximale Klemmenstrom beträgt 16 A. Beim Anschluss mehrerer Lexium 52 ist dre maximal zulässige Klemmenstrom zu berücksichtigen.

CN3 - Motor Encoder

An den Motorgeber-Anschluss wird das Messystem angeschlossen, das die Position der Achse erfasst.

G-SE-0042655.1.gif-high.gif

 

 

CN3 - Motorgeber

Pin

Bezeichnung

Bedeutung

1

Cos

Cosinus-Spur Achse A/B

2

RefCos

Referenzsignal Cosinus Achse A/B

3

Sin

Sinus-Spur Achse A/B

4

RS485+

Positives RS-485-Signal Achse A/B

5

RS485-

Negatives RS-485-Signal Achse A/B

6

RefSin

Referenzsignal Sinus Achse A/B

7

N.C.

Reserviert

8

N.C.

Reserviert

A

P10V

Versorgungsspannung Geber A/B

B

GND

Masse A/B

HINWEIS: Durch Verwendung des 5-V-Geberadapters können auch Geber mit 5-V-Versorgungs­spannung an den Antrieb angeschlossen werden.

CN4/CN5 - Sercos

Der Sercos-Anschluss dient der Kommunikation zwischen Steuerung und Antrieb.

G-SE-0042656.1.gif-high.gif

 

 

Elektrischer Anschluss - Sercos

Pin

Bezeichnung

Bedeutung

1,1

Eth0_Tx+

Positives Übertragungssignal

1.2

Eth0_Tx-

Negatives Übertragungssignal

1.3

Eth0_Rx+

Positives Empfangssignal

1.4

N.C.

Reserviert

1.5

N.C.

Reserviert

1.6

Eth0_Rx-

Negatives Empfangssignal

1.7

N.C.

Reserviert

1.8

N.C.

Reserviert

2.1

Eth1_Tx+

Positives Übertragungssignal

2.2

Eth1_Tx-

Negatives Übertragungssignal

2.3

Eth1_Rx+

Positives Empfangssignal

2.4

N.C.

Reserviert

2.5

N.C.

Reserviert

2.6

Eth1_Rx-

Negatives Empfangssignal

2.7

N.C.

Reserviert

2.8

N.C.

Reserviert

CN6 - Digital Inputs / Outputs

G-SE-0042657.1.gif-high.gif

 

 

CN6 - Digitale Ein-/Ausgänge

Pin

Bezeichnung

Bedeutung

1

24 V

24 V

2

D I/Q

Digitaler Eingang 4 / Digitaler Ausgang 0

3

D I/Q

Digitaler Eingang 5 / Ausgang 1

4

0 V

0 V

5

DI (TP)

Digitaler Eingang 0 / TP 0

6

DI (TP)

Digitaler Eingang 1 / TP 1

7

DI

Digitaler Eingang 2

8

DI

Digitaler Eingang 3

CN7 - Ready-Relaisausgang

ReadyWenn der Antrieb betriebsbereit ist, wird der Ready-Kontakt aktiviert.

G-SE-0042658.1.gif-high.gif

 

 

Elektrischer Anschluss - Ready-Relaisausgang

Pin

Bezeichnung

Bedeutung

Hinweis

1

RDY1

Ready-Kontakt

Potentialfreier Kontakt

2

RDY2

Ready-Kontakt

Potentialfreier Kontakt

CN8 - Anschluss für externen Bremswiderstand

Wenn der interne Bremswiderstand nicht ausreicht, kann an diesen Anschluss ein externer Bremswiderstand angeschlossen werden.

G-SE-0042659.2.gif-high.gif

 

 

Elektrischer Anschluss - externer Bremswiderstand

Pin

Bezeichnung

Bedeutung

1

PBe

Anschluss für externen Widerstand

2

PB

Anschluss für externen Widerstand

3

G-SE-0004529.2.gif-high.gif

 

 

Schutzleiter

Weitere Informationen finden Sie in folgenden Themen:

oDie technischen Daten für externe Bremswiderstände.

oDie Konfiguration von Parametern innerhalb der Parametergruppe ExternalBrakingRe­sistor in EcoStruxure Machine Expert. (Siehe EcoStruxure Machine Expert Online-Hilfe, Abschnitt Antriebssysteme und Motoren --> Lexium 52 Standalone Antriebssystem und Motoren --> Lexium 52 Geräteobjekte und Parameter -->Lexium LXM52 Drive --> Externer Bremswiderstand.)

oWeitere Informationen zu den verfügbaren externen Bremswiderständen finden Sie im Katalog "PacDrive 3 automation solution Lexium 52 stand-alone servo drive" auf der Schneider Electric Website.

CN9 - Anschluss für Zwischenkreisverbindung

Über diesen Anschluss können Zwischenkreise verbunden werden.

G-SE-0042660.1.gif-high.gif

 

 

Elektrischer Anschluss - Zwischenkreisverbindung

Pin

Bezeichnung

Bedeutung

1

PA/+

Positiver Anschluss für Zwischenkreis

2

PC/-

Negativer Anschluss für Zwischenkreis

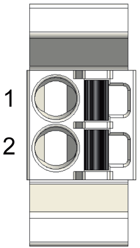
CN10 - Anschluss für Motorphasen

Die Motorsignale U, V und W versorgen den Motor mit der benötigten Energie.

G-SE-0042661.1.gif-high.gif

 

 

Elektrischer Anschluss - Haltebremse Motor, Temperatur Motor

Motorkabel(1)

Motoranschlüsse

Bedeutung

Aderbeschriftung

Aderfarbe

Bezeichnung

1

Schwarz

U

Motorphase U

2

Schwarz

V

Motorphase V

3

Schwarz

W

Motorphase W

Grün/Gelb

G-SE-0004529.2.gif-high.gif

 

 

Schutzleiter PE

(1) Bestellnr.: VW3E1143Rxxx, VW3E1144Rxxx, VW3E1145Rxxx

Die Abisolierlänge der Adern des Motorsteckers beträgt 15 mm (0.59 in). Die maximale Länge des Motorkabels beträgt 75 m (246.06 ft).

CN11 - Haltebremse Motor, Temperatur Motor

Die Temperatursignale sind mit einem Temperatursensor verbunden, um die Motortemperatur zu messen. Der Haltebremse-Ausgang versorgt die Haltebremse im Motor mit der benötigten Energie.

Das Gerät überwacht die Motorphasen auf:

oKurzschlüsse zwischen den Motorphasen.

oKurzschlüsse zwischen den Motorphasen und der Masse.

Kurzschlüsse zwischen den Motorphasen und dem Zwischenkreis oder dem Bremswiderstand bzw. Nicht-Erkennung der Drähte der Haltebremse.

G-SE-0042652.1.gif-high.gif

 

 

Elektrischer Anschluss - Motorphasen

Motorkabel(1)

Motoranschlüsse

Bedeutung

Aderbeschriftung

Aderfarbe

Bezeichnung

5

Schwarz

1

ϑ−

Temperatur negatives Signal

6

Schwarz

ϑ+

Temperatur positives Signal

7

Schwarz

BR-

Haltebremse negativer Anschluss (2)

8

Schwarz

BR+

Haltebremse positiver Anschluss (2)

(1) Bestellnr.: VW3E1143Rxxx, VW3E1144Rxxx, VW3E1145Rxxx

(2) Der maximale Klemmenstrom beträgt 1,7 A.

Die Abisolierlänge der Adern des Motorsteckers beträgt 15 mm (0.59 in). Die maximale Länge des Motorkabels beträgt 75 m (246.06 ft).