Descripción de la sección

Descripción general

Una sección es un módulo de ampliación que tiene una de las funciones siguientes en el sistema TM5:

oE/S de ampliación

oDistribución de alimentación o

oDistribución común

oBus de ampliación

En la figura siguiente se muestran los tres componentes de una sección:

G-SE-0000923.3.gif-high.gif

 

1   Base de bus

2   Módulo electrónico

3   Bloque de terminales

DangerElectrical_Color.gifDanger_Color.gifPELIGRO

LOS COMPONENTES INCOMPATIBLES PROVOCAN DESCARGAS ELÉCTRICAS Y ARCOS ELÉCTRICOS

oNo asocie componentes de una sección que tengan colores distintos.

oConfirme siempre la compatibilidad de los componentes de secciones y los módulos antes de la instalación utilizando la tabla de asociaciones de este manual.

oVerifique que los bloques de terminales correctos (como mínimo, sus colores coinciden y tienen el número correcto de terminales) están instalados en los módulos electrónicos adecuados.

El incumplimiento de estas instrucciones podrá causar la muerte o lesiones serias.

El bus base y el bloque de terminales para el módulo electrónico se deben solicitar por separado. Para obtener las referencias, consulte las secciones correspondientes que mostramos a continuación.

Los tres componentes en conjunto forman una unidad integral resistente a las vibraciones y a las descargas electrostáticas.

AVISO

DESCARGA ELECTROSTÁTICA

oNo toque los contactos del módulo electrónico.

oMantenga el conector en su lugar durante el funcionamiento normal.

El incumplimiento de estas instrucciones puede causar daño al equipo.

La tabla de compatibilidad ofrece las asociaciones posibles entre los componentes de una sección.

Descripción de la base de bus

En las figuras siguientes se muestran las distintas partes de la base de bus:

G-SE-0001655.3.gif-high.gif

 

1   Palanca de bloqueo

2   Mecanismo de bloqueo de segmento DIN

3   Contacto del segmento DIN

4   Guías para el montaje del módulo electrónico

5   Eje de rotación del bloque de terminales

6   Contactos de alimentación del bus de TM5

7   Contactos de datos del bus de TM5

8   Contactos del segmento de alimentación de E/S de 24 V CC

9   Guías de enclavamiento

10   Interruptores rotativos de ajustes de dirección (opcional, según las referencias)

En esta tabla se muestran los distintos tipos de bases de bus:

Referencia

Descripción de la base de bus

Color

TM5ACBM11

Bus base de 24 V CC

Paso del segmento de alimentación de E/S de 24 V CC

Blanco

TM5ACBM15

Bus base de 24 V CC

Paso del segmento de alimentación de E/S de 24 V CC con ajustes de dirección

Blanco

TM5ACBM01R

Base de bus de 24 V CC para PDM y los módulos receptores

Segmento de alimentación de E/S de 24 V CC dejado aislado

Gris

TM5ACBM05R

Base de bus de 24 V CC para PDM y los módulos receptores

Segmento de alimentación de E/S de 24 V CC dejado aislado con ajuste de dirección

Gris

TM5ACBM12

Base de bus para los módulos de CA

Paso del segmento de alimentación de E/S de 24 V CC

Negro

Descripción del módulo electrónico

En la figura siguiente se muestran las distintas partes de los módulos electrónicos:

G-SE-0001656.3.gif-high.gif

 

1   Palanca de bloqueo

2   Guías para el montaje

3   Pantalla (indicadores LED)

4   Slot para el etiquetado

5   Slot para codificar el módulo electrónico y el bloque de terminales asociado

6   Fusible interno intercambiable (dependiendo de las referencias)

En esta tabla se muestran los diferentes tipos de módulos electrónicos:

Referencia

Descripción del módulo electrónico

Color

Consulte

TM5SD••

Módulos digitales

Blanco o negro

Modicon TM5 Módulos de E/S digitales - Guía de hardware

TM5SA••

Módulos analógicos

Blanco

Modicon TM5 Módulos de E/S analógicas - Guía de hardware

TM5SPS1•

Módulos de distribución de alimentación (PDM)

Gris

Módulos de distribución de alimentación de TM5

TM5SPS2•

TM5SPS3

Módulo de distribución de alimentación de interfaz (IPDM)

Gris

Módulo de distribución de alimentación de interfaz de TM5 (IPDM)

TM5SE••

Módulos expertos

Blanco

Modicon TM5 Módulos expertos (Contador de alta velocidad) - Guía de hardware

TM5SBET••

Módulos transmisores

Blanco

Modicon TM5 Módulos transmisores y receptores - Guía de hardware

TM5SBER••

Módulo receptor

Gris

TM5SPD••

Módulos de distribución común (CDM)

Blanco

Módulos de distribución comunes de TM5

TM5SD000

Módulo vacío

Blanco

Módulos de accesorios de TM5

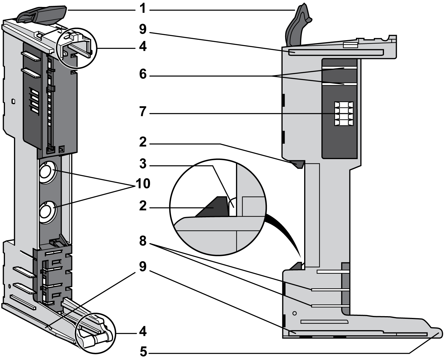
Descripción de los bloques de terminales

Las características principales del bloque de terminales son:

oCableado sin herramientas con tecnología de empuje de abrazadera de resorte

oSoltado de cables con botón pulsador

oCapacidad para etiquetar cada terminal

oTambién es posible el etiquetado de texto normal

oAcceso de pruebas para sondas estándar

oPuede ser codificado de forma personalizada

En la figura siguiente se muestran las distintas partes del bloque de terminales:

G-SE-0001566.3.gif-high.gif

 

1   Botón pulsador para soltar los cables

2   Asignación de pins

3   Conector de abrazaderas de resorte

4   Punto de acceso de pruebas

5   Bisagra para el eje en la base de bus

6   Retención para el módulo electrónico

7   Slot posterior para la codificación

8   Slot delantero para el etiquetado

9   Slot para abrazadera de fijación de cables

En esta tabla se muestran los distintos tipos de bloques de terminales:

Referencia

Descripción del bloque de terminales

Color

TM5ACTB06

Bloque de terminales de 6 pins de 24 V CC

Blanco

TM5ACTB12

Bloque de terminales de 12 pins de 24 V CC

Blanco

TM5ACTB12PS

Bloque de terminales de 12 pins de 24 V CC para PDM,IPDM módulo electrónico receptor

Gris

TM5ACTB16

Bloque de terminales de 16 pins de 24 V CC

Blanco

TM5ACTB32

Bloque de terminales de 12 pins con 240 V CA

Negro