部品标识及其功能

 

部件标识和功能

HMIGTO1300/1310 部件标识

侧面

HMIGTO1300/1310

正面

G-SE-0016414.2.gif-high.gif

 

 

背面

G-SE-0016412.2.gif-high.gif

 

 

底部

G-SE-0016413.2.gif-high.gif

 

 

部件

名称

描述

A

状态 LED

*1

B

功能开关

六个开关(F1 到 F6)。您可以使用 Vijeo Designer 为这些开关定义操作。

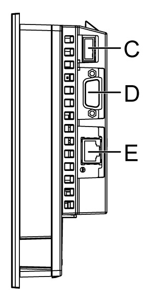
C

USB (mini-B) 接口

支持一个 USB2.0 (mini-B)。通讯距离:5 m (16.4 ft) 或更短。

D

USB(A 型)接口

支持一个 USB2.0 (A 型)。电源电压:5 Vdc+/-5%。输出电流:500 mA 或更低。最大通讯距离:5 m (16.4 ft)。

E

串行接口 (COM1)

HMIGTO1300:RS-232C 串行接口。连接器:1 个 D-Sub 9 针 (插头)。

HMIGTO1310:RS-232C/485 串行接口。(您可以通过软件来切换通讯方法。)连接器:模块插孔 (RJ45)。

F

以太网接口*2

以太网传输接口 (10BASE-T/100BASE-TX)。

连接器:1 个模块插孔 (RJ45)。以太网接口不与 HMIGTO1300 相连。

G

电源插头连接器

-

H

串行接口 (COM2)

HMIGTO1300:RS-485 串行接口。连接器:1 个模块插孔 (RJ45)。

*1 状态 LED 操作如下所示:

颜色

指示灯

描述

绿色

亮起

操作中

橙色

闪烁

软件启动。

红色

亮起

接通电源。

-

熄灭

断开电源。

*2 以太网 LED 操作如下所示。

 

颜色

指示灯

描述

G-SE-0017203.1.gif-high.gif

 

 

绿色(活动状态)

闪烁

正在进行数据传输。

熄灭

无数据传输。

绿色(连接状态)

亮起

数据传输可用于 10BASE-T/100BASE-TX。

熄灭

无连接或后续传输失败。

HMIGTO2300/2310/2315 部件标识

侧面

HMIGTO2300 / HMIGTO2310

HMIGTO2315

正面

G-SE-0016416.2.gif-high.gif

 

 

G-SE-0016420.3.gif-high.gif

 

 

G-SE-0016418.2.gif-high.gif

 

 

G-SE-0016422.2.gif-high.gif

 

 

背面

G-SE-0016417.2.gif-high.gif

 

 

G-SE-0016421.2.gif-high.gif

 

 

底部

G-SE-0016415.2.gif-high.gif

 

 

G-SE-0016419.2.gif-high.gif

 

 

部件

名称

描述

A

状态 LED

*1

B

不锈钢座圈(304 级)

HMIGTO2315 。

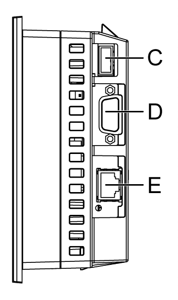
C

USB(A 型)接口

支持一个 USB2.0 (A 型)。

电源电压:5 Vdc+/-5%。

输出电流:500 mA 或更低。

最大通讯距离:5 m (16.4 ft)。

D

串行接口 (COM1)

RS-232C 串行接口。连接器:1 个 D-Sub 9 针 (插头)。

E

串行接口 (COM2)*2

RS-485 串行接口。连接器:模块插孔 (RJ45)。

F

电源插头连接器

-

G

SD 卡访问 LED*3

当 SD 卡已插入时,该指示灯将亮起。

关于更多信息,请参阅 SD 卡插入/拔出

注意: HMIGTO2300 上没有 SD 卡访问 LED。

H

SD 卡接口盖/备用电池插入盖

关于如何打开护盖、插入或拔出 SD 卡的信息,请参阅 SD 卡插入/拔出

关于如何打开护盖和更换电池的信息,请参阅更换主电池

注意: HMIGTO2300 上没有此护盖。

I

USB (mini-B) 接口

支持一个 USB2.0 (mini-B)。

通讯距离:5 m (16.4 ft) 或更短。

J

以太网接口*4

以太网传输接口 (10BASE-T/100BASE-TX)。

连接器:1 个模块插孔 (RJ45)。

注意: HMIGTO2300 上没有以太网接口。

*1 状态 LED 操作如下所示:

颜色

指示灯

描述

绿色

亮起

操作中

橙色

闪烁

软件启动。

红色

亮起

接通电源。

-

熄灭

无电源输入。

*2 COM2 LED 操作如下。

颜色

指示灯

描述

黄色

开启

通信(发送或接收数据)正在发生。

熄灭

无通信。

*3 SD 卡访问 LED 操作如下。

颜色

指示灯

描述

绿色(活动状态)

亮起

SD 卡已插入。

熄灭

SD 卡未插入或没有被访问。

*4 以太网 LED 操作如下所示。

 

颜色

指示灯

描述

G-SE-0017203.1.gif-high.gif

 

 

绿色(活动状态)

闪烁

正在进行数据传输。

熄灭

无数据传输。

绿色(连接状态)

亮起

数据传输可用于 10BASE-T/100BASE-TX。

熄灭

无连接或后续传输失败。

HMIGTO3510/4310 部件标识

侧面

HMIGTO3510/4310

正面

G-SE-0016425.2.gif-high.gif

 

 

G-SE-0016423.2.gif-high.gif

 

 

背面

G-SE-0016426.2.gif-high.gif

 

 

底部

G-SE-0016424.2.gif-high.gif

 

 

部件

名称

描述

A

状态 LED

*1

B

功能开关

八个开关(F1 到 F8)。您可以使用 Vijeo Designer 为这些开关定义操作。

C

USB(A 型)接口

支持一个 USB2.0 (A 型)。电源电压:5 Vdc+/-5%。输出电流:500 mA 或更低。最大通讯距离:5 m (16.4 ft)。

D

串行接口 (COM1)

RS-232C 串行接口。连接器:1 个 D-Sub 9 针 (插头)。

E

串行接口 (COM2)*2

RS-485 串行接口。连接器:1 个模块插孔 (RJ45)。

F

电源插头连接器

-

G

SD 卡访问 LED*3

当 SD 卡已插入时,该指示灯将亮起。

关于更多信息,请参阅 SD 卡插入/拔出

H

SD 卡接口盖/备用电池插入盖

关于如何打开护盖、插入或拔出 SD 卡的信息,请参阅 SD 卡插入/拔出

关于如何打开护盖和更换电池的信息,请参阅更换主电池

I

USB (mini-B) 接口

支持一个 USB2.0 (mini-B)。通讯距离:5 m (16.4 ft) 或更短。

J

以太网接口*4

以太网传输接口(10BASE-T/100BASE-TX)。

连接器:1 个模块插孔 (RJ45)。

*1 状态 LED 操作如下所示:

颜色

指示灯

描述

绿色

亮起

操作中

橙色

闪烁

软件启动。

红色

亮起

接通电源。

-

熄灭

无电源输入。

*2 COM2 LED 操作如下。

颜色

指示灯

描述

黄色

亮起

通信(发送或接收数据)正在发生。

熄灭

无通信。

*3 SD 卡访问 LED 操作如下。

颜色

指示灯

描述

绿色(活动状态)

亮起

SD 卡已插入。

熄灭

SD 卡未插入或没有被访问。

*4 以太网 LED 操作如下所示。

 

颜色

指示灯

描述

G-SE-0017203.1.gif-high.gif

 

 

绿色(活动状态)

闪烁

正在进行数据传输。

熄灭

无数据传输。

绿色(连接状态)

亮起

数据传输可用于 10BASE-T/100BASE-TX。

熄灭

无连接或后续传输失败。

HMIGTO5310/5315 部件标识

侧面

HMIGTO5310

HMIGTO5315

正面

G-SE-0016429.2.gif-high.gif

 

 

G-SE-0016432.2.gif-high.gif

 

 

背面

G-SE-0016430.3.gif-high.gif

 

 

G-SE-0016427.2.gif-high.gif

 

 

底部

G-SE-0016428.2.gif-high.gif

 

 

G-SE-0016431.2.gif-high.gif

 

 

部件

名称

描述

A

状态 LED

*1

B

不锈钢座圈(304 级)

HMIGTO5315 。

C

电源插头连接器(DC 型)

-

D

SD 卡访问 LED*2

当 SD 卡已插入时,该指示灯将亮起。

注意: 请不要在 LED 指示灯点亮的时候插拔 SD 卡。否则可能会损坏 SD 卡上的数据。

E

以太网接口*3

以太网传输接口 (10BASE-T/100BASE-TX)。

连接器:1 个模块插孔 (RJ45)。

F

USB (mini-B) 接口

支持一个 USB2.0 (mini-B)。

通讯距离:5 m (16.4 ft) 或更短。

G

SD 卡接口盖/备用电池插入盖

关于如何打开护盖、插入或拔出 SD 卡的信息,请参阅 SD 卡插入/拔出

关于如何打开护盖和更换电池的信息,请参阅更换主电池

H

串行接口 (COM2)*4

RS-485 串行接口。

连接器:模块插孔 (RJ45)。

I

串行接口 (COM1)

RS-232C 串行接口。

连接器:1 个 D-Sub 9 针 (插头)。

J

USB(A 型)接口

支持一个 USB2.0 (A 型)。电源电压:5 Vdc+/-5%。输出电流:500 mA 或更低。最大通讯距离:5 m (16.4 ft)。

*1 状态 LED 操作如下所示:

颜色

指示灯

描述

绿色

亮起

操作中

橙色

闪烁

软件启动。

红色

开启

接通电源。

-

熄灭

无电源输入。

*2 SD 卡访问 LED 操作如下。

颜色

指示灯

描述

绿色(活动状态)

亮起

SD 卡已插入。

熄灭

SD 卡未插入或没有被访问。

*3 以太网 LED 操作如下所示。

 

颜色

指示灯

描述

G-SE-0017203.1.gif-high.gif

 

 

绿色(活动状态)

闪烁

正在进行数据传输。

熄灭

无数据传输。

绿色(连接状态)

亮起

数据传输可用于 10BASE-T/100BASE-TX。

熄灭

无连接或后续传输失败。

*4 COM2 LED 操作如下。

颜色

指示灯

描述

黄色

亮起

通信(发送或接收数据)正在发生。

熄灭

无通信。

HMIGTO6310/6315 部件标识

侧面

HMIGTO6310

HMIGTO6315

正面

G-SE-0016435.2.gif-high.gif

 

 

G-SE-0016438.2.gif-high.gif

 

 

背面

G-SE-0016436.2.gif-high.gif

 

 

G-SE-0016433.2.gif-high.gif

 

 

底部

G-SE-0016434.2.gif-high.gif

 

 

G-SE-0016437.2.gif-high.gif

 

 

部件

名称

描述

 

状态 LED

*1

B

不锈钢座圈(304 级)

HMIGTO6315 。

C

电源插头连接器(DC 型)

-

D

SD 卡访问 LED*2

当 SD 卡已插入时,该指示灯将亮起。

注意: 请不要在 LED 指示灯点亮的时候插拔 SD 卡。否则可能会损坏 SD 卡上的数据。

E

以太网接口*3

以太网传输接口 (10BASE-T/100BASE-TX)。

连接器:1 个模块插孔 (RJ45)。

F

USB (mini-B) 接口

支持一个 USB2.0 (mini-B)。

通讯距离:5 m (16.4 ft) 或更短。

G

SD 卡接口盖/备用电池插入盖

关于如何打开护盖、插入或拔出 SD 卡的信息,请参阅 SD 卡插入/拔出

关于如何打开护盖和更换电池的信息,请参阅更换主电池

H

串行接口 (COM2)*4

RS-485 串行接口。连接器:模块插孔 (RJ45)

I

串行接口 (COM1)

RS-232C 串行接口。连接器:1 个 D-Sub 9 针 (插头)。

J

USB(A 型)接口

支持一个 USB2.0 (A 型)。

电源电压:5 Vdc+/-5%。

输出电流:500 mA 或更低。

最大通讯距离:5 m (16.4 ft)。

*1 状态 LED 操作如下所示:

颜色

指示灯

描述

绿色

亮起

操作中

橙色

闪烁

软件启动。

红色

亮起

接通电源。

-

熄灭

无电源输入。

*2 SD 卡访问 LED 操作如下。

颜色

指示灯

描述

绿色(活动状态)

亮起

SD 卡已插入。

熄灭

SD 卡未插入或没有被访问。

*3 以太网 LED 操作如下所示。

 

颜色

指示灯

描述

G-SE-0017203.1.gif-high.gif

 

 

绿色(活动状态)

闪烁

正在进行数据传输。

熄灭

无数据传输。

绿色(连接状态)

亮起

数据传输可用于 10BASE-T/100BASE-TX。

熄灭

无连接或后续传输失败。

*4 COM2 LED 操作如下。

颜色

指示灯

描述

黄色

亮起

通信(发送或接收数据)正在发生。

熄灭

无通信。