Horodateur (horloge temps réel ou RTC)

Présentation

Ces contrôleurs incluent un horodateur pour fournir la date et l'heure système et prendre en charge les fonctions connexes nécessitant un horodateur. Pour conserver l'heure lorsque l'alimentation est coupée, une pile non rechargeable remplaçable est fournie avec le contrôleur. Un voyant indique si la pile est absente ou si sa charge est trop faible. Pour plus d'informations, reportez-vous à la section Voyants d'état.

Le tableau suivant indique comment l'écart de l'horodateur est géré :

Caractéristiques de l'horodateur

Description

Décalage de l'horodateur

Moins de 30 secondes par mois sans étalonnage utilisateur à 25 °C (77 °F).

Ecart de l'horodateur en utilisant la logique utilisateur

Inférieur ou égal à 6 secondes par mois avec étalonnage utilisateur au moyen du logiciel d'application lorsque le contrôleur est en mode RUN.

Pile de l'horodateur

Le contrôleur a une pile d'horodateur.

En cas de coupure d'alimentation, la pile de secours conserve l'heure du contrôleur.

Le tableau suivant présente les caractéristiques de la pile de l'horodateur :

Utilisation

En cas de coupure de courant transitoire, la pile alimente l'horodateur..

Temps de sauvegarde

Au moins 1 an et demi à 45 °C max. (113 °F). Durée réduite à des températures plus élevées.

Fonctions de surveillance de la pile

Oui.

Remplaçable

Oui.

Type de pile de l'horodateur du contrôleur

Type BBCV2, Renata Type CR2477M.

Installation et remplacement de la pile de l'horodateur

Les piles au lithium sont recommandées car elles se déchargent moins vite et ont une longévité plus importante, mais elles peuvent présenter des dangers pour le personnel, l'équipement et l'environnement et doivent être manipulées de façon appropriée.

Danger_Color.gifDANGER

RISQUE D'EXPLOSION, D'INCENDIE OU DE BRULURES DE NATURE CHIMIQUE

oRemplacez les piles par des piles de type identique.

oSuivez scrupuleusement les instructions du fabricant des piles.

oRetirez toutes les piles remplaçables avant de jeter l'unité au rebut.

oRecyclez les piles usées et mettez-les au rebut correctement.

oProtégez les piles contre tout risque de court-circuit.

oVous ne devez pas les recharger, les démonter, les exposer à une température de plus de 100 °C ou les incinérer.

oUtilisez vos mains ou des outils isolés pour retirer ou remplacer une batterie.

oVérifiez la polarité lorsque vous insérez ou connectez une pile neuve.

Le non-respect de ces instructions provoquera la mort ou des blessures graves.

Pour installer ou remplacer la pile de l'horodateur, procédez comme suit :

Etape

Action

1

Mettez le contrôleur hors tension.

2

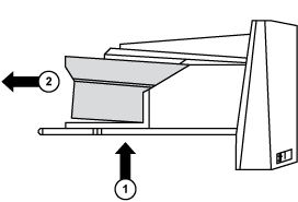
Faites sortir le support de la pile du contrôleur :

G-SE-0004660.1.gif

 

 

3

Retirez la pile du support :

G-SE-0004661.1.gif

 

 

4

Insérez la nouvelle pile dans le support en respectant les marques de polarité figurant sur cette dernière :

G-SE-0004663.1.gif

 

 

5

Remettez le support de la pile en place dans le contrôleur et vérifiez que le verrou s'enclenche.

6

Remettez le Modicon LMC058 Motion Controller sous tension.

NOTE : Si vous n'alimentez pas immédiatement le Modicon LMC058 Motion Controller, la durée de vie de la pile de sauvegarde externe peut être considérablement réduite.

7

Réglez l'horloge interne. Pour plus d'informations sur l'horloge interne, reportez-vous à la section Bibliothèque RTC.

 

NOTE : Le remplacement de la pile dans les contrôleurs autres que ceux du type spécifié dans cette documentation peuvent présenter un risque d'incendie ou d'explosion.

 

Warning_Color.gifAVERTISSEMENT

RISQUE D'INCENDIE OU D'EXPLOSION EN CAS D'UTILISATION DE PILES INAPPROPRIEES

Remplacez la batterie par une de type identique : Renata Type CR2477M.

Le non-respect de ces instructions peut provoquer la mort, des blessures graves ou des dommages matériels.