对系统进行接地

简介

对所有模拟量和高速输入或输出以及通讯连接使用正确接地的屏蔽电缆。如果不对这些连接使用屏蔽电缆,则电磁干扰会减弱信号。信号衰减会导致控制器或连接的模块和设备意外执行。

Warning_Color.gif警告

意外的设备操作

o对所有快速 I/O、模拟量 I/O 和通讯信号使用屏蔽电缆。

o对所有模拟量 I/O、快速 I/O 和通讯信号使用屏蔽电缆进行单点接地1

o将通讯和 I/O 电缆与电源电缆分开布线。

不遵循上述说明可能导致人员伤亡或设备损坏。

1如果连接至等电位接地面,以避免在出现电源系统短路电流时损坏电缆屏蔽层,则允许进行多点接地。

使用屏蔽电缆时,需要遵循以下接线规则:

o对于保护性接地连接 (PE),金属管道或导线可以作为部分屏蔽长度,前提是整个接地连接连贯无中断。对于功能性接地 (FE),使用屏蔽旨在减小电磁干扰,并且整条电缆的屏蔽必须连贯无中断。如果同时出于功能性和保护性目的(通讯电缆通常是这种情况),电缆的屏蔽必须连贯无中断。

o只要可能,应将不同类型信号或电源的电缆隔开。

下图显示带有屏蔽电缆的 TM5 系统:

G-SE-0001964.2.gif-high.gif

 

1   保护性接地 (PE)

2   功能性接地 (FE)

背板上的保护性接地 (PE)

保护性接地 (PE) 通过一根重型导线(通常是一个铜丝编织层电缆,横截面积为 6 平方毫米 (10 AWG) 或更大)连接到导电背板。

DIN 导轨上的功能性接地 (FE)

TM5 系统 的 DIN 导轨是功能性接地 (FE) 平面,必须始终安装在导电背板上。

Warning_Color.gif警告

意外的设备操作

将 DIN 导轨连接至安装设备的功能性接地 (FE)。

不遵循上述说明可能导致人员伤亡或设备损坏。

功能性接地 (FE) 与 TM5 系统 之间的连接通过控制器与扩展模块总线基板背面的 DIN 导轨触点来建立。

屏蔽电缆连接

承载快速 I/O、模拟量 I/O、网络和 现场总线通讯信号的电缆必须通过以下方式进行屏蔽。必须将屏蔽电缆牢固接地。快速 I/O 和模拟量 I/O 屏蔽可以通过 TM2XMTGB 接地板连接到系统的功能性接地 (FE) 或连接到保护性接地 (PE)。必须使用固定在安装的导电背板上的连接线夹将 现场总线通讯电缆屏蔽层连接到保护性接地 (PE)。

Danger_Color.gif危险

存在电击危险

确保 CANopen 和 Modbus 电缆牢固地连接到保护性接地 (PE)。

不遵循上述说明将导致人员伤亡。

Warning_Color.gif警告

从保护性接地 (PE) 意外断开连接

o请勿使用 TM2XMTGB 接地板提供保护性接地 (PE)。

o只使用 TM2XMTGB 接地板提供功能性接地 (FE)。

不遵循上述说明可能导致人员伤亡或设备损坏。

注意: 以太网连接的功能性接地为内部接地。

以下电缆的屏蔽层必须连接到保护性接地 (PE):

oCANopen

oModbus

功能性接地 (FE) 电缆屏蔽层

通过接地板连接电缆的屏蔽层:

步骤

描述

1

如图所示,将接地板直接安装在 TM5 系统 下面的导电背板上。

G-SE-0004795.2.gif-high.gif

 

 

2

将屏蔽层剥开 15 毫米(0.59 英寸)的长度

G-SE-0004794.1.gif-high.gif

 

 

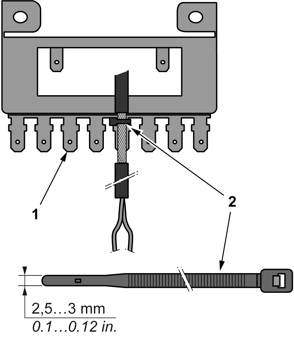
3

使用尼龙紧固件 (2)(宽度为 2.5 至 3 毫米(0.1 至 0.12 英寸))和相应工具夹紧固定刀片连接器 (1)

G-SE-0004796.2.gif-high.gif

 

 

保护性接地 (PE) 电缆屏蔽层

要通过接地夹头将电缆的屏蔽层接地,请执行以下操作:

步骤

描述

1

将屏蔽层剥开 15 mm(0.59 英寸)的长度

G-SE-0004794.1.gif-high.gif

 

 

2

通过将接地夹头与屏蔽层剥开的部分连接,将电缆连接到导电背板,尽可能靠近 TM5 系统 基板。

G-SE-0003362.1.gif-high.gif

 

 

注意: 必须将屏蔽层牢固地夹到导电背板,以帮助确保建立良好的接触。