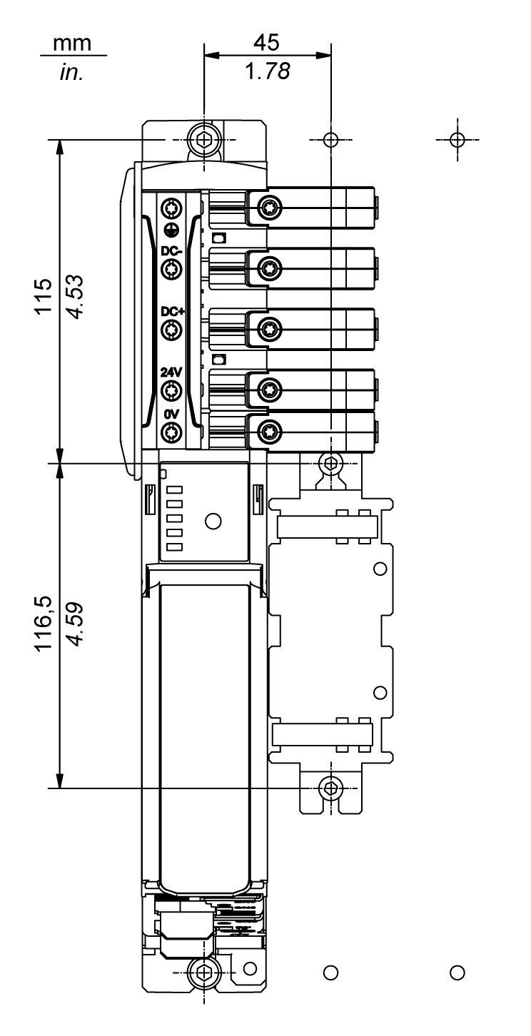
Freno de cable para las conexiones del Lexium 62 DC Link Terminal

Descripción general

Cuando se usan cables de alto calibre, es necesario utilizar un freno de cable para ayudar a reducir las fuerzas mecánicas que se derivan de la actuación de los cables sobre el Lexium 62 DC Link Terminal. El freno de cable viene incluido con el Lexium 62 DC Link Terminal.

Freno de cable que debe instalarse en la pared del armario eléctrico (viene incluido con el Lexium 62 DC Link Terminal).

Freno de cable sin bloque opcional de terminales de conexión de blindaje.

Freno de cable con conexión de blindaje opcional para cables con diámetros de entre 20 mm (0,79 in) y 35 mm (1,37 in.).

Montaje del freno de cable en el armario eléctrico

Es necesario realizar dos orificios para montar el freno de cable en el armario eléctrico:

Para montar el freno de cable del Lexium 62 DC Link Terminal, realice estas operaciones:

Paso

Acción

1

Monte el freno de cable (1) en la pared del armario eléctrico con dos tornillos M5.

También puede montarlo en una barandilla.

2

Fije los cables con abrazaderas para cables.

 PELIGRO
DESCARGA ELÉCTRICA
  • Asegúrese de que las bridas de cables sujeten bien los hilos/cables sobre el componente de freno de cable.
  • Asegúrese de que todas las fuerzas que actúan sobre los bornes y los hilos/cables conectados se minimicen.
Si no se siguen estas instrucciones, se producirán lesiones graves o la muerte.

Toma a tierra del bloque opcional de terminales de conexión de blindaje

El bloque de terminales de conexión de blindaje le permite conectar el blindaje del cable conductor eléctrico a la toma de tierra de protección (PE) con un freno de cable atornillado en la pared posterior del armario eléctrico.

NOTA: Use un cable blindado para la conexión de las islas de dispositivos Lexium 62 situadas en armarios eléctricos separados.

Paso

Acción

1

Monte el freno de cable en una superficie de metal conectada a tierra.

2

Si utiliza un cable blindado con un diámetro de cable de entre 20 mm (0,79 in) y 35 mm (1,37 in), conecte el blindaje del cable a tierra instalando el freno de cable con un bloque de terminales de conexión de blindaje (3). Para ello, la cubierta del cable debe estar pelada 40 mm (1,57 in) como mínimo para sujetar el blindaje del cable.