Installation

Vibrations et chocs

Une attention toute particulière doit être portée aux niveaux de vibrations lors de l'installation ou du déplacement de l'unité S-Panel PC et Enclosed PC. Si vous déplacez l'unité S-Panel PC et Enclosed PC lors de son installation dans un rack équipé de roulettes, cela peut engendrer un niveau excessif de vibrations et de chocs.

Caution_Color.gifATTENTION

VIBRATIONS EXCESSIVES

oDans le cadre de la préparation en vue de l'installation, tenez compte des tolérances de l'unité en matière de chocs et de vibrations et veillez à ne pas les dépasser.

oAssurez-vous que l'ouverture et l'épaisseur du panneau d'installation respectent les tolérances spécifiées.

oAvant de monter l'unité Magelis Industrial PC dans une armoire ou sur un panneau, vérifiez que le joint d'installation est bien en place. Le joint d'installation assure une protection complémentaire contre les vibrations.

oSerrez les fixations de montage avec un couple de serrage de 0,5 Nm (4,5 lb-in).

Le non-respect de ces instructions peut provoquer des blessures ou des dommages matériels.

Joint d'installation

Le joint est nécessaire pour atteindre l'indice de protection (IP••/Type 4X indoor) pour l'unité S-Panel PC. Il assure une protection complémentaire contre les vibrations.

NOTE : L'indice IP••/Type 4X indoor (Type 4) ne fait pas partie de la certification UL.

Caution_Color.gifATTENTION

PERTE D'ETANCHEITE

oVérifiez l'état du joint avant toute opération d'installation ou de réinstallation, et aussi souvent que nécessaire dans l'environnement de fonctionnement.

oRemplacez toute l'unité Magelis Industrial PC si les vérifications mettent en évidence la présence de rayures, de déchirures ou de saleté, ou encore des signes d'usure excessive.

oN'étirez pas le joint inutilement et empêchez le contact avec les angles et les bords du châssis.

oVérifiez que le joint est correctement mis en place dans la rainure d'installation.

oInstallez l'unité Magelis Industrial PC sur une surface plate, sans bosses ni rayures.

oSerrez les fixations de montage avec un couple de serrage de 0,5 Nm (4,5 lb-in).

Le non-respect de ces instructions peut provoquer des blessures ou des dommages matériels.

Installation de l'unité S-Panel PC

Le joint d'installation et les dispositifs de fixation sont nécessaires pour effectuer la procédure d'installation simplifiée de l'unité S-Panel PC. Le montage sur panneau peut être réalisé par une seule personne en suivant la procédure d'installation simplifiée.

NOTE : Pour faciliter l'installation de S-Panel PC, l'épaisseur maximale recommandée du panneau de montage 2 mm (0,079 in).

Etape

Action

1

Vérifiez que le joint est correctement fixé à l'S-Panel PC.

NOTE : Lors du contrôle du joint, évitez tout contact avec les bords du châssis de l'S-Panel PC et insérez entièrement le joint dans la rainure.

2

Retirez les 2 vis de la partie inférieure de l'unité S-Panel PC :

G-SE-0038741.1.gif-high.gif

 

 

3

Desserrez le 2 vis cruciformes situées dans la partie supérieure de l'unité S-Panel PC pour soulever le crochet :

G-SE-0038232.2.gif-high.gif

 

 

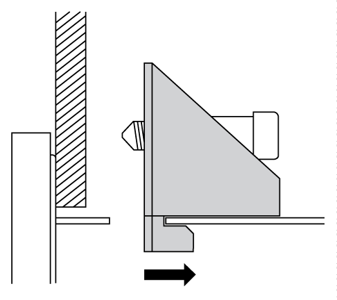
4

Installez l'unité S-Panel PC dans l'ouverture du panneau et enfoncez-la dans le mur. Le crochet maintient l'unité S-Panel PC contre le mur :

G-SE-0038233.3.gif-high.gif

 

 

5

Placez correctement les 10 fixations dans les emplacements de l'unité S-Panel PC :

G-SE-0038577.2.gif-high.gif

 

 

6

Insérez chaque fixation à l'emplacement approprié et tirez dessus pour l'encastrer à l'arrière du trou de fixation :

G-SE-0038736.1.gif-high.gif

 

 

G-SE-0038737.1.gif-high.gif

 

 

7

Serrez toutes les vis cruciformes des fixations de façon à maintenir l'unité S-Panel PC bien en place :

G-SE-0038738.1.gif-high.gif

 

 

NOTE : Pour garantir un niveau d'étanchéité élevé, utilisez un couple de serrage de 0,5 Nm (4,5 lb-in).

8

L'angle d'inclinaison de l'unité ne doit pas dépasser la valeur définie dans les spécifications de l'orientation lors du montage.

Caution_Color.gifATTENTION

ELEMENTS TROP SERRES ET DESSERRES

oNe dépassez pas un couple de serrage de 0,5 Nm (4,5 lb-in) lorsque vous serrez les fixations et les vis de l'enceinte, des accessoires ou du bornier. Un serrage excessif des vis peut endommager les fixations de montage.

oLorsque vous vissez ou retirez des vis, veillez à ce qu'elles ne tombent pas dans le châssis du Magelis Industrial PC.

Le non-respect de ces instructions peut provoquer des blessures ou des dommages matériels.

NOTE : Les dispositifs de fixation sont nécessaires pour la protection IP••/Type 4X indoor. L'indice IP••/Type 4X indoor (Type 4) ne fait pas partie de la certification UL.

Installation de l'unité Enclosed PC à l'aide du kit de montage VESA

 

Etape

Action

1

Fixez le kit de montage VESA à l'arrière de l'unité Enclosed PC :

G-SE-0042615.1.gif-high.gif

 

1   Position de la plaque VESA (100 x 100 mm)

2   4 vis de montage VESA pour la fixation

2

L'angle d'inclinaison de l'unité ne doit pas dépasser la valeur définie dans les spécifications de l'orientation lors du montage.

G-SE-0043251.1.gif-high.gif