Istruzioni per l'installazione

Introduzione

Il Sistema TM7 può essere montato:

outilizzando un telaio in alluminio con due dadi cuneiformi e viti M4

outilizzando una guida DIN con piastra di montaggio TM7ACMP

odirettamente sulla macchina.

NOTA: Il montaggio su una guida DIN con la piastra di montaggio TM7ACMP è possibile solo con blocchi di dimensioni 1 (i più piccoli).

NOTA: I componenti Sistema TM7 devono essere sempre montati su un backplane conduttivo.

Blocco TM7 su un telaio in alluminio

I blocchi possono essere montati su un telaio in alluminio con due dadi cuneiformi e viti M4:

G-SE-0008970.1.gif

 

 

NOTA: La coppia massima per il serraggio delle viti M4 è di 0,6 N.m (5.3 lbf-in).

AVVISO

APPARECCHIATURA NON FUNZIONANTE

oAccertarsi che il blocco sia fissato saldamente sulla superficie di montaggio.

oNon serrare le viti oltre la coppia massima specificata.

Il mancato rispetto di queste istruzioni può provocare danni alle apparecchiature.

Blocco TM7 su una guida a DIN

È possibile montare i blocchi di dimensioni 1 su una guida DIN con la piastra di montaggio TM7ACMP. Per garantire la compatibilità elettromagnetica (EMC), una guida metallica DIN deve essere fissata su una superficie di montaggio metallica piatta o montata su un rack EIA (Electronic Industries Alliance) o in un cabinet NEMA (National Electrical Manufacturers Association). In ogni caso la superficie di montaggio deve essere adeguatamente messa a terra.

Una guida DIN appropriata può essere ordinata a Schneider Electric:

G-SE-0000992.1.gif-high.gif

 

 

NOTA: Solo i blocchi di dimensioni 1 (i più piccoli) possono essere installati su una guida DIN con la piastra di montaggio.

La procedura seguente fornisce istruzioni dettagliate per assemblare e installare un blocco su una guida DIN:

Passo

Azione

1

Avvitare il blocco alla piastra di montaggio. Le viti richieste sono fornite con la piastra di montaggio.

NOTA: La coppia massima per il serraggio delle viti richieste è di 0,6 Nm (5.3 lbf-in).

G-SE-0008185.1.gif

 

 

2

Posizionare le linguette sporgenti superiori della piastra di montaggio sul lato superiore della guida DIN (1).

Ruotare il blocco sulla guida DIN finché non scatta in posizione (2).

G-SE-0008186.1.gif

 

 

3

Il blocco è installato correttamente sulla guida DIN

G-SE-0008184.1.gif

 

 

AVVISO

APPARECCHIATURA NON FUNZIONANTE

oAccertarsi che il blocco sia fissato saldamente sulla superficie di montaggio.

oNon serrare le viti oltre la coppia massima specificata.

Il mancato rispetto di queste istruzioni può provocare danni alle apparecchiature.

Per maggiori informazioni sul montaggio della guida DIN fare riferimento a Installazione della sezione TM5 su guida DIN.

Installazione del blocco TM7 direttamente sulla macchina

Il blocco TM7 può essere montato su qualsiasi superficie di macchina di metallo nudo, a condizione che tale superficie sia adeguatamente messa a terra. Per montare il blocco direttamente sulla macchina, fare riferimento alla figura seguente che mostra il modello di foratura dei blocchi:

G-SE-0006790.2.gif-high.gif

 

(1)   Blocco dimensione 1

(2)   Blocco dimensione 2

Per definire la lunghezza delle viti è opportuno tenere in considerazione lo spessore della piastra di base.

G-SE-0006529.1.gif

 

 

NOTA: La coppia massima per il serraggio delle viti M4 è di 0,6 Nm (5.3 lbf-in).

AVVISO

APPARECCHIATURA NON FUNZIONANTE

oAccertarsi che il blocco sia fissato saldamente sulla superficie di montaggio.

oNon serrare le viti oltre la coppia massima specificata.

Il mancato rispetto di queste istruzioni può provocare danni alle apparecchiature.

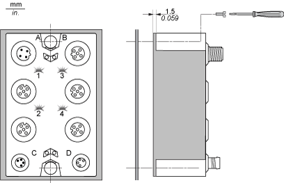
Installazione dei cavi TM7

Il connettore dei cavi TM7 è montato manualmente e quindi serrato a una forza definita con l'ausilio della chiave tarata:

G-SE-0008969.1.gif

 

 

Dimensioni dei connettori

Coppia

M8

0,2 Nm (1.8 lbf-in)

M12

0,4 Nm (3.5 lbf-in)

Warning_Color.gifAVVERTIMENTO

NON CONFORMITÀ IP67

oDotare tutti i connettori di cavi o tappi ermetici e serrarli per garantire la protezione IP67 rispettando i valori di coppia specificati in questo documento.

oNon collegare o scollegare i cavi o i tappi ermetici in presenza di acqua o umidità.

Il mancato rispetto di queste istruzioni può provocare morte, gravi infortuni o danni alle apparecchiature.

Installazione dei tappi ermetici

I connettori aperti non utilizzati per il collegamento di cavi vengono chiusi con tappi ermetici adeguati:

G-SE-0008971.1.gif

 

 

Dimensioni dei connettori

Coppia

M8

0,2 Nm (1.8 lbf-in)

M12

0,4 Nm (3.5 lbf-in)

Warning_Color.gifAVVERTIMENTO

NON CONFORMITÀ IP67

oDotare tutti i connettori di cavi o tappi ermetici e serrarli per garantire la protezione IP67 rispettando i valori di coppia specificati in questo documento.

oNon collegare o scollegare i cavi o i tappi ermetici in presenza di acqua o umidità.

Il mancato rispetto di queste istruzioni può provocare morte, gravi infortuni o danni alle apparecchiature.

Etichettatura del blocco TM7

Il supporto dell'etichetta del blocco e l'etichetta stessa vengono inseriti nell'apertura appropriata situata nella parte superiore (vedere figura) o inferiore del blocco:

G-SE-0009931.2.gif-high.gif

 

1   Codice prodotto del blocco

2   Area per il cliente