TM3XFHSC202/TM3XFHSC202G 接线图

简介

这些扩展模块具有用于连接输出和电源的内置可插拔螺钉或卡簧端子块。

接线规则

请参阅接线优化方法

接线图

下图显示输入的接线:

G-SE-0072112.2.gif-high.gif

 

*   T 型熔断器

Warning_Color.gif警告

意外的设备操作

确保物理接线按照接线图中所示的连接来进行。具体地讲,连接 24V 端子,仅 24 Vdc 连接到 24V 端子,仅 0 Vdc 连接到 0V 端子。

不遵循上述说明可能导致人员伤亡或设备损坏。

下图显示输出的接线:

G-SE-0072113.2.gif-high.gif

 

*   针对负载使用适当的 T 型熔断器,规格不超过 3 A。

编码器接线

下图显示编码器接线:

G-SE-0072094.1.gif-high.gif

 

**   请参阅编码器文档,了解有关保险丝尺寸调整的信息。

注意:

必须将编码器的输出 GND 连接到与 A 和 B 所连接的输入组相对应的 COM 端子:

oI0...I4: COM0

oI5...I9: COM1

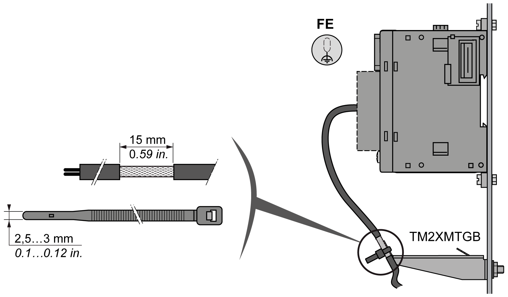
接地

下图显示如何将螺钉端子连接到功能性接地点:

G-SE-0072097.2.gif-high.gif

 

(1)   功能性接地 (FE)

如果扭矩超过上述限制可能会损坏端子螺钉或螺纹。

注意

设备无法操作

请勿使用超过为此端子指定的最大扭矩(牛米/磅-英寸)来拧紧螺钉端子。

不遵循上述说明可能导致设备损坏。

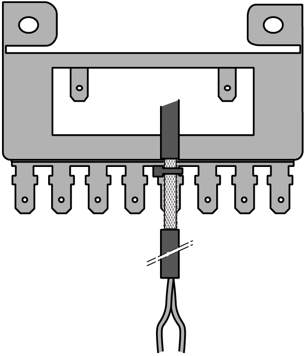
下图显示如何将输入和输出电缆屏蔽连接到功能性接地点:

G-SE-0072109.1.gif-high.gif

 

 

G-SE-0072096.1.gif-high.gif

 

 

注意: 电源接线必须尽可能短。