Erdung des M241-Systems

Überblick

Zur Begrenzung der Folgen elektromagnetischer Störungen müssen die Signalübertragungskabel für die Kommunikation der schnellen E/A, der analogen E/A und des Feldbusses abgeschirmt werden.

Warning_Color.gifWARNUNG

UNBEABSICHTIGTER GERÄTEBETRIEB

oVerwenden Sie geschirmte Kabel für schnelle E/A-, analoge E/A- und Kommunikationssignale.

oErden Sie die geschirmten Kabel für die Übertragung von analogen E/A-, schnellen E/A- und Kommunikationssignalen an einem Punkt.1.

oVerlegen Sie Kommunikations- und E/A-Kabel von den Stromkabeln getrennt.

Die Nichtbeachtung dieser Anweisungen kann Tod, schwere Verletzungen oder Sachschäden zur Folge haben.

1 Eine Erdung an mehreren Punkten ist zulässig, wenn Verbindungen zu einer äquipotenzialen Erdungsplatte hergestellt werden, deren Abmessungen eine Beschädigung der Kabelschirme bei Kurzschlussströmen im Leistungssystem verhindern.

Die Verwendung geschirmter Kabel erfordert die Einhaltung der folgenden Verdrahtungsregeln:

oFür die Verbindungen mit der Schutzerde (PE) können Kabelkanäle oder Kabelrohre aus Metall für einen Teil der Schildlänge verwendet werden, sofern die Kontinuität der Masse nicht unterbrochen wird. Für die Funktionserde (FE) soll die Schirmung elektromagnetische Störungen abschwächen und muss deshalb über die gesamte Länge des Kabels ohne Unterbrechung fortlaufen. Wenn sowohl eine Funktions- als auch eine Schutzerde gewährleistet werden muss, was häufig bei Kommunikationskabeln der Fall ist, dann ist eine kontinuierliche, unterbrechungsfreie Kabelschirmung erforderlich.

oSofern möglich, sind die Kabel zur Übertragung eines Signaltyps separat von den Übertragungskabeln anderer Signaltypen bzw. von den Spannungskabeln zu verlegen.

Schutzerde (PE) des Baugruppenträgers

Die Schutzerde (PE) sollte über einen hoch belastbaren Leiter an den leitfähigen Baugruppen­träger angelegt werden, in der Regel über ein geflochtenes Kupferlitzenkabel mit der maximal zulässigen Kabelstärke.

Anschluss geschirmter Kabel

Die Signalübertragungskabel für die Kommunikation der schnellen E/A, der analogen E/A und des Feldbusses müssen geschirmt werden. Für die Schirmung ist eine sichere Erdung zu gewährleisten. Die Schirmung der schnellen und analogen E/A kann entweder mit der Funktionserde (FE) oder mit der Schutzerde (PE) des M241 Logic Controller verbunden werden. Die Schirme der Feldbus-Kommunikationskabel müssen mithilfe einer Verbindungsklammer mit der Schutzerde (PE) verbunden werden. Die Klammer ist dazu sicher an der leitfähigen Backplane der Installation anzubringen.

Warning_Color.gifWARNUNG

VERSEHENTLICHE TRENNUNG VON DER SCHUTZERDE (PE)

oVerwenden Sie die Erdungsplatte TM2XMTGB nicht zur Bereitstellung einer Schutzerde (PE).

oVerwenden Sie die TM2XMTGB-Erdungsplatte nur zur Bereitstellung einer Funktionserde (FE).

Die Nichtbeachtung dieser Anweisungen kann Tod, schwere Verletzungen oder Sachschäden zur Folge haben.

Die Schirmung der Modbus-Kabel muss mit der Schutzerde (PE) verbunden werden.

DangerElectrical_Color.gifDanger_Color.gifGEFAHR

GEFAHR EINES ELEKTRISCHEN SCHLAGS

oDie Erdungsklemmenverbindung (PE) muss verwendet werden, um eine permanente Schutzerdung zu gewährleisten.

oStellen Sie sicher, dass ein geflochtenes Erdungskabel an die PE/PG-Erdungsklemme angeschlossen ist, bevor Sie das Netzwerkkabel an Geräte anschließen bzw. davon trennen.

Die Nichtbeachtung dieser Anweisungen führt zu Tod oder schweren Verletzungen.

Anschluss der Kabelschirmung an die Schutzerde (PE)

Schritt

Beschreibung

1

Manteln Sie die Schirmung über eine Länge von 15 mm (0.59 in.) ab.

G-SE-0004794.1.gif-high.gif

 

 

2

Befestigen Sie das Kabel am leitenden Baugruppenträger, indem Sie die Erdungsklemme am abgemantelten Teil der Schirmung so nah wie möglich an der M241 Logic Controller-Systembasis anbringen.

G-SE-0029402.1.gif-high.gif

 

 

HINWEIS: Die Schirmung muss sicher mit dem leitenden Baugruppenträger verklammert werden, damit ein guter Kontakt hergestellt wird.

Anschluss der Kabelschirmung an die Funktionserde (FE)

Schritt

Beschreibung

1

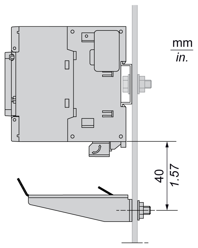
Montieren Sie die Erdungsleiste direkt am leitenden Baugruppenträger unter dem M241 Logic Controller-System (siehe Abbildung).

G-SE-0029403.1.gif-high.gif

 

 

2

Manteln Sie die Schirmung über eine Länge von 15 mm (0.59 in.) ab.

G-SE-0004794.1.gif-high.gif

 

 

3

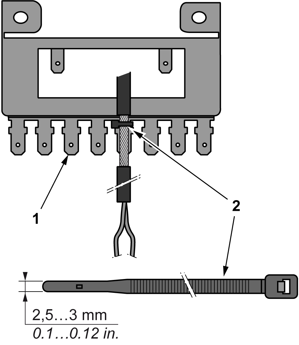
Bringen Sie den Zungenkontakt (1) mittels einer Nylon-Befestigung (2)(Breite 2,5 – 3 mm (0.1 – 0.12 in.)) und unter Verwendung geeigneten Werkzeugs sicher an.

G-SE-0004796.2.gif-high.gif

 

 

HINWEIS: Verwenden Sie die Erdungsleiste TM2XMTGB für die Verbindungen mit der Funktionserde (FE).