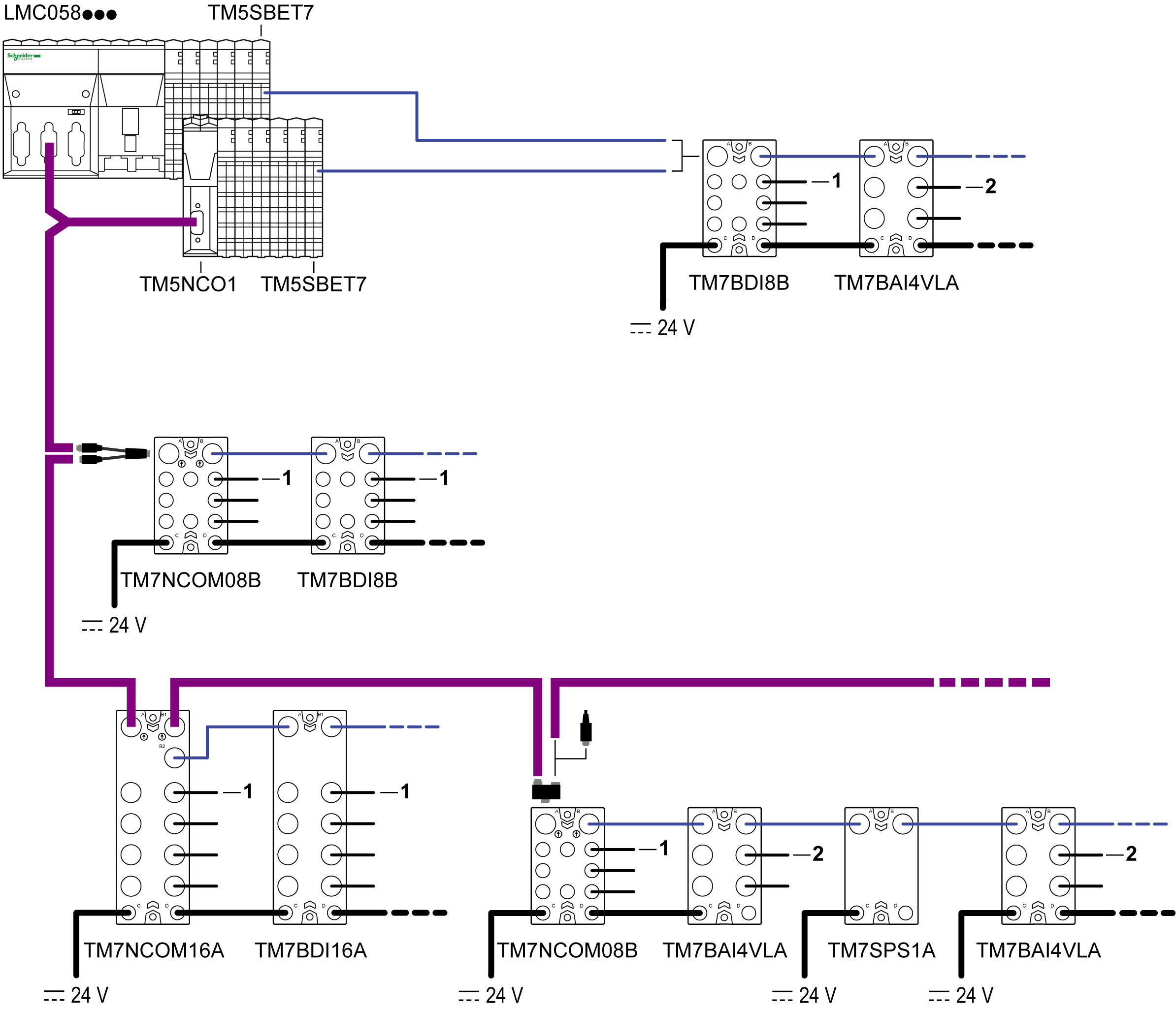
The sensor cables are used to:
oConnect the sensors to the analog inputs of the TM7 I/O blocks
oConnect the actuators to the analog outputs of the TM7 I/O blocks
oConnect the fast digital signals to the fast inputs or outputs of the TM7 I/O blocks
The following figure shows sensor cables used in TM5/TM7 configurations:
1 Sensor cable for TM7 field bus interface I/O block and TM7 digital I/O block
2 Sensor cable for TM7 analog I/O block
Length |
Short Description, Reference |
|||
---|---|---|---|---|
M 12 Cable for Analog I/O |
M 12 Cable for Digital I/O |
M 8 Cable for Digital I/O |
||
0.5 m (1.6 ft) |
– |
– |
XZ CP1564L05 |
XZ CP2737L05 |
1 m (3.3 ft) |
– |
– |
XZ CP1564L1 |
XZ CP2737L1 |
2 m (6.6 ft) |
TCSXCN2M2SA |
TCSXCN1M2SA |
XZ CP1564L2 |
XZ CP2737L2 |
5 m (16.4 ft) |
TCSXCN2M5SA |
TCSXCN1M5SA |
– |
– |
15 m (49.2 ft) |
TCSXCN2M15SA |
TCSXCN1M15SA |
– |
– |
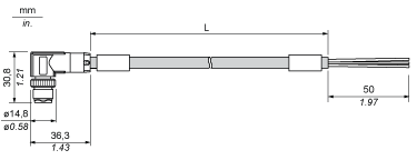
Dimensions and Pin Assignment |
![]()
|
![]()
|
![]()
|
![]()
|
TCSXCN2M••SA and TCSXCN1M••SA Cable Characteristics
The table below describes the characteristics of the individual wire of the cable:
Characteristics |
Specifications |
---|---|
Conductor cross section (gauge) |
0.34 mm2 (AWG 22) |
Material insulation |
Polypropylene (PP) |
Material filler |
Polyethylene (PE) |
Core diameter including insulation |
1.27 mm (0.05 in.) ± 0.02 mm (0.0008 in.) |
Electrical resistance (at 20 °C (68 °F)) |
≤ 0.058 Ω/m (0.018 Ω/ft) |
Insulation resistance (at 20 °C (68 °F)) |
≥ 100 GΩ*km (328 TΩ*ft) |
Nominal voltage |
300 V |
Test voltage conductor |
3000 Vdc x 1 s |
The table below describes the general characteristics of the cable:
Characteristics |
Specification |
|
---|---|---|
Cable type |
Special PUR black shielded |
|
Conductor material |
Bare Cu litz wires |
|
Shield |
Braided copper wires |
|
External cable diameter |
5.9 mm (0.23 in.) |
|
Minimum curve radius |
59 mm (2.32 in.) |
|
Wire colors |
Brown, white, blue, black, gray |
|
External sheath, color |
Black-gray RAL 7021 |
|
Cable weight |
48 kg/km (1.55 lb/ft) |
|
Number of bending cycles |
4 million |
|
Traversing path |
10 m (32.8 ft) |
|
Traversing rate |
3 m/s (9.8 ft/s) |
|
Acceleration |
10 m/s2 (32.8 ft/s2) |
|
M12 fastening torque |
Maximum 0.4 Nm (3.5 lbf-in) |
The following table lists the environmental characteristics of the cable:
Characteristics |
Specification |
---|---|
Operating temperature |
– 5...80 °C (23...176 °F) |
Storage temperature |
– 40...80 °C (– 40...176 °F) |
Special properties |
Flexible cable conduit capable |
Silicone-free |
|
Free of substances which would hinder coating with paint or varnish |
|
Flame resistance |
As per UL-Style 20549 |
Freedom from halogen |
As per DIN VDE 0472 part 815 |
Resistance to oil |
Complying with DIN EN 60811-2-1 |
Other resistance |
Resistant to acids, alkaline solutions and solvents |
Hydrolysis and microbe resistant |
|
WEEE/RoHS |
Compliant |
XZ CP1564L•• Cable Characteristics
The following table describes the characteristics of the individual wire of the cable:
Characteristics |
Specifications |
---|---|
Conductor cross section (gauge) |
4 x 0.34 mm2 (AWG 22) and 1 x 0.5 mm2 (AWG 20) |
Material insulation |
PVC |
Insulation resistance (at 20 °C (68 °F)) |
> 1 GΩ |
Nominal current |
4 A |
Nominal voltage |
30 Vac, 36 Vdc |
Contact resistance |
≤ 5 mΩ |
Insulation voltage |
2500 Vdc |
The following table lists the general characteristics of the cable:
Characteristics |
Specification |
|
---|---|---|
Cable type |
Special PUR black shielded |
|
External cable diameter |
5.2 mm (0.20 in.) |
|
Minimum curve radius |
52 mm (2.05 in.) |
|
Wire colors |
Brown, black/white, blue, black, yellow/green |
|
External sheath, color |
Black |
|
Cable weight |
XZ CP1564L05 |
0.040 kg (0.09 lb) |
XZ CP1564L1 |
0.065 kg (0.14 lb) |
|
XZ CP1564L2 |
0.115 kg (0.25 lb) |
|
Tensile strength |
20...45 N/mm2 (2901...6527 lbf/in2) |
|
M12 fastening torque |
Maximum 0.4 Nm (3.5 lbf-in) |
The following table lists the environmental characteristics of the cable:
Characteristics |
Specification |
---|---|
Operating temperature |
–5...90 °C (23...194 °F) |
Storage temperature |
–35...100 °C (–31...212 °F) |
Special properties |
Flexible cable conduit capable |
Silicone-free |
|
Without unmoulding agent |
|
Flame resistance |
C2 conforming to NF C 32-070 |
Freedom from halogen |
As per DIN VDE 0472 part 815 |
Other resistance |
Resistant to soluble, mineral or synthetic oil at 90 °C (194 °F) |
WEEE/RoHS |
Compliant |
XZ CP2337L•• Cable Characteristics
The following table describes the characteristics of the individual wire of the cable:
Characteristics |
Specifications |
---|---|
Conductor cross section (gauge) |
0.34 mm2 (AWG 22) |
Material insulation |
PVC |
Insulation resistance (at 20 °C (68 °F)) |
> 1 GΩ |
Nominal current |
4 A |
Nominal voltage |
60 Vac, 75 Vdc |
Contact resistance |
≤ 5 mΩ |
Insulation voltage |
2500 Vdc |
The following table lists the general characteristics of the cable:
Characteristics |
Specification |
|
---|---|---|
Cable type |
Special PUR black shielded |
|
External cable diameter |
5.2 mm (0.20 in.) |
|
Minimum curve radius |
52 mm (2.05 in.) |
|
Wire colors |
Brown, blue, black |
|
External sheath, color |
Black |
|
Cable weight |
XZ CP2737L05 |
0.030 kg (0.07 lb) |
XZ CP2737L1 |
0.050 kg (0.11 lb) |
|
XZ CP2737L2 |
0.080 kg (0.18 lb) |
|
Tensile strength |
20...45 N/mm2 (2901...6527 lbf.in2) |
|
M8 fastening torque |
Maximum 0.2 Nm (1.8 lbf-in) |
The following table lists the environmental characteristics of the cable:
Characteristics |
Specification |
---|---|
Operating temperature |
–5...90 °C (23...194 °F) |
Storage temperature |
–35...100 °C (–31...212 °F) |
Special properties |
Flexible cable conduit capable |
Silicone-free |
|
Without unmoulding agent |
|
Flame resistance |
C2 conforming to NF C 32-070 |
Freedom from halogen |
As per DIN VDE 0472 part 815 |
Other resistance |
Resistant to soluble, mineral or synthetic oil at 90 °C (194 °F) |
WEEE/RoHS |
Compliant |
TCSXCN2M••SA Dimensions and Pin Assignment
Dimensions |
|||
---|---|---|---|
![]()
|
|||
L length as a function of the particular reference |
Pin Assignment |
|||
---|---|---|---|
Male Connector |
Pin |
Designation |
Wire Color |
![]()
|
1 |
For pin assignment, refer to the wiring diagrams of the Modicon TM7 Analog I/O Blocks Hardware Guide. |
Brown |
2 |
White |
||
3 |
Blue |
||
4 |
Black |
||
5 |
Gray |
||
M121 |
SHLD |
||
1 Shielding 360 ° around M12 knurled screw |
TCSXCN1M••SA Dimensions and Pin Assignment
Dimensions |
|||
---|---|---|---|
![]()
|
|||
L length as a function of the particular reference |
Pin Assignment |
|||
---|---|---|---|
Male Connector |
Pin |
Designation |
Wire Color |
![]()
|
1 |
For pin assignment, refer to the wiring diagrams of the Modicon TM7 Analog I/O Blocks Hardware Guide. |
Brown |
2 |
White |
||
3 |
Blue |
||
4 |
Black |
||
5 |
Gray |
||
M121 |
SHLD |
||
1 Shielding 360 ° around M12 knurled screw |
XZ CP1564L•• Dimensions and Pin Assignment
Dimensions |
|||
---|---|---|---|
![]()
|
|||
L length as a function of the particular reference |
Pin Assignment |
|||
---|---|---|---|
Male Connector |
Pin |
Designation |
Wire Color |
![]()
|
1 |
For pin assignment, refer to the wiring diagrams of the Modicon TM7 Digital I/O Blocks Hardware Guide or Modicon TM7 CANopen I/O Blocks Hardware Guide. |
Brown |
2 |
Black / White |
||
3 |
Blue |
||
4 |
Black |
||
5 |
Yellow / Green |
XZ CP2737L•• Dimensions and Pin Assignment
Dimensions |
|||
---|---|---|---|
![]()
|
|||
L length as a function of the particular reference |
Pin Assignment |
|||
---|---|---|---|
Male Connector |
Pin |
Designation |
Wire Color |
![]()
|
1 |
For pin assignment, refer to the wiring diagrams of the Modicon TM7 Digital I/O Blocks Hardware Guideor Modicon TM7 CANopen I/O Blocks Hardware Guide. |
Brown |
3 |
Blue |
||
4 |
Black |