Diagrama de cableado de TM3XFHSC202/TM3XFHSC202G

Introducción

Estos módulos de ampliación tienen un bloque de terminales de tornillo o resorte extraíble para la conexión de las salidas y la fuente de alimentación.

Normas de cableado

Consulte la sección Prácticas recomendadas relativas al cableado.

Diagrama de cableado

En el diagrama siguiente se muestra el cableado de las entradas:

G-SE-0072112.2.gif-high.gif

 

*   Fusible tipo T

Warning_Color.gifADVERTENCIA

FUNCIONAMIENTO IMPREVISTO DEL EQUIPO

Asegúrese de que el cableado físico respete las conexiones indicadas en el diagrama de cableado. En particular, que el terminal 24V esté conectado, que el terminal 24V esté conectado únicamente a una alimentación de 24 V CC y que el terminal 0V esté conectado únicamente a una alimentación de 0 V CC.

El incumplimiento de estas instrucciones puede causar la muerte, lesiones serias o daño al equipo.

En el diagrama siguiente se muestran las salidas del cableado:

G-SE-0072113.2.gif-high.gif

 

*   Conecte un fusible adecuado de tipo T para la carga, que no supere los 3 A.

Cableado del codificador

En el diagrama siguiente se muestra el cableado del codificador:

G-SE-0072094.1.gif-high.gif

 

**   Consulte la documentación del codificador para dimensionar los fusibles

NOTA:

Deberá conectar la salida GND del codificador al terminal COM que corresponda al grupo de entradas al que se encuentran conectados A y B:

oI0...I4: COM0

oI5...I9: COM1

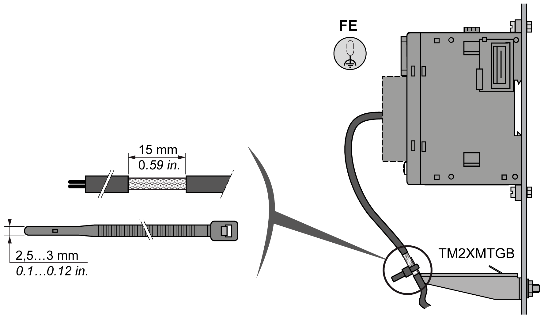
Conexión a tierra

En el diagrama siguiente se muestra cómo cablear el tornillo a la conexión a tierra funcional:

G-SE-0072097.2.gif-high.gif

 

(1)   Conexión a tierra funcional (FE)

La aplicación del par por encima del límite puede dañar las roscas y los tornillos de los terminales.

AVISO

EQUIPO INOPERATIVO

No apriete los bornes de tornillo más allá del par de apriete máximo indicado (Nm / lb-in).

El incumplimiento de estas instrucciones puede causar daño al equipo.

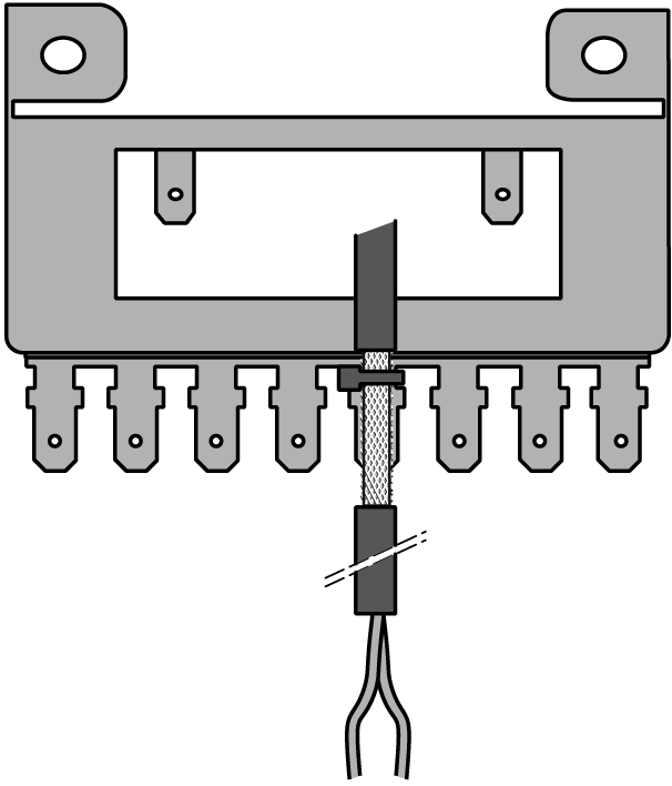
En el diagrama siguiente se muestra cómo conectar el blindaje del cable de entrada y salida a la conexión a tierra funcional:

G-SE-0072109.1.gif-high.gif

 

 

G-SE-0072096.1.gif-high.gif

 

 

NOTA: Debe mantenerse la longitud mínima posible del cableado de la fuente de alimentación.