Procédures d'installation

Installation du HMISCU Controller

Pour exécuter une application correctement sur la SCU Magelis, le module d'affichage et le module arrière doivent être connectés.

Warning_Color.gifAVERTISSEMENT

RISQUE D'EXPLOSION

oNe pas connecter ou déconnecter l'équipement lorsque le circuit est sous tension.

oRisque de charge électrostatique potentielle : essuyer le panneau avant du terminal avec un chiffon humide avant de l'allumer.

Le non-respect de ces instructions peut provoquer la mort, des blessures graves ou des dommages matériels.

Si vous mettez le module arrière sous tension sans connecter le module d'affichage, le contrôleur logique ne démarre pas et toutes les sorties conservent leur état initial. Vous devez couper l'alimentation avant de connecter les modules.

Il existe 2 modes d'installation du HMISCU.

Installation du HMISCU sur le panneau :

G-SE-0021340.1.gif-high.gif

 

 

Installation du module arrière sur un rail DIN avec un câble de séparation entre module d'affichage et module arrière :

G-SE-0021339.1.gif-high.gif

 

 

Procédure d'installation du HMISCU

Montez l'unité dans un boîtier assurant un environnement propre, sec, robuste et contrôlé (boîtier IP65 ou UL508 4x, à l'intérieur). 

Avant d'installer le HMISCU vérifiez que :

oLe panneau d'installation ou la surface de l'armoire est plan (tolérance de planéité : 0,5 mm (0,019 po)), en bon état et sans irrégularité sur les bords. Des bandes métalliques de renforcement peuvent être fixées à l'intérieur du panneau, à proximité de la découpe, pour en augmenter la robustesse.

oLe panneau est conçu pour éviter la résonance de vibration induite sur le module arrière au-delà d'un facteur ponctuel de 10 et empêche toute résonance de vibration permanente induite.

Pour réduire la résonance, utilisez l'accessoire adaptateur de panneau.

oLa température et l'humidité ambiantes de fonctionnement sont comprises dans les plages spécifiées. (Lorsque le panneau est installé dans un boîtier ou une armoire, la température ambiante de fonctionnement est celle qui règne à l'intérieur du boîtier ou de l'armoire.)

oLa chaleur dégagée par les équipements environnants ne fait pas dépasser à l'unité sa température de fonctionnement spécifiée.

oLorsque le module d'affichage est installé en position horizontale, l'écran doit être au-dessus :

G-SE-0021222.2.gif-high.gif

 

oLa face du panneau n'est pas inclinée de plus de 30° en cas d'installation de l'unité dans un panneau incliné :

G-SE-0021172.2.gif-high.gif

oLa fiche d'alimentation est positionnée verticalement quand l'unité est installée verticalement.

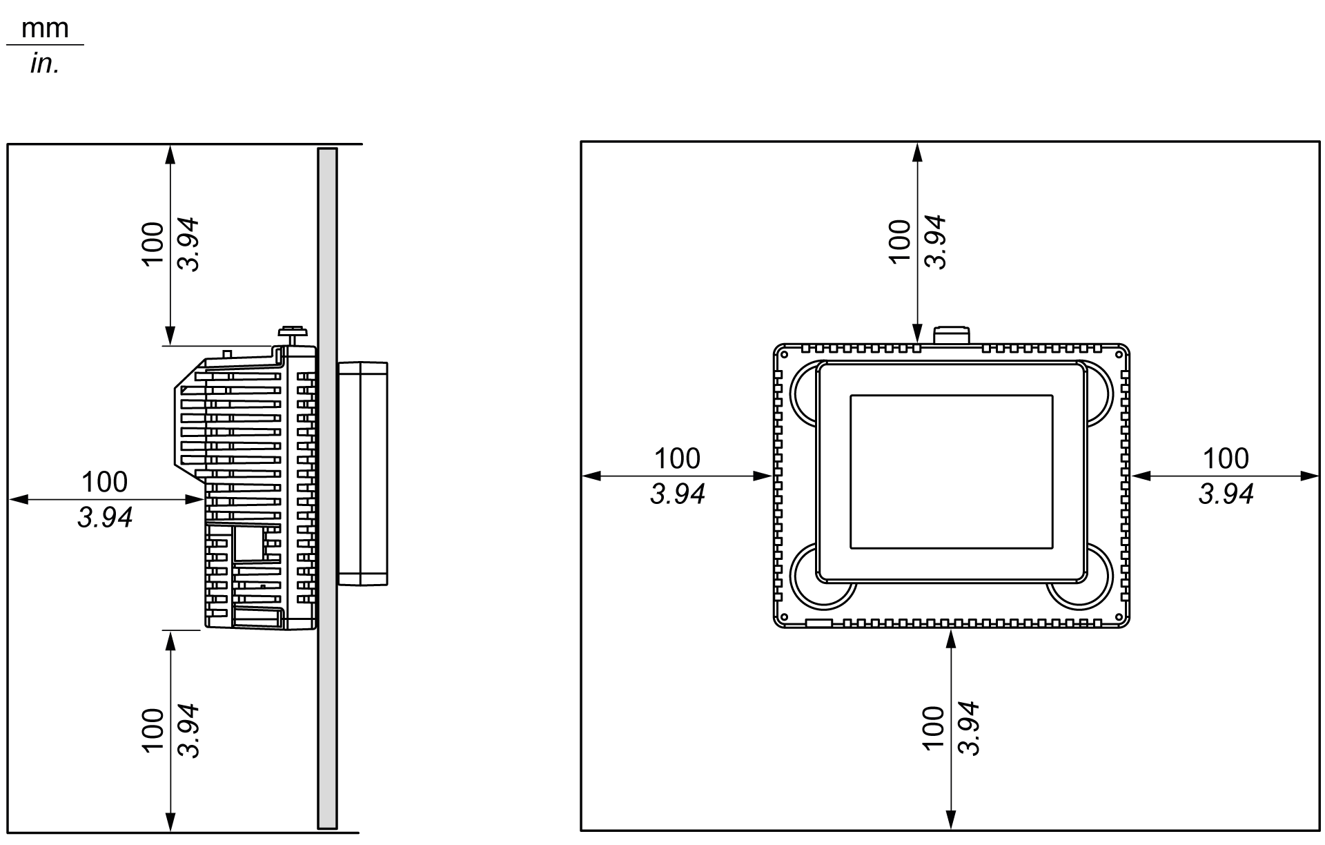
oL'unité doit être distante d'au moins 100 mm de toute structure ou équipement voisin pour faciliter le fonctionnement, la maintenance et la ventilation :

G-SE-0021173.1.gif-high.gif

Etape

Action

1

Placez l’unité sur une surface de niveau propre, l’écran d’affichage étant orienté vers le bas.

2

L'épaisseur du support dépend du matériau :

oMétallique : entre 1,5 et 6 mm (0,059 et 0,236 po)

oPlastique : entre 3 et 6 mm (0,118 et 0,236 po)

Si l'épaisseur est comprise entre 1 et 1,5 mm (0,039 et 0,059 po.) pour un support métallique ou entre 1 et 3 mm (0,039 et 0,118 po.) pour du plastique, utilisez l'adaptateur de panneau fourni dans le kit d'accessoires HMIZSUKIT (vendu séparément).

3

Faites les ouvertures de dimension correcte nécessaires pour l'installation de l'unité, conformément à la section Dimensions de découpe du panneau et installation.

4

Insérez le module d'affichage (avec le té si nécessaire) dans la découpe du panneau :

G-SE-0021176.1.gif-high.gif

 

 

Utilisez un couple compris entre 1,2 et 2 N•m pour visser l'écrou à l'aide de la clé de serrage.

5

Insérez et poussez le module arrière jusqu'au verrouillage en position :

G-SE-0021226.2.gif-high.gif

 

 

6

Pour retirer le module arrière, déverrouillez-le au préalable en appuyant sur le bouton jaune :

G-SE-0021227.2.gif-high.gif

 

 

AVIS

RISQUE DE DETERIORATION DU MATERIEL

Veillez à retirer le module arrière du module d'affichage sans mouvement de torsion.

Le non-respect de ces instructions peut provoquer des dommages matériels.