Installation et dépose du module arrière sur un rail DIN
Cette section explique comment installer le module arrière sur un rail DIN et comment le déposer.
NOTE : Pour qu'une application fonctionne correctement, le module d'affichage et le module contrôleur du HMISCU doivent toujours être connectés.
Si le module arrière est alimenté sans être connecté (directement ou à l'aide d'un câble de séparation) au module d'affichage, la logique du contrôleur passe en mode STOP, avec les E/S en mode de repli.
| 
 | 
| RISQUE D'EXPLOSION | 
| oNe pas connecter ou déconnecter l'équipement lorsque le circuit est sous tension. oRisque de charge électrostatique potentielle : essuyer le panneau avant du terminal avec un chiffon humide avant de l'allumer. | 
| Le non-respect de ces instructions peut provoquer la mort, des blessures graves ou des dommages matériels. | 
Installation du module arrière sur un rail DIN
| Etape | Action | 
|---|---|
| 1 | Fixez le rail DIN à un panneau à l'aide de vis. | 
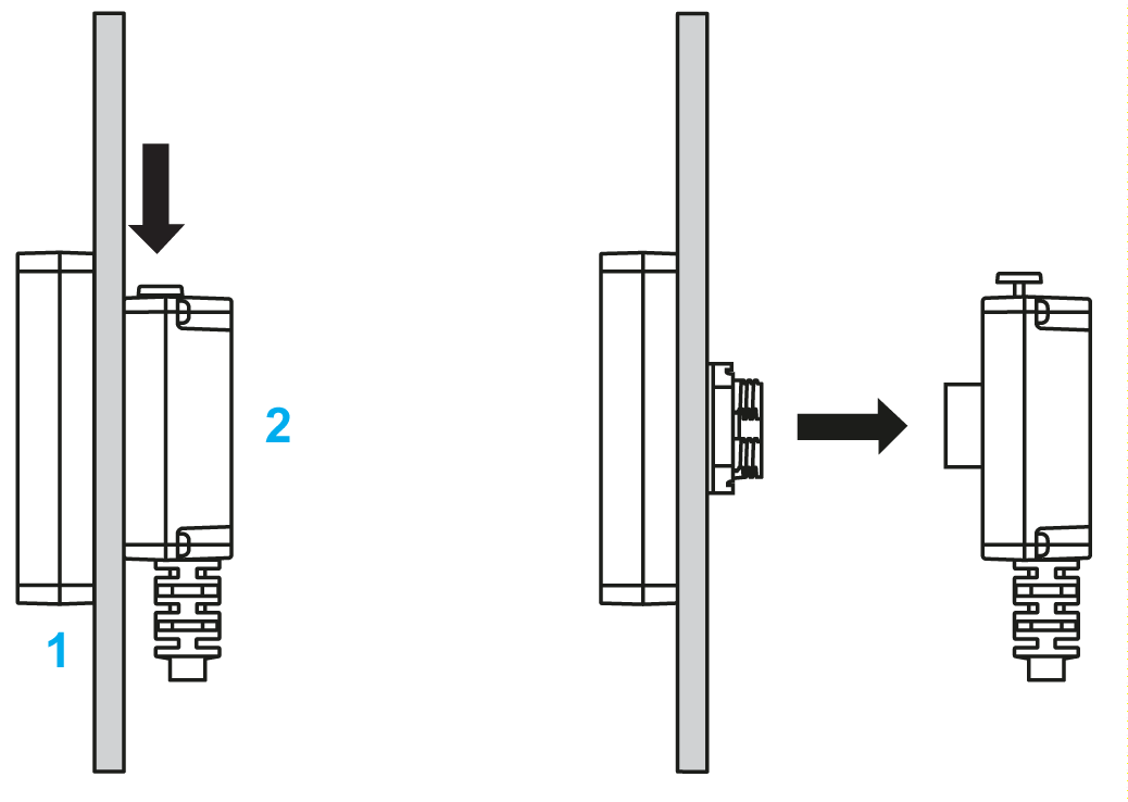
| 2 | Raccordez le câble de séparation entre module d'affichage et module arrière au module arrière.   
 1 Câble de séparation entre module d'affichage et module arrière 2 Module arrière NOTE : Pour assembler ce produit, vous avez besoin d'un espace supplémentaire de 20 mm (0,78 po.) pour courber le câble à l'extrémité en caoutchouc. | 
| 3 | Positionnez la rainure supérieure du module arrière sur le bord supérieur du rail DIN et poussez le module vers le rail jusqu'à entendre le clic d'enclenchement.   
 1 Module arrière 2 Rail NOTE : Les brides terminales pour bornier (de type AB1 AB8P35 ou équivalent) réduisent le mouvement latéral et améliorent les caractéristiques de résistance aux chocs et aux vibrations de l'ensemble. | 
| 4 | Installez l'écran sur l'armoire et raccordez-y le câble de séparation entre module d'affichage et module arrière.   
 1 Module d'affichage 2 Câble de séparation entre module d'affichage et module arrière | 
Retrait d'un module arrière monté sur rail DIN
| Etape | Action | 
|---|---|
| 1 | Appuyez sur le bouton jaune de verrouillage du module arrière et déconnectez ce dernier du câble qui le sépare du module d'affichage.   
 1 Module arrière 2 Câble de séparation entre module d'affichage et module arrière | 
| 2 | Appuyez sur le bouton de verrouillage du module arrière et déconnectez ce dernier du câble qui le sépare du module d'affichage.   
 1 Module d'affichage 2 Câble de séparation entre module d'affichage et module arrière |