Mise à la terre du système

Introduction

Utilisez des câbles blindés et reliés à la terre pour toutes les entrées et sorties analogiques et haut débit, ainsi que pour les connexions de communication. Si vous n'utilisez pas de câbles blindés pour ces connexions, les interférences électromagnétiques peuvent détériorer la qualité du signal. Des signaux dégradés peuvent provoquer un fonctionnement imprévu du contrôleur ou des modules et équipements connectés.

Warning_Color.gifAVERTISSEMENT

FONCTIONNEMENT IMPRÉVU DE L'ÉQUIPEMENT

oUtilisez des câbles blindés pour toutes les E/S rapides, les E/S analogiques et les signaux de communication.

oReliez à la terre le blindage des câbles des E/S analogiques, des E/S rapides et des signaux de communication au même point1.

oFaites courir les câbles de communication et d'E/S séparément des câbles d'alimentation.

Le non-respect de ces instructions peut provoquer la mort, des blessures graves ou des dommages matériels.

1 La mise à la terre multipoint est autorisée si les connexions sont reliées à une terre équipoten­tielle dimensionnée pour éviter tout endommagement des blindages de câbles, en cas de court-circuit du système d'alimentation.

L'utilisation des câbles blindés implique le respect des règles de câblage suivantes :

oPour les raccordements à la terre de protection (PE), des gaines ou des conduites métalliques peuvent être utilisées sur une partie de la longueur du blindage, pourvu qu'il n'y ait aucune discontinuité de la masse. Pour la terre fonctionnelle (FE), le blindage vise à atténuer les interférences électromagnétiques et doit être continu sur toute la longueur du câble. Si la terre doit être à la fois fonctionnelle et protectrice, comme c'est souvent le cas pour les câbles de communication, le câble doit avoir un blindage continu.

oLe cas échéant, séparez les câbles transportant un type de signal, des câbles transportant d'autres types de signaux ou du courant.

La figure suivante représente un Système TM5 avec des câbles blindés :

G-SE-0001964.2.gif-high.gif

 

1   Terre de protection (PE)

2   Terre fonctionnelle (FE)

Terre de protection (PE) sur l'embase

La terre de protection (PE) est raccordée à l'embase conductrice par un câble de section importante, généralement un câble en cuivre tressé d'une section de 6 mm2 (calibre AWG 10) au minimum.

Terre fonctionnelle (FE) sur le rail DIN

Le rail DIN de votre Système TM5 est commun au plan de la terre fonctionnelle (FE) de votre système et doit être monté sur une embase conductrice.

Warning_Color.gifAVERTISSEMENT

FONCTIONNEMENT IMPRÉVU DE L'ÉQUIPEMENT

Connectez le rail DIN à la terre fonctionnelle (FE) de votre installation.

Le non-respect de ces instructions peut provoquer la mort, des blessures graves ou des dommages matériels.

Le raccordement entre la terre fonctionnelle (FE) et votre Système TM5 est assuré par les contacts du rail DIN à l'arrière du contrôleur et l'embase de bus des modules d'extension.

Raccordement des câbles blindés

Les câbles transportant les signaux de communication des E/S rapides, des E/S analogiques, du réseau et du bus de terrain doivent être blindés. Ce blindage doit être fermement raccordé à la terre. Les blindages des E/S rapides et des E/S analogiques doivent être raccordés à la terre fonctionnelle (FE) de votre système via la plaque de mise à la terre TM2XMTGB ou à la terre de protection (PE). Les blindages des câbles de communication de bus de terrain doivent être raccordés à la terre de protection (PE) avec une bride fixée à l'embase conductrice de votre installation.

Danger_Color.gifDANGER

RISQUE DE CHOC ELECTRIQUE

Vérifiez que les câbles CANopen et Modbus sont fermement raccordés à la terre de protection (PE).

Le non-respect de ces instructions provoquera la mort ou des blessures graves.

Warning_Color.gifAVERTISSEMENT

DECONNEXION ACCIDENTELLE DE LA TERRE DE PROTECTION (PE)

oN'utilisez pas la barre de mise à la terre TM2XMTGB pour obtenir une terre de protection (PE).

oN'utilisez la plaque de mise à la terre TM2XMTGB que pour obtenir une terre fonctionnelle (FE).

Le non-respect de ces instructions peut provoquer la mort, des blessures graves ou des dommages matériels.

NOTE : la terre fonctionnelle de la connexion Ethernet est interne.

Le blindage des câbles suivants doit être raccordé à la terre de protection (PE) :

oCANopen

oLigne sérieModbus

Blindage du câble de terre fonctionnelle (FE)

Raccordez le blindage d'un câble via la plaque de mise à la terre :

Etape

Description

1

Installez la plaque de mise à la terre directement sur l'embase conductrice située sous le Système TM5, comme indiqué.

G-SE-0004795.2.gif-high.gif

 

 

2

Dénudez le blindage sur une longueur d'environ 15 mm (0.59 in.).

G-SE-0004794.1.gif-high.gif

 

 

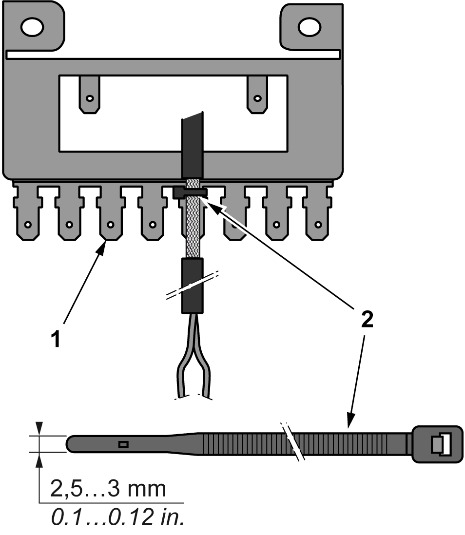
3

Serrez la bride sur le connecteur de fixation (1) à l'aide du raccord en nylon (2) (largeur de 2,5 à 3 mm (0.1 à 0.12 in.)) et de l'outil approprié.

G-SE-0004796.2.gif-high.gif

 

 

Blindage du câble de terre de protection (PE)

Pour relier à la terre le blindage d'un câble via un raccord de mise à la terre, procédez comme suit :

Etape

Description

1

Dénudez le blindage sur une longueur d'environ 15 mm (0,59 in.).

G-SE-0004794.1.gif-high.gif

 

 

2

Fixez le câble à la plaque de l'embase conductrice en attachant le raccord de mise à la terre à la partie dénudée du blindage, aussi proche que possible de l'embase du Système TM5.

G-SE-0003362.1.gif-high.gif

 

 

NOTE : le blindage doit être fixé suffisamment fort à l'embase conductrice pour assurer un bon contact.