Les câbles des capteurs sont utilisés pour :
oConnecter les capteurs aux entrées analogiques des blocs d'E/S TM7
oConnecter les actuateurs aux sorties analogiques des blocs d'E/S TM7
oConnecter les signaux numériques rapides aux entrées ou sorties rapides des blocs d'E/S TM7
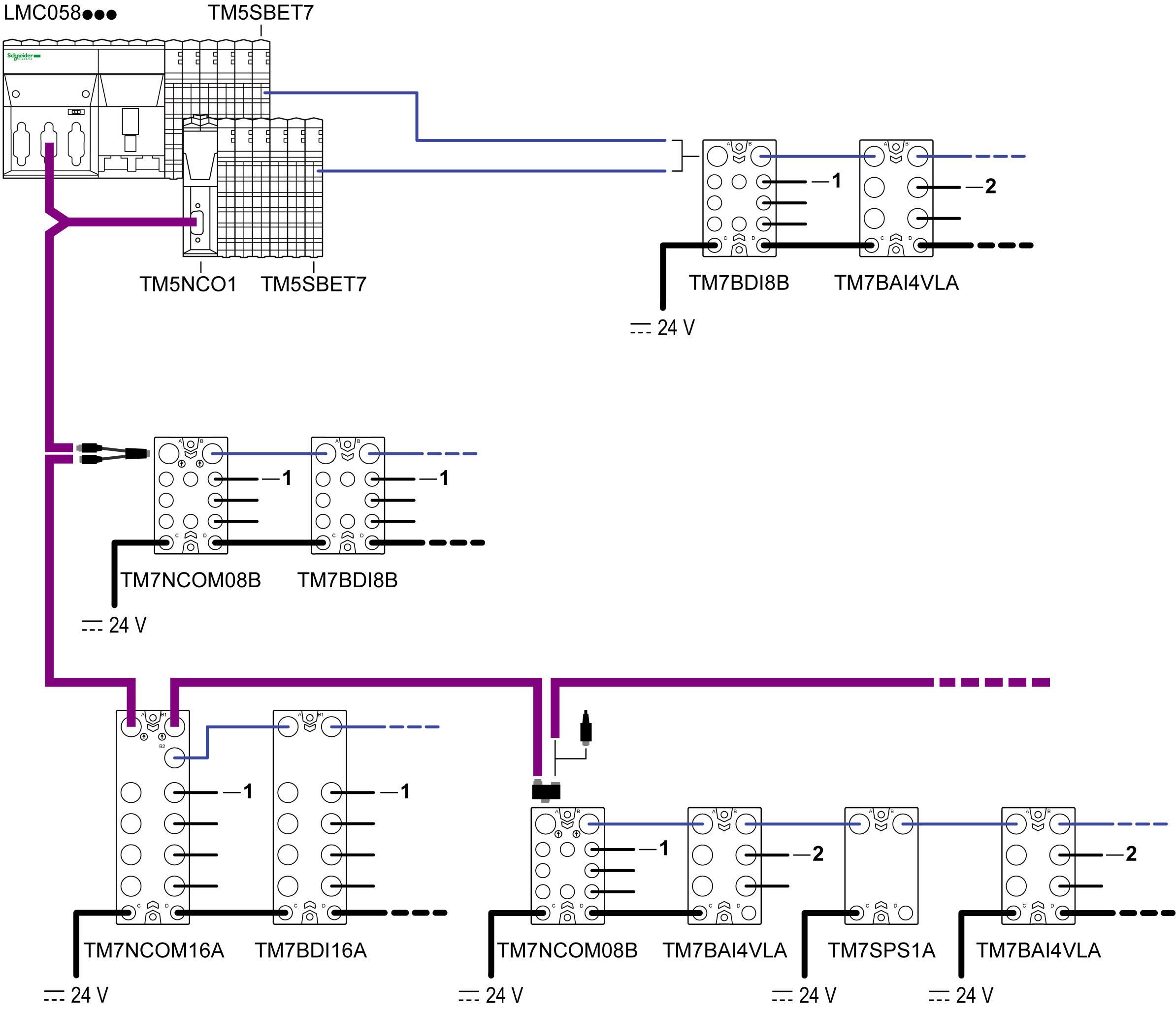
La figure suivante présente les câbles de capteurs utilisés dans les configurations TM5/TM7 :
 
  
1 Le câble de capteur du bloc d'E/S de l'interface du bus de terrain TM7 et du bloc d'E/S numérique TM7
2 Câble de capteur du bloc d'E/S analogique
| Longueur | Brève description, référence | |||
|---|---|---|---|---|
| Câble M12 pour les E/S analogiques | Câble M12 pour les E/S numériques | Câble M8 pour les E/S numériques | ||
| 0,5 m (1,6 pi) | – | – | XZ CP1564L05 | XZ CP2737L05 | 
| 1 m (3,3 pi) | – | – | XZ CP1564L1 | XZ CP2737L1 | 
| 2 m (6,6 pi) | TCSXCN2M2SA | TCSXCN1M2SA | XZ CP1564L2 | XZ CP2737L2 | 
| 5 m (16,4 pi) | TCSXCN2M5SA | TCSXCN1M5SA | – | – | 
| 15 m (49,2 pi) | TCSXCN2M15SA | TCSXCN1M15SA | – | – | 
| Dimensions et brochage |   
 
 |   
 
 |   
 
 |   
 
 | 
Caractéristiques des câbles TCSXCN2M••SA et TCSXCN1M••SA
Le tableau ci-après décrit les caractéristiques des fils individuels du câble :
| Caractéristiques | Spécifications | 
|---|---|
| Section du conducteur (calibre) | 0,34 mm2 (AWG 22) | 
| Isolation matérielle | Polypropylène (PP) | 
| Matériau de remplissage | Polyéthylène (PE) | 
| Diamètre du noyau isolation comprise | 1,27 mm (0,05 po.) ± 0,02 mm (0,0008 po.) | 
| Résistance électrique (à 20 °C) | ≤ 0,058 Ω/m | 
| Résistance d’isolement (à 20 °C) | ≥ 100 GΩ*km | 
| Tension nominale | 300 V | 
| Conducteur de tension de test | 3 000 VCC x 1 s | 
Le tableau ci-dessous décrit les caractéristiques générales du câble :
| Caractéristiques | Spécifications | |
|---|---|---|
| Type de câble | Polyuréthane spécial blindé noir | |
| Matériel conducteur | Fils de Litz cuivre nus | |
| Blindage | Fils en cuivre tressés | |
| Diamètre de câble externe | 5,9 mm (0,23 po.) | |
| Rayon de courbure minimum | 59 mm (2,32 po.) | |
| Couleurs des fils | Marron, blanc, bleu, noir, gris | |
| Gaine externe, couleur | RAL 7021 noir-gris | |
| Poids du câble | 48 kg/km | |
| Nombre de cycles de courbure | 4 millions | |
| Chemin transversal | 10 m (32,8 pi.) | |
| Chemin transversal | 3 m/s | |
| Accélération | 10 m/s2 (32,8 pi./s2) | |
| Couple de serrage M12 | 0,4 Nm maximum | |
Le tableau ci-dessous présente les principales caractéristiques environnementales du câble :
| Caractéristiques | Spécifications | 
|---|---|
| Température de fonctionnement | –5 à 80 °C | 
| Température de stockage | –40 à 80 °C | 
| Propriétés spéciales | Possibilité de conduite de câble flexible | 
| Sans silicone | |
| Sans substances susceptibles d'empêcher un revêtement avec de la peinture ou du vernis | |
| Résistance à la flamme | Conforme UL-Style 20549 | 
| Sans halogène | Conforme DIN VDE 0472 partie 815 | 
| Résistance à l'huile | Conforme DIN EN 60811-2-1 | 
| Autre résistance | Résistant aux acides, aux solutions alcalines et aux solvants | 
| Résistant à l'hydrolyse et aux microbes | |
| WEEE/RoHS | Conforme | 
Caractéristiques du câble XZ CP1564L••
Le tableau ci-après décrit les caractéristiques des fils individuels du câble :
| Caractéristiques | Spécifications | 
|---|---|
| Section du conducteur (calibre) | 4 x 0,34 mm1 (AWG 22) et 1 x 0,5 mm2 (AWG 20) | 
| Isolation matérielle | PVC | 
| Résistance d’isolement (à 20 °C) | > 1 GΩ | 
| Intensité nominale | 4 A | 
| Tension nominale | 30 VCA, 36 VCC | 
| Résistance de contact | ≤ 5 mΩ | 
| Tension d'isolement | 2 500 VCC | 
Le tableau ci-dessous présente les principales caractéristiques du câble :
| Caractéristiques | Spécifications | |
|---|---|---|
| Type de câble | Polyuréthane spécial blindé noir | |
| Diamètre de câble externe | 5,2 mm (0,20 po.) | |
| Rayon de courbure minimum | 52 mm (2,05 po.) | |
| Couleurs des fils | Marron, noir/blanc, bleu, noir, jaune/vert | |
| Gaine externe, couleur | Noir | |
| Poids du câble | XZ CP1564L05 | 0,040 kg | 
| XZ CP1564L1 | 0,065 kg | |
| XZ CP1564L2 | 0,115 kg | |
| Résistance à la traction | 20 à 45 N/mm22 | |
| Couple de serrage M12 | 0,4 Nm maximum | |
Le tableau ci-dessous présente les principales caractéristiques environnementales du câble :
| Caractéristiques | Spécifications | 
|---|---|
| Température de fonctionnement | -5 à 90 °C | 
| Température de stockage | -35 à 100 °C | 
| Propriétés spéciales | Possibilité de conduite de câble flexible | 
| Sans silicone | |
| Sans agent de démoulage | |
| Résistance à la flamme | C2 conforme à NF C 32-070 | 
| Sans halogène | Conforme DIN VDE 0472 partie 815 | 
| Autre résistance | Résistant à l'huile soluble, minérale ou synthétique à 90 °C | 
| WEEE/RoHS | Conforme | 
Caractéristiques du câble XZ CP2337L••
Le tableau ci-après décrit les caractéristiques des fils individuels du câble :
| Caractéristiques | Spécifications | 
|---|---|
| Section du conducteur (calibre) | 0.34 mm2 (AWG 22) | 
| Isolation matérielle | PVC | 
| Résistance d’isolement (à 20 °C) | > 1 GΩ | 
| Intensité nominale | 4 A | 
| Tension nominale | 60 VCA, 75 VCC | 
| Résistance de contact | ≤ 5 mΩ | 
| Tension d'isolement | 2 500 VCC | 
Le tableau ci-dessous présente les principales caractéristiques du câble :
| Caractéristiques | Spécifications | |
|---|---|---|
| Type de câble | Polyuréthane spécial blindé noir | |
| Diamètre de câble externe | 5,2 mm (0,20 po.) | |
| Rayon de courbure minimum | 52 mm (2,05 po.) | |
| Couleurs des fils | Marron, bleu, noir | |
| Gaine externe, couleur | Noir | |
| Poids du câble | XZ CP2737L05 | 0,030 kg | 
| XZ CP2737L1 | 0,050 kg | |
| XZ CP2737L2 | 0,080 kg | |
| Résistance à la traction | 20 à 45 N/mm22 | |
| Couple de serrage M8 | 0,2 Nm maximum | |
Le tableau ci-dessous présente les principales caractéristiques environnementales du câble :
| Caractéristiques | Spécifications | 
|---|---|
| Température de fonctionnement | -5 à 90 °C | 
| Température de stockage | -35 à 100 °C | 
| Propriétés spéciales | Possibilité de conduite de câble flexible | 
| Sans silicone | |
| Sans agent de démoulage | |
| Résistance à la flamme | C2 conforme à NF C 32-070 | 
| Sans halogène | Conforme DIN VDE 0472 partie 815 | 
| Autre résistance | Résistant à l'huile soluble, minérale ou synthétique à 90 °C | 
| WEEE/RoHS | Conforme | 
Dimensions et brochage du TCSXCN2M••SA
| Dimensions | |||
|---|---|---|---|
|   
 
 | |||
| L longueur en tant que fonction de la référence | 
| Brochage | |||
|---|---|---|---|
| Connecteur mâle | Broche | Désignation | Couleur des fils | 
|   
 
 | 1 | Pour le brochage, reportez-vous aux diagrammes de câblage figurant dans le Guide de référence du matériel des blocs d'E/S analogiques TM7. | Marron | 
| 2 | Blanc | ||
| 3 | Bleu | ||
| 4 | Noir | ||
| 5 | Gris | ||
| M121 | SHLD | ||
| 1 Blindage 360 ° autour de vis moletées M12 | |||
Dimensions et brochage du TCSXCN1M••SA
| Dimensions | |||
|---|---|---|---|
|   
 
 | |||
| L longueur en tant que fonction de la référence | 
| Brochage | |||
|---|---|---|---|
| Connecteur mâle | Broche | Désignation | Couleur des fils | 
|   
 
 | 1 | Pour le brochage, reportez-vous aux diagrammes de câblage figurant dans le Guide de référence du matériel des blocs d'E/S analogiques TM7. | Marron | 
| 2 | Blanc | ||
| 3 | Bleu | ||
| 4 | Noir | ||
| 5 | Gris | ||
| M121 | SHLD | ||
| 1 Blindage 360 ° autour de vis moletées M12 | |||
Dimensions et brochage du XZ CP1564L••
| Dimensions | |||
|---|---|---|---|
|   
 
 | |||
| L longueur en tant que fonction de la référence | 
| Brochage | |||
|---|---|---|---|
| Connecteur mâle | Broche | Désignation | Couleur des fils | 
|   
 
 | 1 | Pour le brochage, reportez-vous aux schémas de câblage du document Modicon TM7 - Blocs d'E/S numérique - Guide de référence du matériel ou Modicon TM7 - Blocs d'E/S CANopen - Guide de référence du matériel. | Marron | 
| 2 | Noir/Blanc | ||
| 3 | Bleu | ||
| 4 | Noir | ||
| 5 | Jaune/Vert | ||
Dimensions et brochage du XZ CP2737L••
| Dimensions | |||
|---|---|---|---|
|   
 
 | |||
| L longueur en tant que fonction de la référence | 
| Brochage | |||
|---|---|---|---|
| Connecteur mâle | Broche | Désignation | Couleur des fils | 
|   
 
 | 1 | Pour le brochage, reportez-vous aux schémas de câblage du document Modicon TM7 - Blocs d'E/S numérique - Guide de référence du matériel ou Modicon TM7 - Blocs d'E/S CANopen - Guide de référence du matériel. | Marron | 
| 3 | Bleu | ||
| 4 | Noir | ||