一次性模式原理

 

One-shot 模式原理描述

概述

通过同步跳变沿设置计数器值,将会加载配置的预设值。

启用计数时,每个应用到输入的脉冲都递减当前值。在当前值达到 0 时计数器停止。

即使新的脉冲应用到输入,计数器值仍然保持为 0。

要再次激活计数器,需要新的同步。

原理图

G-RU-0010128.4.gif-high.gif

 

 

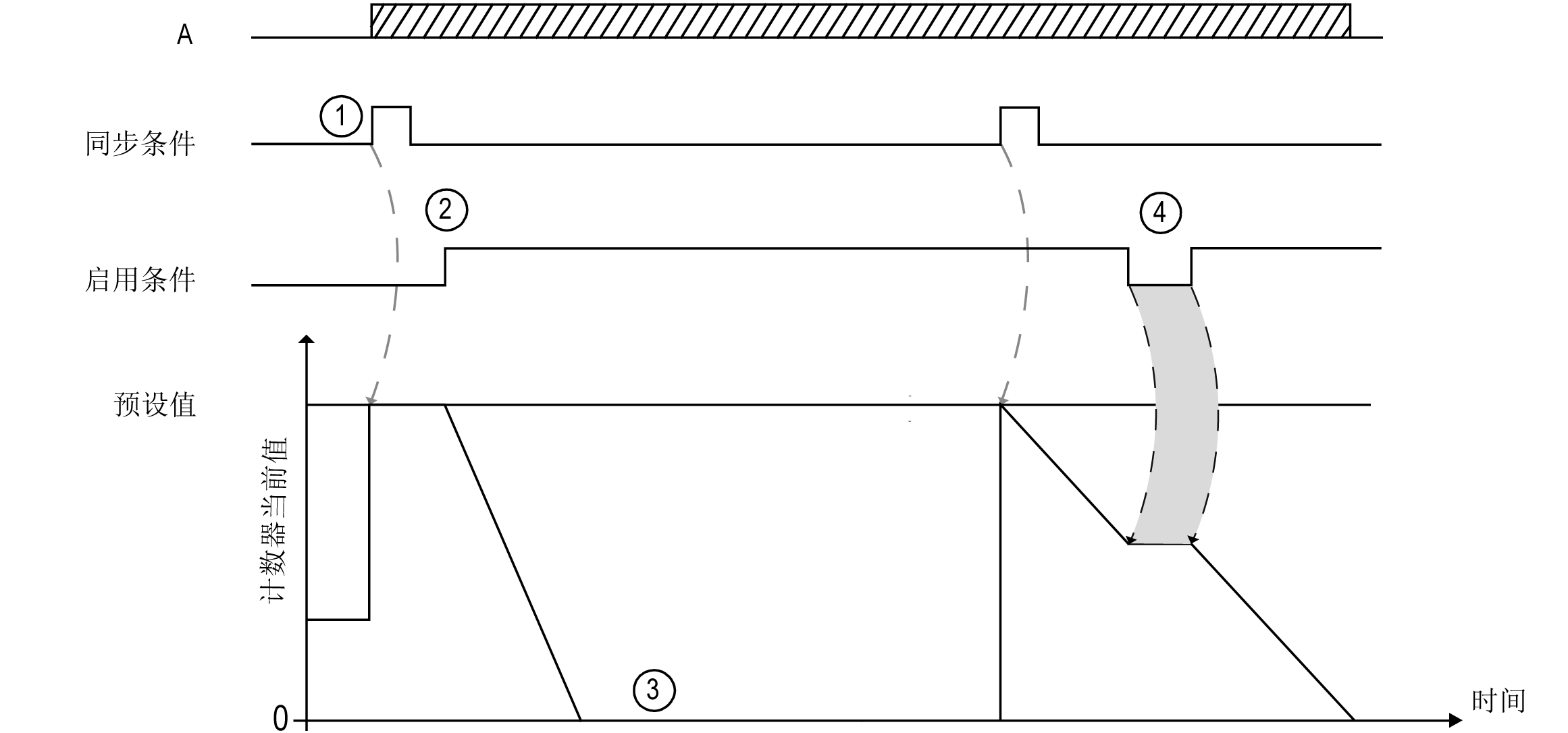
下表介绍上图的各个阶段:

阶段

操作

1

在同步条件的上升沿上,将预设值加载到计数器(不考虑当前值),并设置计数器值。

2

当启用条件 = TRUE 时,当前的计数器值依据输入 A 上的各个脉冲递减,直至达到 0。

3

计数器等待同步条件的下一个上升沿出现。

注:此时,输入 A 上的脉冲对计数器不起作用。

4

当启用条件 = FALSE 时,计数器将忽略来自输入 A 的脉冲并保留其当前值,直到启用条件再次 = TRUE。计数器将从保留的值开始,在 Enable 输入的上升沿恢复对输入 A 的脉冲进行计数。

注意: 启用和同步条件取决于配置。启用同步功能中对这些条件进行了介绍。