片段描述

概述

片段是 TM5 系统中具有以下功能之一的扩展模块:

o扩展 I/O

o配电

o公共配电

o扩展总线

下图显示片段的三个组件:

G-SE-0000923.3.gif-high.gif

 

1   总线基板

2   电子模块

3   端子块

DangerElectrical_Color.gifDanger_Color.gif危险

不兼容组件会造成电击或电弧危险

o不要将某个片段中具有不同颜色的组件关联在一起。

o安装前,请始终使用本手册中的关联表来确认片段组件和模块的兼容性。

o确认相应的电子模块上安装了正确的端子排(至少颜色匹配且端子数量正确)。

如果不遵守这些说明,将会导致死亡或严重伤害。

电子模块bus base 和端子块必须单独订购。有关型号,请参阅以下相关部分。

组装后,这三个组件构成一个可防振和防电磁放电的整体。

注意

静电放电

o切勿触摸电子模块的触点。

o在正常运行过程中,始终保持连接器处于正确位置。

不遵循上述说明可能导致设备损坏。

兼容性表提供片段组件之间可能的关联。

总线基板描述

下图显示总线基板的不同部分:

G-SE-0001655.3.gif-high.gif

 

1   锁定杆

2   DIN 导轨锁定机制

3   DIN 导轨触点

4   电子模块装配导架

5   端子块的旋转轴

6   TM5 总线电源触点

7   TM5 总线数据触点

8   24 Vdc I/O 电源段触点

9   联锁导架

10   地址设置旋转开关(可选,取决于型号)

此表列出了不同类型的总线基板

型号

总线基板描述

颜色

TM5ACBM11

总线基板 24 Vdc

24 Vdc I/O 电源段直通

白色

TM5ACBM15

总线基板 24 Vdc

带有地址设置的 24 Vdc I/O 电源段直通

白色

TM5ACBM01R

用于 PDM 和接收器模块的总线基板 24 Vdc

24 Vdc I/O 电源段,左侧隔离

灰色

TM5ACBM05R

用于 PDM 和接收器模块的总线基板 24 Vdc

带有地址设置的 24 Vdc I/O 电源段,左侧隔离

灰色

TM5ACBM12

用于 AC 模块的总线基板

24 Vdc I/O 电源段直通

黑色

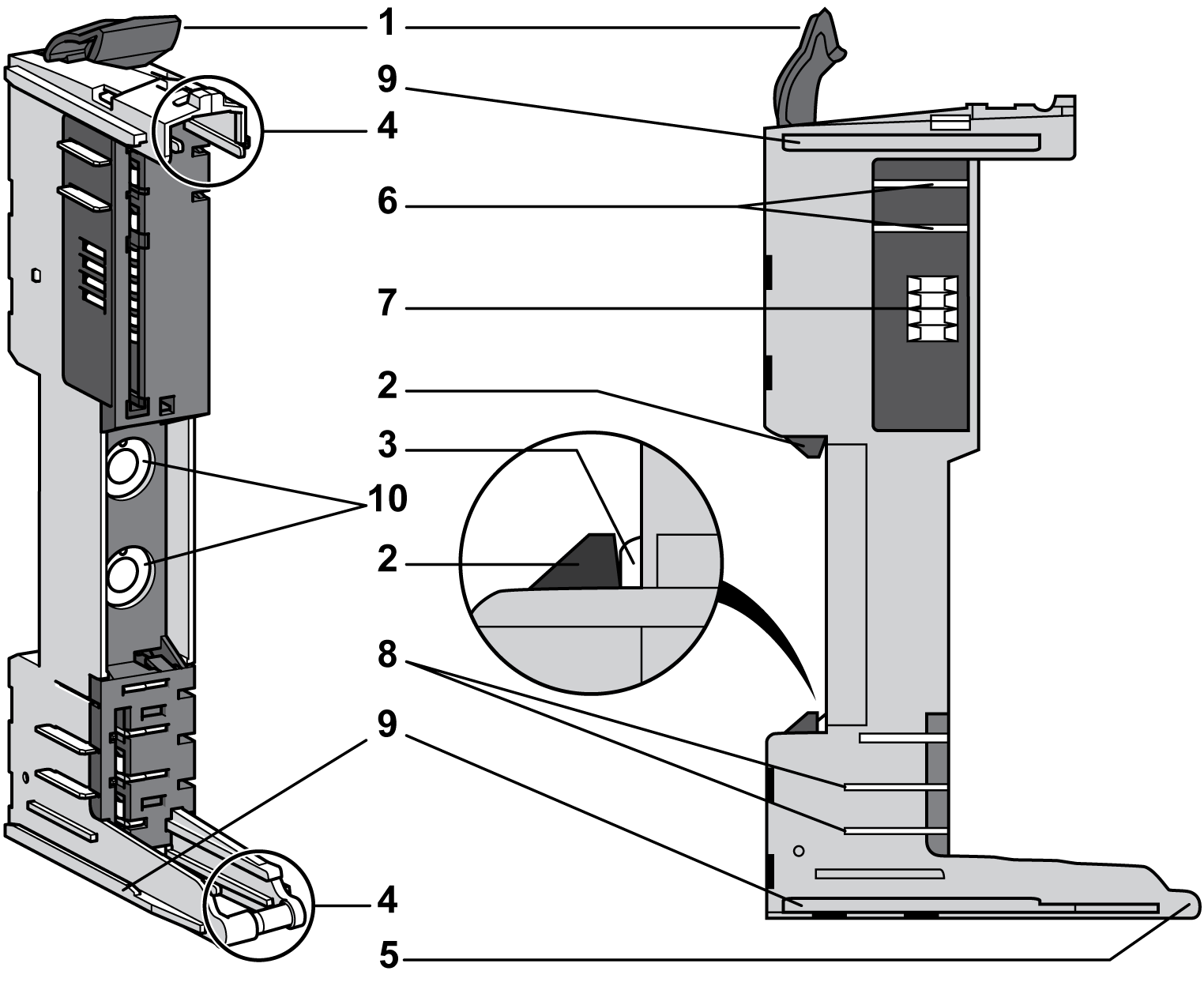
电子模块描述

下图显示电子模块的不同部分:

G-SE-0001656.3.gif-high.gif

 

1   锁定杆

2   装配导架

3   显示器 (LED)

4   用于打标的插槽

5   用于对电子模块和关联端子块进行编码的插槽

6   可更换的内部熔断器(取决于型号)

下表介绍了不同类型的电子模块:

型号

电子模块描述

颜色

请参阅

TM5SD••

数字量模块

白色或黑色

Modicon TM5 数字量 I/O 模块硬件指南

TM5SA••

模拟量模块

白色

Modicon TM5 模拟量 I/O 模块硬件指南

TM5SPS1•

配电模块 (PDM)

灰色

TM5 配电模块

TM5SPS2•

TM5SPS3

接口配电模块 (IPDM)

灰色

TM5 接口配电模块 IPDM

TM5SE••

专用模块

白色

Modicon TM5 专用(高速计数器)模块硬件指南

TM5SBET••

发射器模块

白色

Modicon TM5 接收器和发射器模块硬件指南

TM5SBER••

接收器模块

灰色

TM5SPD••

公共配电模块 (CDM)

白色

TM5 公共配电模块

TM5SD000

哑元模块

白色

TM5 附件模块

端子块描述

端子块的主要功能有:

o使用弹簧夹推入技术接线,无需工具

o按钮导线释放

o可以对每个端子打标

o还可以进行纯文本标记

o用于标准探测器的测试访问

o可以自定义编码

下图显示端子块的不同部分:

G-SE-0001566.3.gif-high.gif

 

1   导线释放按钮

2   引脚分配

3   弹簧夹连接器

4   测试接入点

5   总线基板上的轴的铰链

6   电子模块的闩锁

7   用于编码的后插槽

8   用于打标的前插槽

9   电缆扎带的插槽

此表列出了不同类型的端子块

型号

端子块描述

颜色

TM5ACTB06

24 Vdc,6 针端子块

白色

TM5ACTB12

24 Vdc,12 针端子块

白色

TM5ACTB12PS

24 Vdc,适用于 PDM、IPDM 和接收器电子模块的 12 针端子块

灰色

TM5ACTB16

24 Vdc,16 针端子块

白色

TM5ACTB32

240 Vac,12 针端子块

黑色