M262 Logic/Motion Controller 系统接地

DIN 导轨上的功能性接地 (FE)

M262 Logic/Motion Controller 控制器的 DIN 导轨是公共的功能性接地 (FE) 平面,必须安装在导电背板上。

 警告
意外的设备操作
将 DIN 导轨连接至安装设备的功能性接地 (FE)。
未按说明操作可能导致人身伤亡或设备损坏等严重后果。

功能性接地 (FE) 与 M262 Logic/Motion Controller 系统之间的连接通过控制器与扩展模块背面的 DIN 导轨触点来建立。

1 功能性接地 (FE)

注:M262 Logic/Motion Controller 系统安装在 DIN 导轨上时,控制器正面的功能性接地 (FE) 连接器可有助于最大程度降低电磁干扰:

安装板上的保护性接地 (PE)

保护性接地 (PE) 应通过一根重型导线(通常是一根具有最大允许电缆截面的铜丝编织电缆)连接到导电安装板。

安装板上的功能性接地 (FE)

使用功能性接地电缆将功能性接地连接器连接到导电背板:

(1) 功能性接地 (FE)

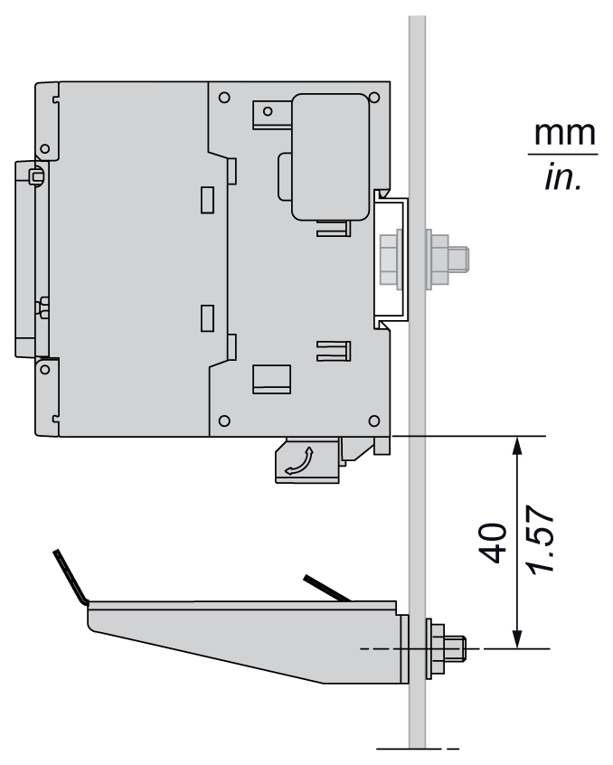
功能性接地电缆的规格不得小于 1.5 mm2 (AWG 16),且长度不得超过 80 毫米(3.15 英寸)。

屏蔽电缆连接

为最大程度地降低电磁干扰的影响,承载现场总线通讯信号的电缆必须是屏蔽电缆。

 警告
意外的设备操作
  • 对通讯信号使用屏蔽电缆。
  • 对通讯信号使用屏蔽电缆进行单点接地 1
  • 始终遵守当地有关对电缆屏蔽层接地的接线要求。
未按说明操作可能导致人身伤亡或设备损坏等严重后果。

1如果连接至等电位接地面,以避免在出现电源系统短路电流时损坏电缆屏蔽层,则允许进行多点接地。

使用屏蔽电缆时,需要遵循以下接线规则:

  • 对于保护性接地连接 (PE),金属管道或线槽可以作为部分屏蔽长度,前提是整个接地连接连贯无中断。对于功能性接地 (FE),使用屏蔽旨在减小电磁干扰,并且整条电缆的屏蔽必须连续无中断。如果同时出于功能性和保护性目的(通讯电缆通常是这种情况),电缆的屏蔽必须连续无中断。

  • 只要可能,应将传送不同类型信号或电源的电缆隔开。

必须将屏蔽电缆牢固接地。必须使用固定在安装的导电背板上的连接线夹将现场总线通讯电缆屏蔽层连接到保护性接地 (PE)。

以下电缆的屏蔽层必须连接到保护性接地 (PE):

  • Ethernet(除非现行标准有禁止规定)

  • Serial

  • 编码器(在 TM262M• 型号上)

嵌入式 I/O 屏蔽层可以连接到保护性接地 (PE) 点或功能性接地 (FE) 点。

 危险
存在电击危险
  • 接地端子连接 (PE) 必须始终用于提供保护接地。
  • 在连接或断开设备的网络电缆之前,请确保已将适当的已接地编织电缆连接到 PE/PG 接地端子。
未按说明操作将导致人身伤亡等严重后果。
 警告
从保护性接地 (PE) 意外断开连接
  • 请勿使用 TM2XMTGB 接地板提供保护性接地 (PE)。
  • 只使用 TM2XMTGB 接地板提供功能性接地 (FE)。
未按说明操作可能导致人身伤亡或设备损坏等严重后果。

下图显示了屏蔽电缆连接到 DIN 导轨的 M262 Logic/Motion Controller

1 功能性接地 (FE)

2 保护性接地 (PE)

下图显示了屏蔽电缆连接到安装板的 M262 Logic/Motion Controller

1 功能性接地 (FE)

2 保护性接地 (PE)

保护性接地 (PE) 电缆屏蔽层

要通过接地夹头将电缆的屏蔽层接地,请执行以下操作:

步骤

描述

1

将屏蔽层剥开 15 毫米(0.59 英寸)的长度

2

通过将接地夹头与屏蔽层剥开的部分连接,将电缆连接到导电背板,尽可能靠近 M262 Logic/Motion Controller 的基板。

注: 必须将屏蔽层牢固地夹到导电背板,以帮助确保建立良好的接触。

功能性接地 (FE) 电缆屏蔽层

通过接地排连接电缆的屏蔽层:

步骤

描述

1

如图所示,将 TM2XMTGB 接地排直接安装在 M262 Logic/Motion Controller 下面的导电背板上。

2

将屏蔽层剥开 15 毫米(0.59 英寸)的长度

3

使用尼龙紧固件 (2)(宽度为 2.5 至 3 毫米(0.1 至 0.12 英寸))和相应工具夹紧固定刀片连接器 (1)