对 M241 系统进行接地

概述

为最大程度地降低电磁干扰的影响,承载快速 I/O、模拟量 I/O 和现场总线通讯信号的电缆必须是屏蔽电缆。

Warning_Color.gif警告

意外的设备操作

o对所有快速 I/O、模拟量 I/O 和通讯信号使用屏蔽电缆。

o对所有快速 I/O、模拟量 I/O 和通讯信号使用屏蔽电缆进行单点接地1

o将电源电缆与通讯电缆和 I/O 电缆分开布线。

不遵循上述说明可能导致人员伤亡或设备损坏。

1如果连接至等电位接地面,以避免在出现电源系统短路电流时损坏电缆屏蔽层,则允许进行多点接地。

使用屏蔽电缆时,需要遵循以下接线规则:

o对于保护性接地连接 (PE),金属管道或线槽可以作为部分屏蔽长度,前提是整个接地连接连贯无中断。对于功能性接地 (FE),使用屏蔽旨在减小电磁干扰,并且整条电缆的屏蔽必须连贯无中断。如果同时出于功能性和保护性目的(通讯电缆通常是这种情况),电缆的屏蔽必须连贯无中断。

o只要可能,应将传送不同类型信号或电源的电缆隔开。

背板上的保护性接地 (PE)

保护性接地 (PE) 应通过一根重型导线(通常是一根具有最大允许电缆截面的铜丝编织电缆)连接到导电背板。

屏蔽电缆连接

承载快速 I/O、模拟量 I/O 和现场总线通讯信号的电缆必须通过以下方式进行屏蔽。必须将屏蔽电缆牢固接地。快速 I/O 和模拟量 I/O 屏蔽层可以连接到 M241 Logic Controller 的功能性接地 (FE) 或保护性接地 (PE)。必须使用固定在安装的导电背板上的连接线夹将现场总线通讯电缆屏蔽层连接到保护性接地 (PE)。

Warning_Color.gif警告

从保护性接地 (PE) 意外断开连接

o请勿使用 TM2XMTGB 接地板提供保护性接地 (PE)。

o只使用 TM2XMTGB 接地板提供功能性接地 (FE)。

不遵循上述说明可能导致人员伤亡或设备损坏。

Modbus 电缆的屏蔽层必须连接到保护性接地 (PE)。

DangerElectrical_Color.gifDanger_Color.gif危险

存在电击危险

o接地端子连接 (PE) 必须始终用于提供保护接地。

o在连接或断开设备的网络电缆之前,请确保已将适当的已接地编织电缆连接到 PE/PG 接地端子。

如果不遵守这些说明,将会导致死亡或严重伤害。

保护性接地 (PE) 电缆屏蔽层

步骤

描述

1

将屏蔽层剥开 15 毫米(0.59 英寸)的长度

G-SE-0004794.1.gif-high.gif

 

 

2

通过将接地夹头与屏蔽层剥开的部分连接,将电缆连接到导电背板,尽可能靠近 M241 Logic Controller 系统基板。

G-SE-0029402.1.gif-high.gif

 

 

注意: 必须将屏蔽层牢固地夹到导电背板,确保接触良好。

功能性接地 (FE) 电缆屏蔽层

步骤

描述

1

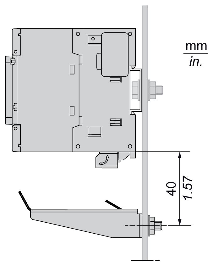
如图所示,将接地条直接安装在 M241 Logic Controller 系统下面的导电背板上。

G-SE-0029403.1.gif-high.gif

 

 

2

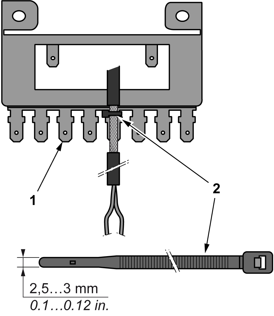
将屏蔽层剥开 15 毫米(0.59 英寸)的长度

G-SE-0004794.1.gif-high.gif

 

 

3

使用尼龙紧固件 (2)(宽度为 2.5 至 3 毫米(0.1 至 0.12 英寸))和相应工具夹紧固定刀片连接器 (1)

G-SE-0004796.2.gif-high.gif

 

 

注意: 将 TM2XMTGB 接地条用于功能性接地 (FE) 连接。