Montageverfahren

Montage des HMISCU Controller

Um auf dem Magelis SCU eine Anwendung ordnungsgemäß ausführen zu können, müssen das Anzeigemodul und das Rückmodul angeschlossen sein.

Warning_Color.gifWARNUNG

EXPLOSIONSGEFAHR

oDie Verbindung darf weder hergestellt noch getrennt werden, solange die Schaltung unter Spannung steht.

oGefahr elektrostatischer Aufladung: Wischen Sie die Frontplatte des Terminals vor dem Einschalten mit einem feuchten Tuch ab.

Die Nichtbeachtung dieser Anweisungen kann Tod, schwere Verletzungen oder Sachschäden zur Folge haben.

Wenn Sie das Rückmodul ohne angeschlossenes Anzeigemodul einschalten, startet die Logiksteuerung nicht und sämtliche Ausgänge verbleiben in ihrem ursprünglichen Zustand. Vor dem Anschluss der Module muss die Spannungszufuhr unterbrochen werden.

Für die Montage des HMISCU sind 2 Möglichkeiten gegeben.

Montage des HMISCU auf dem Panel:

G-SE-0021340.1.gif-high.gif

 

 

Montage des Rückmoduls auf einer DIN-Schiene mit einem Anzeigemodul/Rückmodul-Trennkabel:

G-SE-0021339.1.gif-high.gif

 

 

HMISCU-Montageverfahren

Installieren Sie das Gerät in einem Gehäuse, das eine saubere, trockene, stabile und kontrollierte Umgebung bietet (IP65-Gehäuse oder UL508 4x in Innenbereichen).

Stellen Sie vor der Installation des HMISCU-Systems Folgendes sicher:

oDie Oberfläche des Montagepanels oder -schranks ist plan (Planaritätstoleranz: 0,5 mm (0,019 Zoll)) sowie in einem guten Zustand und frei von scharfen Kanten. Bei Bedarf können Verstärkungen an der Innenseite des Panels in der Nähe der Einbauöffnung angebracht werden, um die Steifigkeit zu erhöhen.

oDas Panel sollte so ausgelegt sein, dass am Rückmodul jede punktuelle Schwingungsresonanz über einem Faktor von 10 sowie jede permanente Schwingungsresonanz vermieden werden kann.

Um die Resonanz zu reduzieren, verwenden Sie den Panel-Adapter.

oDie Umgebungstemperatur während des Betriebs und die Luftfeuchtigkeit liegen innerhalb ihrer vorgegebenen Bereiche. (Bei einer Installation des Panels in einem Schaltschrank oder Gehäuse entspricht die betriebsspezifische Umgebungstemperatur der Innentemperatur des Schaltschranks oder Gehäuses).

oDie von der umliegenden Ausrüstung abgegebene Wärme bewirkt keine Überschreitung der angegebenen Betriebstemperatur.

oWenn das Anzeigemodul in der horizontalen Position montiert wird, muss sich die Anzeige auf der Oberseite befinden:

G-SE-0021222.2.gif-high.gif

 

oBei der Installation in eine geneigte Schalttafel ist der Neigungswinkel der Schalttafelvor­derseite maximal 30°:

G-SE-0021172.2.gif-high.gif

oDer Stromversorgungs-Klemmenblock ist beim vertikalen Einbau des Gerätes ebenfalls vertikal ausgerichtet.

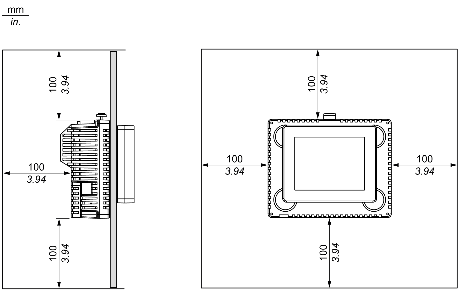
oZwischen dem Gerät und den umliegenden Aufbauten und anderer Ausrüstung muss ein Mindestabstand von 100 mm (3,94 Zoll) eingehalten werden, um Wartungseingriffe und Bedienvorgänge zu erleichtern und eine optimale Belüftung zu gewährleisten:

G-SE-0021173.1.gif-high.gif

Schritt

Aktion

1

Legen Sie das Gerät mit dem Bildschirm nach unten auf eine saubere, ebene Oberfläche.

2

Die geeigneten Stärken hängen vom Material ab:

oMetall: zwischen 1,5 und 6 mm (0,059 und 0,236 Zoll)

oKunststoff: zwischen 1,5 und 6 mm (0,059 und 0,236 Zoll)

Wenn die Stärke des Metallträgers zwischen 1 und 1,5 mm (0,039 und 0,059 Zoll) bzw. des Kunststoffträgers zwischen 1 und 3 mm (0,039 und 0,118 Zoll) beträgt, verwenden Sie den im Wenn die Stärke des Metallträgers zwischen 1 und 1,5 mm (0,039 und 0,059 Zoll) bzw. des Kunststoffträgers zwischen 1 und 3 mm (0,039 und 0,118 Zoll) beträgt, verwenden Sie den im Zubehörsatz HMIZSUKIT enthaltenen Panel-Adapter (separat erhältlich).

3

Stellen Sie die für den Einbau des Geräts erforderliche Öffnung anhand der Informationen unter Abmessungen der Panel-Einbauöffnung und Montage her.

4

Schieben Sie das Anzeigemodul (mit T-Stück zum Rotationsschutz, sofern erforderlich) in den Panel-Ausschnitt ein:

G-SE-0021176.1.gif-high.gif

 

 

Befestigen Sie die Mutter mithilfe des Schraubenschlüssels mit einem Anzugsmoment zwischen 1,2 und 2 N•m (10.62 lb-in und 17.70 lb-in).

5

Setzen Sie das Rückmodul ein und drücken Sie dagegen, bis es in der richtigen Position einrastet:

G-SE-0021226.2.gif-high.gif

 

 

6

Zur Entfernung des Rückmoduls drücken Sie die gelbe Taste, um das Modul zu entriegeln, und ziehen das Modul dann vom Panel ab:

G-SE-0021227.2.gif-high.gif

 

 

HINWEIS

BESCHÄDIGUNG VON GERÄTEN

Das Rückmodul darf bei der Abnahme vom Anzeigemodul nicht gedreht werden.

Die Nichtbeachtung dieser Anweisungen kann Sachschäden zur Folge haben.