Connecting the Sercos Bus to the Track

Wiring Example

Also refer to Additional Wiring Example.

Closed track

Element

Description

1

Control cabinet

2

LMC Pro2 Motion Controller

3

Sercos port 1 (CN12) of the controller

4

Sercos port 2 (CN13) of the controller

5

Sercos cables

6

Lexium™ MC communication interconnect

7

Lexium™ MC communication interconnect with two Sercos connectors (in/out)

8

Sercos port P1 (infeed) of a closed Lexium™ MC12 multi carrier track

9

Sercos port P2 (outfeed) of a closed Lexium™ MC12 multi carrier track

Description

  • The LMC Pro2 Motion Controller is installed in a cabinet.

  • The LMC Pro2 Motion Controller is connected to the Lexium™ MC12 multi carrier track with pre-assembled cables. If you do not use pre-assembled cables, make sure not to exceed a Sercos cable length of 50 m (164 ft).

  • The LMC Pro2 Motion Controller communicates with the Lexium™ MC12 multi carrier track via Sercos bus.

  • The Sercos bus

    is distributed from segment to segment via the Lexium™ MC communication interconnects.

Connecting the Sercos Bus to the Lexium™ MC12 multi carrier Track

The following describes the Sercos bus connection from the LMC Pro2 Motion Controller to the Lexium™ MC12 multi carrier track:

Step

Action

1

Connect the Sercos cables (5) to the LMC Pro2 Motion Controller (2).

2

Connect the Sercos cables (5) to the Lexium™ MC communication interconnect with the two Sercos connectors (7) at the top of a segment. Verify that the Lexium™ MC communication interconnect is fixed with its four M3x8 screws to the segment, with a torque of 0.6 Nm (5.31 lbf-in).
The Sercos port P1 (CN12) of the controller must be connected to the Sercos port P1 of the Lexium™ MC12 multi carrier track.

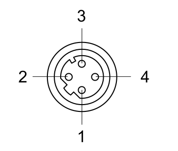
Pinout and Cable Diagram

Pinout

Pre-assembled Sercos cable.

Only operate the Lexium™ MC12 multi carrier with approved, specified cables, accessories and replacement equipment by Schneider Electric.

 DANGER
ELECTRIC SHOCK OR ARC FLASH
Do not use non-Schneider Electric approved cables, accessories or any type of replacement equipment.
Failure to follow these instructions will result in death or serious injury.

Connector at LMC Pro2 Motion Controller (RJ45, CN12/CN13)

Pin from CN12/CN13

Designation

Description

Pin from M12 connector

Connector (M12, D-coded, socket) at the Lexium™ MC12 multi carrier track

1

Tx+

Output transmit data +

1

2

Tx-

Output transmit data -

3

3

Rx+

Input receive data +

2

4

Reserved

N/A

5

Reserved

N/A

6

Rx-

Input receive data -

4

7

Reserved

N/A

8

Reserved

N/A

Cable diagram

Shield connected to housing on connector side.

NOTE: If you have to remove a connector from the cable, for example, to lead the cable through a cable bushing, make sure to reconnect the wires of the cable correctly to the connector afterwards. Observe the requirements for the degree of protection and the EMC regulations.
 WARNING
UNINTENDED EQUIPMENT OPERATION
Do not connect wires to unused terminals and/or terminals indicated as “No Connection (N.C.)”.
Failure to follow these instructions can result in death, serious injury, or equipment damage.

Additional Wiring Example

Open track

With an open track, you need a communication interconnect (7) at the beginning of the open track with one Sercos (and one SFO) connector and a communication interconnect (9) at the end of the open track with one Sercos connector.

Also refer to Open Track.

Element

Description

1

Control cabinet

2

LMC Pro2 Motion Controller

3

Sercos port P1 (CN12) of the controller

4

Sercos port P2 (CN13) of the controller

5

Sercos cables

6

Sercos port P1 (infeed) of an open Lexium™ MC12 multi carrier track

7

Lexium™ MC communication interconnect with one Sercos (and one SFO) connector.

8

Lexium™ MC communication interconnect

9

Lexium™ MC communication interconnect with one Sercos connector.

10

Sercos port P2 (outfeed) of an open Lexium™ MC12 multi carrier track