Description des tranches

Présentation

Une tranche est un module d'extension qui assure l'une des fonction suivantes dans le système TM5 :

odes E/S d'extension,

oune distribution d'alimentation,

oune distribution commune ou

oun bus d'expansion.

La figure suivante montre les trois composants d'une tranche :

G-SE-0000923.3.gif-high.gif

 

1   Embase de bus

2   Module électronique

3   Bornier

DangerElectrical_Color.gifDanger_Color.gifDANGER

RISQUE DE CHOC ÉLECTRIQUE OU D'ÉCLAIR D'ARC ÉLECTRIQUE EN RAISON DE COMPOSANTS INCOMPATIBLES

oN'associez pas au sein d'un même module d'extension des composants de couleurs différentes.

oVérifiez systématiquement la compatibilité des composants et modules de la tranche avant de les installer, à l'aide du tableau des associations fourni dans ce manuel.

oVérifiez que des borniers appropriés (minimum, couleurs correspondantes et nombre de bornes correct) sont installés sur les modules électroniques appropriés.

Le non-respect de ces instructions provoquera la mort ou des blessures graves.

L'bus base et le bornier du module électronique doivent être commandés séparément. Pour leurs références, reportez-vous aux sections correspondantes ci-après.

Une fois assemblés, les trois composants forment une unité à part entière, résistant aux vibrations et aux décharges électromagnétiques.

AVIS

DÉCHARGE ÉLECTROSTATIQUE

oNe touchez jamais les contacts du module électronique.

oLaissez toujours le connecteur en place lors du fonctionnement normal.

Le non-respect de ces instructions peut provoquer des dommages matériels.

Le tableau de compatibilité indique les associations possibles entre les composants d'une tranche.

Description d'une embase de bus

La figure suivante montre les différents éléments de l'embase de bus :

G-SE-0001655.3.gif-high.gif

 

1   Levier de verrouillage

2   Mécanisme de verrouillage du rail DIN

3   Contact du rail DIN

4   Guides d'assemblage du module électronique

5   Axe de rotation du bornier

6   Contacts d'alimentation du bus TM5

7   Contacts des données du bus TM5

8   Contacts du segment d'alimentation des E/S 24 VCC

9   Guides de verrouillage

10   Commutateurs rotatifs de paramétrage d'adresse (facultatifs, selon les références)

Ce tableau indique les différents types d'embases de bus :

Référence

Description de l'embase de bus

Couleur

TM5ACBM11

Embase de bus 24 VCC

Segment d'alimentation des E/S 24 VCC, pass-through

Blanc

TM5ACBM15

Embase de bus 24 VCC

Segment d'alimentation des E/S 24 VCC, pass-through avec paramètre d'adresse

Blanc

TM5ACBM01R

Embase de bus 24 VCC pour PDM et modules récepteurs

Segment d'alimentation des E/S 24 VCC isolé à gauche

Gris

TM5ACBM05R

Embase de bus 24 VCC pour PDM et modules récepteurs

Segment d'alimentation des E/S 24 VCC, isolé à gauche avec paramètre d'adresse

Gris

TM5ACBM12

Embase de bus pour modules CA

Segment d'alimentation des E/S 24 VCC, pass-through

Noir

Description du module électronique

La figure suivante montre les différents éléments des modules électroniques :

G-SE-0001656.3.gif-high.gif

 

1   Levier de verrouillage

2   Guides d'assemblage

3   Affichage (voyants)

4   Emplacement pour l'étiquetage

5   Emplacement pour coder le module électronique et le bornier associé

6   Fusible interne échangeable (selon les références)

Ce tableau présente les différents types de modules électroniques :

Référence

Description du module électronique

Couleur

Référence

TM5SD••

Modules numériques

Blanc ou noir

Modicon TM5 - Modules d'E/S numériques - Guide de référence du matériel

TM5SA••

Modules analogiques

Blanc

Modicon TM5 - Modules d'E/S analogiques - Guide de référence du matériel

TM5SPS1•

Modules de distribution d'alimentation (PDM)

Gris

Modules de distribution d'alimentation du système TM5

TM5SPS2•

TM5SPS3

Module de distribution d'alimentation d'interface (IPDM)

Gris

Module de distribution d'alimentation d'interface TM5 IPDM

TM5SE••

Modules experts

Blanc

Modicon TM5 - Modules experts (compteurs rapides) - Guide de référence du matériel

TM5SBET••

Modules émetteurs

Blanc

Modicon TM5 - Modules émetteur et récepteur - Guide de référence du matériel

TM5SBER••

Module récepteur

Gris

TM5SPD••

Modules de distribution communs (CDM)

Blanc

Modules de distribution communs du système TM5

TM5SD000

Module factice

Blanc

Modules d'accessoires TM5

Description du bornier

Les principales caractéristiques du bornier sont les suivantes :

oCâblage sans outil avec technologie de fixation par pince-ressort

oLibération du câble par actionnement d'un bouton

oPossibilité d'étiqueter chaque borne

oEtiquetage en texte normal également possible

oAccès de test pour sondes standard

oPossibilité de codage personnalisé

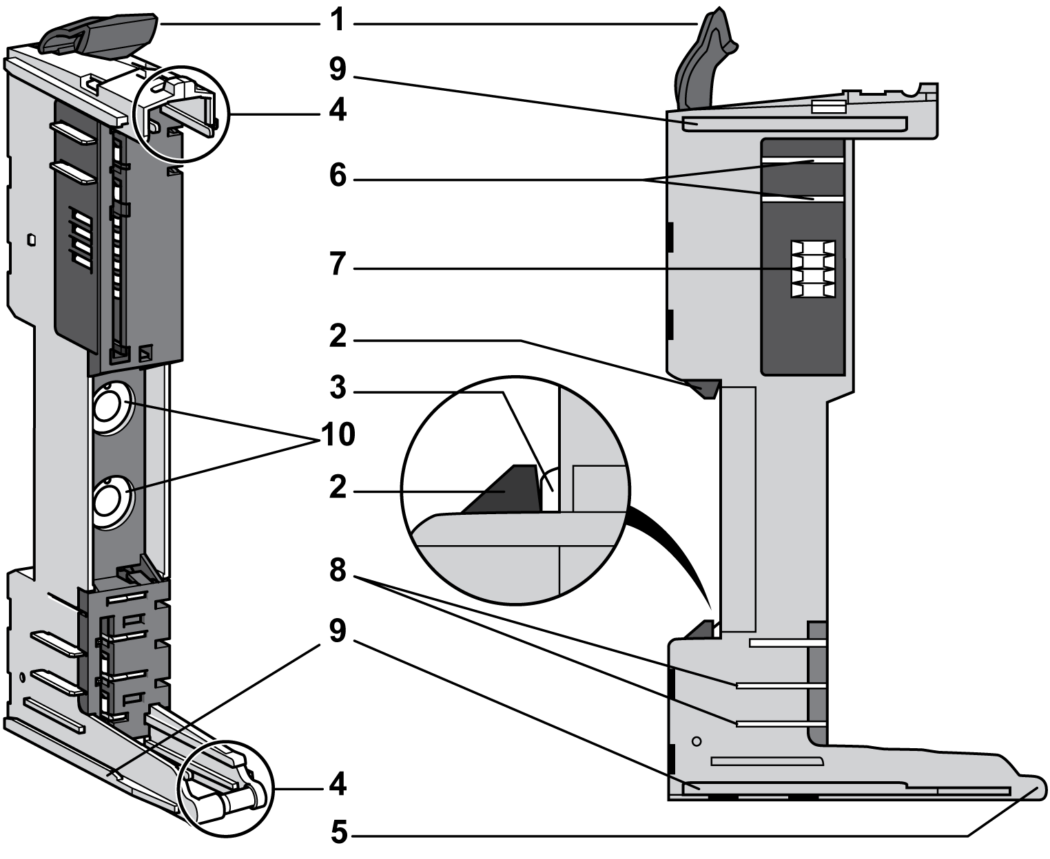
La figure suivante montre les différents éléments du bornier :

G-SE-0001566.3.gif-high.gif

 

1   Bouton-poussoir de libération de fil

2   Brochage

3   Connecteur de pince-ressort

4   Point d'accès de test

5   Pivot de l'axe sur l'embase de bus

6   Verrou du module électronique

7   Emplacement arrière pour le codage

8   Emplacement avant pour l'étiquetage

9   Emplacement pour collier de serrage de câbles

Ce tableau indique les différents types de borniers :

Référence

Description du bornier

Couleur

TM5ACTB06

Bornier 24 VCC à 6 broches

Blanc

TM5ACTB12

Bornier 24 VCC à 12 broches

Blanc

TM5ACTB12PS

Bornier 24 VCC à 12 broches pour le module PDM, le module IPDM et le module électronique récepteur

Gris

TM5ACTB16

Bornier 24 VCC à 16 broches

Blanc

TM5ACTB32

Bornier 240 VCA à 12 broches

Noir